最新专利
2025.09.16
2025年9月16日,美国专利局公布了一批新生效的外观设计专利。本文整理了10款日常消费品中具有侵权风险的专利产品,提醒跨境电商卖家注意规避知识产权风险。
高风险侵权产品清单
01 壁挂篮
专利编号:D1093013
02 牙刷头
专利编号:D1092982
03 冰箱隔板
专利编号:D1093441
04 马桶
专利编号:D1093569
05 泡泡机
专利编号:D1093496
06 儿童照相机
专利编号:D1093458
07 宠物梳子
专利编号:D1093762
08 吸顶扇
专利编号:D1093595
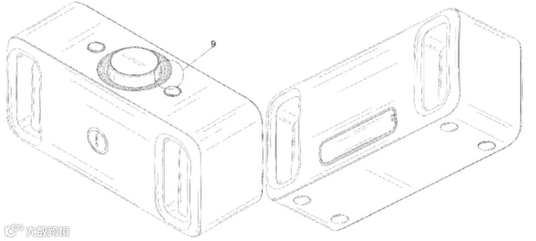
09 无线音响
专利编号:D1093343
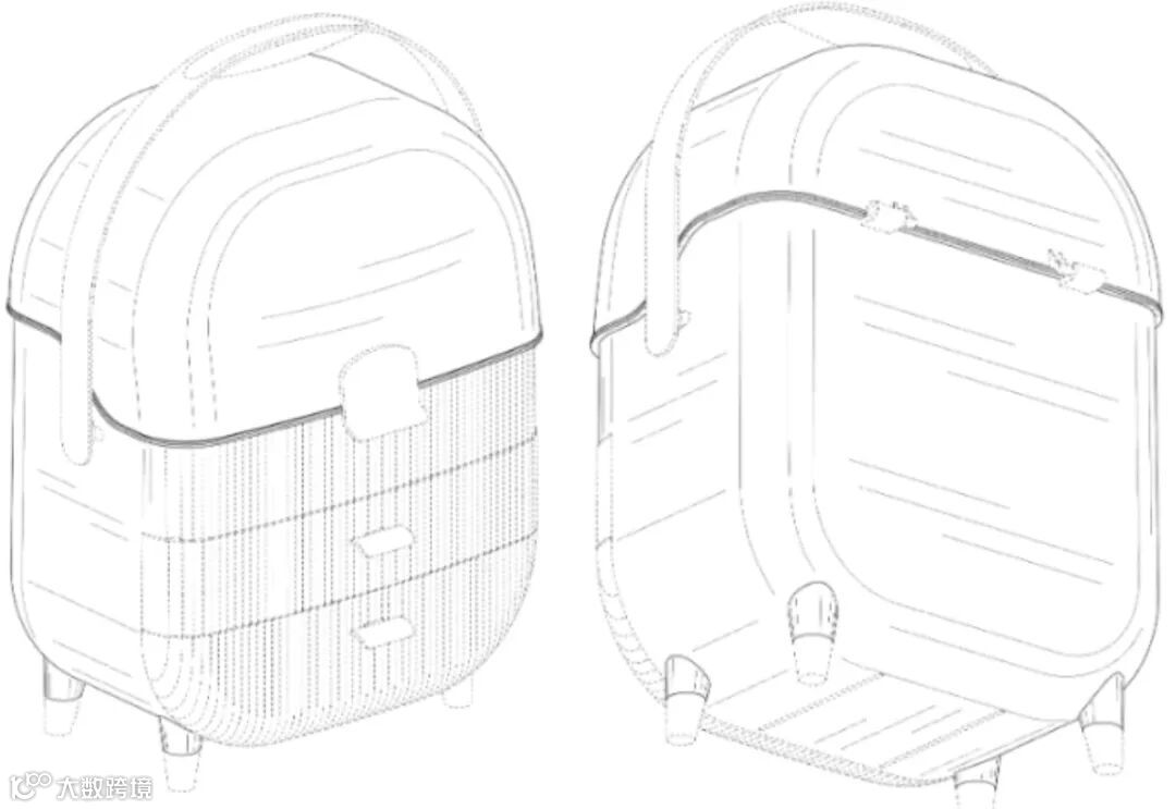
10 化妆盒
专利编号:D1092969
跨境电商卖家在选品和销售过程中应高度重视知识产权合规问题,及时排查所售产品是否存在外观设计专利侵权风险。一旦发现涉嫌侵权产品,应立即下架处理,避免遭遇投诉或诉讼,造成经济损失。

