
来源:全国建筑市场监管公共服务平台

推行告知承诺,同时加强动态核查。从2018年开始,住建部开始探索建立“诚信规范、审批高效、监管完善”的告知承诺审批新模式。具体就是简化审批流程,加强事后监管。
依托四库一平台,监督项目业绩记录。2018年3月住建部发布文件,要求加强对已入库工程项目信息的监督检查,规范化监督机制,定期检查、随机抽查,进一步监督信息的真实性,确保项目业绩记录信息的真实性,有利于有效解决工程业绩造假的问题。
全国建筑市场监管公共服务平台,在对企业承诺内容进行重点比对核验的同时,实现对企业业绩现场核查全覆盖。对以虚构、造假等欺骗手段取得资质的企业,依法撤销其相应资质,并列入建筑市场主体“黑名单”。
建立建筑市场主体黑名单制度。2017年,住建部发布了信用管理暂定办法,有史以来第一次明确了建筑市场主体的黑名单制度。同时要求各级住房和城市建设主管部门,重点关注建筑市场主体黑名单中列出的建筑市场主体,限制市场准入、资质资格申请、招投标。
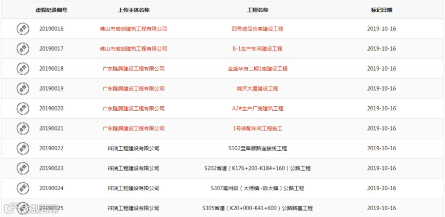
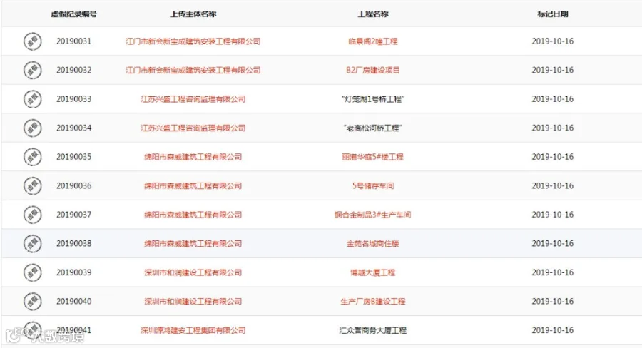
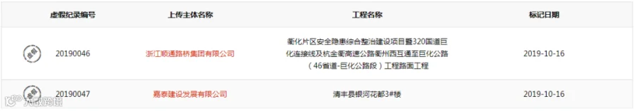
下面一起看下近期黑名单的详情:
(点击图片放大查看原图)

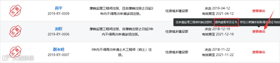
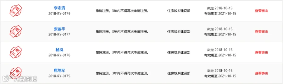
个人不良记录(挂证/事故/违规注册)





……

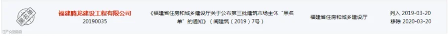
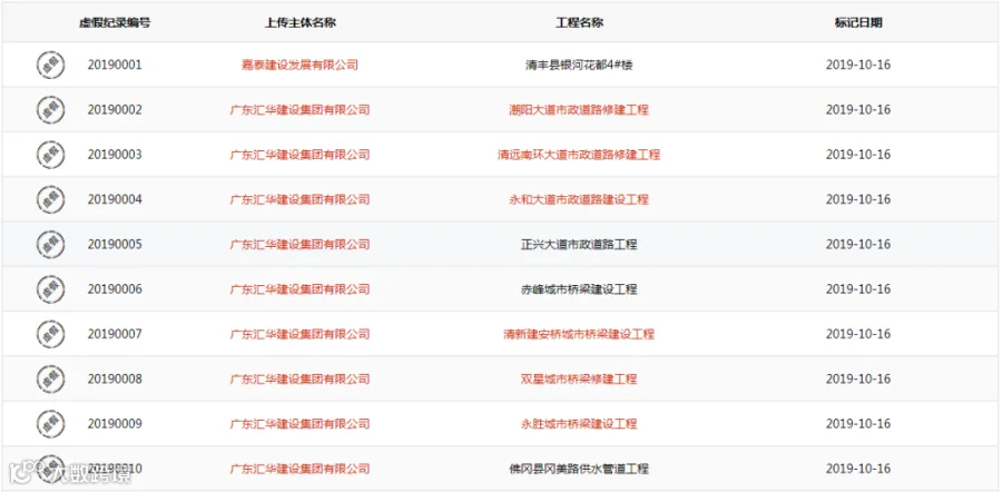
黑名单

























失信联合惩戒记录









虚假业绩








……
(更多详情,请点击“阅读原文”,登录官网查看!)
互联网+大数据时代的来临,使造假变得非常困难。在众多申请特级、一级资质的施工企业中,资质申请不通过且被住建部通报的原因多数就是业绩不真实。有的还导致已取得的资质被撤销,实在是得不偿失。

立即关注!



