
6月28日,大连万达商管所持有的大连新达盟全部162亿股权被全部冻结。
值得注意的是,大连新达盟于今年1月刚刚成立,注册资本162.07亿,承载了来自于太盟投资集团、阿布扎比投资局、穆巴达拉投资公司、中信资本、ARES给予万达600亿的“救命钱”。
1
三次冻结,三个执行法院
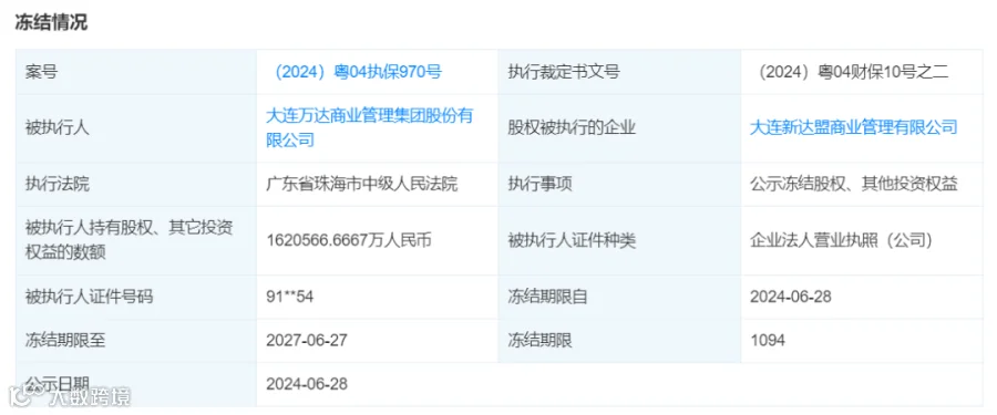
本次冻结情况显示:根据(2024)粤财保10号执行裁定文书,被执行人是万达商管,执行的标的是162亿人民币,执行对象是大连新达盟。

刚刚成立的新达盟股权在今年之内已经被冻结三次。
3月24日,“王健林旗下大连万达商管超162亿元股权被冻结”消息刷屏。执行法院为江苏省扬州市邗江区人民法院。股权冻结是由于万达商管旗下某项目与某银行就经营贷发生纠纷,银行在进行诉前保全。但很快,万达与银行进行协商,股权也随之解冻。
但这部分股权很快又被盯上。
5月15日,北京四中院又将其全部冻结。
6月28日,162亿股权第三次被冻结,执行法院为广东珠海中院。
2
危机尚未解除
今年以来,万达商管在其它企业持有的股权被冻结共11笔。
从北向南一路冻结,只能说明万达商管债务缠身尚未得到有效解决。
去年年底,万达商管集团与太盟投资集团、中信资本等5家投资机构正式签署投资协议:5家机构将一次性投资约600亿元人民币给新设立的万达商管控股公司——新达盟商业管理有限公司,并获得新达盟60%的股份。这被称为中国近年来最大的一笔投资,太盟投资也可以说是用这笔投资拿下了王健林的辛辛苦苦的多少年。
但是,由于交割尚未完成,资产也没有获得注入,万达债务问题犹在,不得不继续出售以及出质旗下资产。
就在近期,宜春万达广场完成了工商变更,万达商管退出,江西承泽置业管理有限公司成为新的全资股东。
今年4月,万达甚至把总部所在地的北京万达广场卖给了由新华保险、中金资本成立的不动产基金。
自去年以来,其已卖掉12座自持的万达广场,退出对4座万达广场的轻资产管理。
3
拆解金融帝国
6月底,万达金融还出质快钱金融服务(上海)有限公司的全部股权。业内人士分析,此举不排除是转让牌照的信号,其实早在去年就有消息称万达正在试图以10亿元出售旗下支付牌照以缓解流动性压力,还传言与字节跳动接洽。
万达是2014年底以3.15亿美元(约合20亿元人民币)拿下了快钱68.7%的股权。当时的快钱已成立十年有余,是首批获牌的支付机构之一。业务类型为互联网支付、移动电话支付、银行卡收单,虽然因专注于B端不如支付宝等声量大,但其线下支付数额并不低,交易规模位列银联商务、支付宝和财付通之后,排名第四位。
在收购快钱后,万达也正式涉足互联网金融领域,又陆续拿下了银行、消费金融、保险以及三张互联网小贷牌照,布局了万达征信、万达云等。
如果快钱支付牌照被转让,也意味着万达十年布局金融的金融帝国开始瓦解。
编辑:张媛 来源:不良资产头条
声明:转载此文是出于传递更多信息之目的,不为商业用途。文字和图片版权归原作者所有,若有来源标注错误或侵犯了您的合法权益,请作者与我们联系,我们将及时更正、删除,谢谢。


欢迎加入:北京大学·中国企业全球化与品牌出海实践项目研修班
【联系方式】
咨询人:李老师
联系电话:139 1144 5864(同微信)
邮箱:1847623599@qq.com
微信:nt2014520(请备注“ 品牌出海”)
长按下方二维码添加李老师微信(请备注:品牌出海 )

【联系方式】
咨询人:李老师
联系电话:139 1144 5864(同微信)
邮箱:1847623599@qq.com
微信:nt2014520(请备注“ 品牌出海”)
长按下方二维码添加李老师微信(请备注:品牌出海 )

长按识别二维码,关注建筑业观察。


