7月10日,济南低运量轨道交通高新东区环线工程委托运营服务项目中标结果正式公示,深圳比亚迪轨道交通运营有限公司以约1.65亿元成功中标,将负责这条山东首条云巴线路的运营管理服务。
此前,济南低运量轨道交通高新东区环线工程轨道、系统、车场施工及车辆采购中标人也为比亚迪联合体中标。

招标人:济南交通发展投资有限公司
中标候选第一名:深圳比亚迪轨道交通运营有限公司
总报价(元):165308370.41
中标候选第二名:中车智能交通运营管理有限公司
总报价(元):166099189.00
中标候选第三名:中铁电气化局集团有限公司
总报价(元):166093396.00
中标情况:
中标单位:深圳比亚迪轨道交通运营有限公司
中标金额:165308370.41元
九、中标公示期:2025年07月11日—2025年07月14日
项目基本情况
项目名称:济南低运量轨道交通高新东区环线工程
建设单位:济南交通发展投资有限公司
建设性质:新建
建设地点:历城区、高新区
工程内容:高新东区环线工程采用导轨式胶轮系统,起于春园路站,主要沿春园路、世纪大道、春暄路、飞跃大道、唐治中路、科创路、春博路、庄科南路、大正路敷设;线路全长约30.7km,均为高架线;全线设综合车场一处。
列车定员
初期和近期;列车采用全动车2辆编组。2编组列车长度为17.6m,宽度为2.4m。初期和近期的载客量为定员140人(6人/m2),超员200人(9人/m2):
远期:列车采用全动车3辆编组。3编组列车长度为25.6m,宽度为2.4m。初期和近期的载客量为定员210人(6人/m2),超员270人(9人/m2)。
牵引供电采用储能动力电池供电,额定电量为150kw·h。
建设单位:济南交通发展投资有限公司
建设地点:济南市历城区、高新区
建设规模:约30.8公里。济南低运量轨道交通高新东区环线工程轨道、系统、车场施工及车辆采购,包含轨道梁制作、安装及保修;综合车场及控制中心施工及保修;系统工程采购、集成、施工、调试及保修;车辆采购及相关技术服务;综合联调及试运行等内容。具体内容以技术要求、工程量清单及图纸为准。
第一名:比亚迪通信信号有限公司
中铁四局集团有限公司
比亚迪机电设备有限公司
深圳比亚迪轨道交通运营有限公司
比亚迪建设工程有限公司
投标报价:1978432168.88元
第二名:中铁一局集团有限公司
中铁一局集团电务工程有限公司
投标报价:1978438455.94元
第三名:中铁十局集团有限公司
中铁十局集团电务工程有限公司
投标报价:1978392653.57元
来源:济南市公共资源交易中心
干掉你的不是同行,而是跨界!
据比亚迪建工官方消息:
2023年6月2日至4日,中国建筑金属结构协会表彰了第十五届第一批“中国钢结构金奖”获奖工程。由比亚迪建设工程有限公司总承包施工的“重庆市璧山区云巴工程项目”荣获中国钢结构最高奖项——中国钢结构金奖。
“中国钢结构金奖”和“鲁班奖”同属国际优质工程奖项,是经国务院批准的建筑领域国际级优质工程奖,是中国建筑钢结构行业工程质量的最高荣誉,代表了国内钢结构工程质量的领先水平。
璧山云巴项目采用偏心工字钢轨道梁,跨越能力强、工程体量小、景观性好,采用工厂预制、现场拼装的施工方法,工程周期短、精度高、质量好。
据“比亚迪云巴”官方微信消息,9月26日,合肥比亚迪园区云巴正式开通,这是比亚迪今年开通的第三条云巴线路,也是在全国开通的第七条云巴线路。
云巴是比亚迪研发的一种新型轨道交通制式,官方名称为“胶轮有轨电车”,全程采用高架线路,每小时单向客运能力小于1万人次。比亚迪称,云巴是其历时7年、投资近百亿打造的具有100%自主知识产权的全自动运行交通系统,适用于中小型城市干线、大城市加密线、机场高铁接驳线、景区观光线等。
在此之前,比亚迪已开通了6条云巴线路,包括深圳坪山、重庆璧山、长沙大王山三地的市政线,以及位于深圳、西安、长沙三地的园区线。市政线面向公众开放,园区线供比亚迪工业园区的员工内部通勤使用。
重庆璧山云巴是比亚迪第一条正式商业运营的云巴线路,于2021年4月16日开通。本次开通的合肥比亚迪长丰园区云巴线,里程约4.2公里,覆盖了园区内办公楼、厂房、宿舍、食堂等区域。
此前,比亚迪建设工程有限公司作为联合体牵头方,成功拿下贵阳市有轨电车示范线(T2线一期工程)EPC工程总承包项目。
贵阳市有轨电车示范线(T2线一期工程)
EPC工程总承包项目
中标结果公告
项目名称:贵阳市有轨电车示范线(T2线一期工程)EPC工程总承包项目中标结果公告
项目概况:
建设地点:贵阳市。
建设规模:贵阳市有轨电车示范线(T2线一期工程)线路由国际生态会议中心站至二十六大道站,全长10.92公里。
中标信息:
中标人:
联合体牵头人:比亚迪建设工程有限公司
联合体成员:
中铁二院工程集团有限责任公司
中铁八局集团有限公司
比亚迪勘察设计有限公司
比亚迪建设工程有限公司
贵州省交通规划勘察设计研究院股份有限公司
发布日期:2022年3月4日
比亚迪1995年成立于深圳,已成长为横跨汽车、轨道交通、新能源和电子四大产业的世界500强企业。

比亚迪建设工程有限公司成立于2017年7月,注册资金伍亿元整,是比亚迪集团旗下专业从事建设工程的全资子公司。
拥有市政公用工程施工总承包壹级资质,建筑工程施工总承包壹级、地基基础工程专业承包贰级、防水防腐保温工程专业承包贰级、建筑装饰装修工程专业承包贰级、钢结构工程专业承包贰级、特种工程专业承包不分等级、消防设施工程专业承包贰级、古建筑工程专业承包贰级、起重设备安装工程专业承包贰级、模板脚手架专业承包贰级、建筑机电安装工程专业承包叁级等资质。

比亚迪建设工程有限公司组织机构健全,管理体系完善,施工装备先进,具有雄厚的综合施工能力,专业技术力量配套,拥有强大的专业人才队伍,其中管理技术人员142人,一级建造师、造价师57人,拥有中高级职称200余人,各种技术技工248人。
公司对混凝土预制构件、钢结构、模具等产品具有研发、设计、制造、安装等全过程生产能力。
截至目前,预制构件已在八个地区建厂并投产总建筑面积达14万平米,PC梁产能约为100公里/年。
钢结构有三大生产基地,总面积为23.3万平方米,产能约为10万吨/年,且具备持续增长的能力。
同时,还拥有架桥机、旋挖机、大型吊车、顶管设备等一流的施工设备,具备高效、安全的综合施工能力。
比亚迪通信信号有限公司(以下简称“比亚迪通号”)为比亚迪全资子公司,成立于2017年10月,注册资本为11000万元公司生产总面积达5万平方,人员数量约1100人。
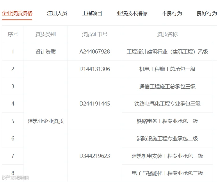
截止2022年6月30日,比亚迪通信信号有限公司共提交了近950余项专利申请,其中发明专利占比80.3%;公司目前拥有机电工程施工总承包一级、建筑工程设计专业乙级、电子及智能化工程、通信工程施工、铁路电务工程、铁路电气化工程、建筑机电工程安装、消防设施工程专业等资质。同时还拥有质量管理体系(通过ISO 22163 、ISO 9001&GB 50430认证)、环境管理体系、职业健康安全管理4项体系认证,目前已经获得轨道交通相关专利近950余件,软件著作权共计三十一项。
四库一平台显示比亚迪通号资质
公司目前拥有几十名一级建造师,高中级职称100余人;专业工程师500余人,专业技工500余人;各类现场管理人员及各类技术工种齐备,技工高空作业证覆盖率达87%。
比亚迪通号公司于2018年建成深圳市工程实验室。建设跨座式单轨列车通信信号系统测试见证与仿真工程实验室实验室,建成项目集成实验室、智控实验室、平台技术实验室、可靠性实验室、全自动运行仿真实验室。工程实验室共占地1400平方米,实验检测仪器设备及软件350台(套),搭建列车控制系统仿真测试环境,形成同时支持8条线路的仿真能力。
声明:转载此文是出于传递更多信息之目的,不为商业用途。文字和图片版权归原作者所有,若有来源标注错误或侵犯了您的合法权益,请作者与我们联系,我们将及时更正、删除,谢谢。
报名咨询,长按识别二维码
李林权老师:13911445864同微信
扫码二维码立即报名(请备注“人工智能“)
报名咨询,长按识别二维码
李林权老师:13911445864同微信
2025年07月17日—22日(17日报到) 地点:大连市 2025年07月24日—29日(24日报到) 地点:贵阳市 2025年08月14日—19日(14日报到) 地点:呼和浩特市 2025年08月26日—31日(26日报到) 地点:桂林市 2025年09月10日—15日(10日报到) 地点:成都市 2025年09月18日—23日(18日报到) 地点:深圳市 2025年10月16日—21日(16日报到) 地点:厦门市 2025年10月22日—27日(22日报到) 地点:南京市 |
2、关于举办“AI 赋能管理创新项目降本增效暨建设项目全流程智慧管理及投资控制能力提升”高级研修班通知 2025年07月17日—22日(17日报到) 地点:大连市 2025年07月24日—39日(24日报到) 地点:贵阳市 2025年08月14日—19日(14日报到) 地点:呼和浩特市 2025年08月26日—31日(26日报到) 地点:桂林市 2025年09月10日—15日(10日报到) 地点:成都市 2025年09月18日—23日(18日报到) 地点:深圳市 2025年10月16日—21日(16日报到) 地点:厦门市 2025年10月22日—27日(22日报到) 地点:南京市 |
4、关于举办“精控跃迁·谋局制胜——EPC项目策划与管理情景化沙盘演练高级实战班”的通知 2025年07月23日—25日(23日报到日) 地点:杭州市 |
5、关于举办企业合规体系建设暨经营合规、合同合规管理及新《公司法》下企业依法治理与法律风险防范专题培训班的通知 通知 2025年07月22日—25日(22日报到日) 地点:大连市 2025年08月12日—15日(12日报到日) 地点:西安市 |
七、关于举办“新能源项目(风电、光伏、储能、氢能)全流程市场开发及全电量市场化运营策略全景解析”培训班的通知 2025年07月10日—12日(10日报到) 地点:上海市 |
十三、关于举办“十五五”宏观经济趋势驱动的建筑企业战略经营管理与高质量发展破局专题研讨班的通知 2025年08月08日—09日(07日报到) 地点:北京市 |
| 二十、关于举办城市更新、项目谋划及土储专项债市场机遇、投融盈模式分析暨城市更新项目实施路径操作实务专题研讨班的通知
2025年07月24日—26日(24日报到) 地点:太原市 |
二十二、关于举办“DeepSeek应用下的项目总工技术全流程管控效率提升培训班”的通知 2025年07月17日—19日(17日报到) 地点:武汉市 |
二十三、关于举办2024版《建设工程工程量清单计价标准》解读暨建设项目全过程造价管控、结算审计与DeepSeek新技术应用专题培训班的通知 2025年07月16日—18日(16日报到) 地点:青岛市 |
25、关于举办“推动央国企招标采购与供应链高质量发展,着力提升管控能力、执行规范与联合监督水平”专题培训班的通知 2025年07月16日—21日(16日报到) 地点:呼和浩特市 2025年07月22日—27日(22日报到) 地点:贵阳市 2025年08月20日—25日(20日报到) 地点:昆明市 2025年08月26日—31日(26日报到) 地点:桂林市 2025年09月10日—15日(10日报到) 地点:苏州市 2025年09月16日—21日(16日报到) 地点:重庆市 2025年10月16日—21日(16日报到) 地点:厦门市 2025年10月22日—27日(22日报到) 地点:成都市 |
26、关于举办“政府采购三年行动方案解读、质疑投诉处理及招标采购全流程实务”专题培训班的通知 2025年07月22日—27日(22日报到) 地点:贵阳市 2025年08月26日—31日(26日报到) 地点:桂林市 2025年09月16日—21日(16日报到) 地点:重庆市 2025年10月16日—21日(16日报到) 地点:厦门市 2025年10月22日—27日(22日报到) 地点:成都市 |
联系方式
— END —
声明:转载此文是出于传递更多信息之目的,不为商业用途。文字和图片版权归原作者所有,若有来源标注错误或侵犯了您的合法权益,请作者与我们联系,我们将及时更正、删除,谢谢。
声明:转载此文是出于传递更多信息之目的,不为商业用途。文字和图片版权归原作者所有,若有来源标注错误或侵犯了您的合法权益,请作者与我们联系,我们将及时更正、删除,谢谢。
| 2024年全国各省建企中标100强 | |||
| 吉林 | 辽宁 | 黑龙江 | 河北 |
| 北京 | 天津 | 山东 | 山西 |
| 陕西 | 内蒙古 | 甘肃 | 宁夏 |
| 青海 | 新疆 | 西藏 | 河南 |
| 江苏 | 浙江 | 上海 | 安徽 |
| 福建 | 江西 | 湖北 | 湖南 |
| 重庆 | 四川 | 云南 | 贵州 |
| 广西 | 广东 | 海南 | 全国 |
注:全国(未计入港澳台地区)各省建筑施工企业年度百强榜,蓝色为已经发布的省份,点击相关省份(市)即可直接查看。 |
|||
▼关注建筑业观察,获取全国最新建筑政策。
立即关注!
立即关注!




