四库一平台已经开始显示缺证企业了!
5月之前,该“动态核查”版面还未显示企业,今天点开时,已有10家企业,因“注册人员不达标”被公示。


看了一下,这些公司的资质都是具有一定含金量的“机电工程施工总承包一级”、“机电工程施工总承包一级”,后续若住建部贯彻“应标尽标”原则,勘察/设计/监理等资质都有可能被查到并标注出。
这传递出什么信号?
建造师们注意,机会来了!
自住建部《关于进一步加强建设工程企业资质审批管理工作的通知》出台之后,企业们需要按照规定强制性配备建造师,这在一定程度上能够为建造师们提供就业岗位。
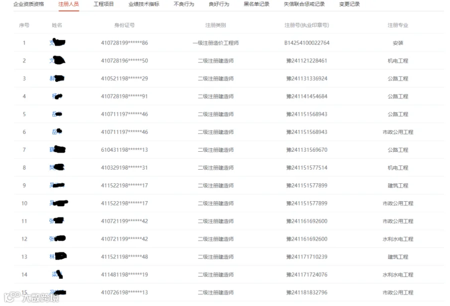
以上图中的“京x建设集团有限公司”,截至5月6日发文前,经查目前有15名一级建造师,其中:一建机电工程7人、一建建筑工程5人、一建市政工程2人、一建公路工程1人。


按照现行的资质标准,“建筑工程施工总承包一级”资质需要建筑工程、机电工程专业一级注册建造师合计不少于12人,其中建筑工程专业一级注册建造师不少于9人。可得这家企业还缺少至少4名建筑工程专业一级注册建造师。
这种情况下这些信息都是公开的,建造师们可以直接打电话到企业试试,这是一个很方便的利好,能够跳过中介自由求职。
倒闭企业完善人员配置
全国公示象征着完全的公开透明,甲方可以查到公司有没有问题,你的竞争对手也可以通过这个方式看到公司是否符合招投标标准,届时很可能一举报一个准,丢了项目还损失信誉。
因此,企业完善人员配置迫在眉睫。

▼▼工商管理EMBA精品课程116期▼▼
欢迎加入:清大·工商管理(EMBA)总裁高级研修班
【联系方式】
咨询人:李林权
联系电话:139 1144 5864(同微信)
邮箱:13911445864@139.com
(请备注“总裁班116期” )
长按下方二维码添加李老师微信(请备注:总裁班116期 )
【联系方式】
咨询人:李林权
联系电话:139 1144 5864(同微信)
邮箱:13911445864@139.com
(请备注“总裁班116期” )
长按下方二维码添加李老师微信(请备注:总裁班116期 )

