1.67亿应收款债权只卖了260万!
3月9日,浙江广丰建设集团有限公司的1.6782亿元的应收账款在阿里拍卖上激烈角逐,从起拍价10万元,经过1022次出价,最终以260万元成交。这1.6782亿元的应收账共40笔,包括个人欠款和多个房地产公司的欠款。
此次拍卖已经是第七次拍卖了,第一次拍卖是在去年10月份,起拍价是1680万元,因为价格太高了,结果是流拍,共经过了6次流拍,终于在今年3月9日,以260万元被人拍下。
本次共有10个人报名竞拍,原本上午十点就结束的拍卖,最后延时竞拍到了下午五点半才结束,出价了1022次,真是相当激烈。
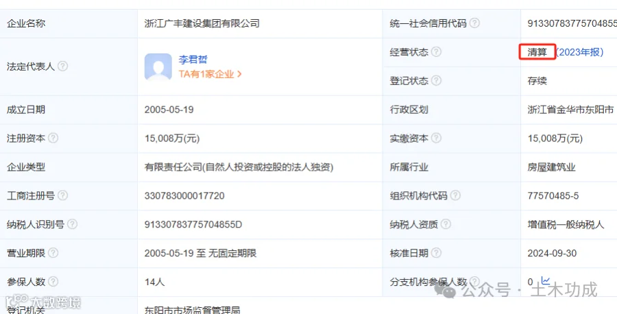
浙江广丰建设集团有限公司已经破产,目前处于破产清算阶段,是由北京筑安科技集团有限公司100%控股的公司。
此次竞得者以260万元拍得1.6782亿元的应收账款,大家觉得到底值不值得呢?到底能要回来多少债真的不好说。
也有聪明的网友发现:如果欠债人自己就是竞拍者,那岂不是就可以直接化债了?真是绝了!
浙江广丰建设集团有限公司成立于2005年05月19日,注册地位于浙江省东阳市东阳江镇政府内,法定代表人为李君哲。经营范围包括房屋建筑工程施工总承包、市政公用工程施工总承包、建筑装修装饰工程、机电设备安装工程、园林古建筑工程专业承包、水利水电工程施工总承包、建筑幕墙工程专业承包;建筑机械租赁。浙江广丰建设集团有限公司对外投资3家公司,具有23处分支机构。
近两年破产的建企不止这一家,连特级建企破产的案例也不在少数,究其原因都是严重资不抵债。
1月25日,江苏顺通建设集团有限公司(施工总承包特级)提出破产清算申请。
2024年7月9日,江苏省建工集团有限公司(房建特级)破产重整。
2024年6月,重庆中科建设(集团)有限公司(房建特级)提出破产清算申请。
2024年1月,河南省国基建设集团有限公司(房建、市政特级)进入破产重整。
2022年6月14日,拥有“双特双甲”的建企——福建六建集团有限公司(房建、市政特级),被申请人提出破产审查。
2022年4月,江苏南通三建(房建特级)因债务违约进行债务重组。
2022年1月,南通六建(房建特级)进入破产重整。
2021年12月,成龙建设集团有限公司(房建特级、市政一级),在阿里拍卖破产清算处置平台以1亿元底价起拍。
2021年8月13日,中国云南路建集团股份公司(公路工程特级资质)申请破产重整。
......
此外,还有建筑央企子公司破产,资产负债率为-418.16%。
-
2023年12月7日,山西省朔州市中级人民法院发布破产公告:中国能源建设集团山西省电力建设二公司严重资不抵债,于2023年11月28日裁定宣告破产。
《2025年政府工作报告》作为统筹国家经济、战略布局与社会发展的蓝图,与建筑业息息相关,为今后的行业政策导向定了调子,看懂了报告也就看懂了建筑业的未来。
查看全文:李强总理定调!2025年建筑业走向定了,3个关键词!
建企破产的行业阵痛,本质是一场从“野蛮生长”到“高质量发展”的涅槃,当“特级资质”不再是护身符,当“高杠杆神话”被彻底戳破,唯有变革的企业才能穿越周期。活下去,不是终点;活得好,才是答案。

2025年新政下:1-6月份公开课时间计划表
| 1、关于举办“基于市场化改革背景下的《24清单计算标准》解读与、<清单计价、EPC计价>管理实务暨项目管理及风险控制”高级培训班通知 2025年03月20日—25日(20日报到) 地点:武汉市 2025年03月26日—31日(26日报到) 地点:西安市 2025年04月17日—22日(17日报到) 地点:长沙市 2025年04月24日—29日(24日报到) 地点:重庆市 2025年05月15日—20日(15日报到) 地点:北京市 2025年05月23日—28日(23日报到) 地点:成都市 2025年06月19日—24日(19日报到) 地点:昆明市 2025年06月25日—30日(25日报到) 地点:青岛市 |
2、关于举办“新形式下如何实现好、快、省建设目标—施工总承包和EPC工程总承包模式下项目管理的重难点风险防范及投资控制能力提升”专题培训通知 2025年03月20日—25日(20日报到) 地点:武汉市 2025年03月26日—31日(26日报到) 地点:西安市 2025年04月17日—22日(17日报到) 地点:长沙市 2025年04月24日—29日(24日报到) 地点:重庆市 2025年05月15日—20日(15日报到) 地点:北京市 2025年05月23日—28日(23日报到) 地点:成都市 2025年06月19日—24日(19日报到) 地点:昆明市 2025年06月25日—30日(25日报到) 地点:青岛市 |
4、关于举办“推动央国企招标采购与供应链高质量发展,着力提升管控能力、执行规范与联合监督水平”专题培训班通知 2025年03月26日—31日(26日报到) 地点:厦门市 2025年04月16日—21日(16日报到) 地点:杭州市 2025年04月22日—27日(22日报到) 地点:重庆市 2025年05月14日—19日(14日报到) 地点:长沙市 2025年05月20日—25日(20日报到) 地点:成都市 2025年05月22日—27日(22日报到) 地点:西安市 2025年06月18日—23日(18日报到) 地点:乌鲁木齐市 2025年06月24日—29日(24日报到) 地点:青岛市 |
5、关于举办“政府采购三年行动方案解读、质疑投诉处理及招标采购全流程实务”专题培训班的通知 2025年03月26日—31日(26日报到) 地点:厦门市 2025年04月22日—27日(22日报到) 地点:重庆市 2025年05月20日—25日(20日报到) 地点:成都市 2025年06月24日—29日(24日报到) 地点:青岛市 |
七、关于举办“新能源项目(风电、光伏、储能)全流程市场开发及投融资策略全景解析”培训班的通知 |
九、关于举办2024版《建设工程工程量清单计价标准》解读应用暨建设项目全过程造价管控、结算审计与法律风险防范专题培训班的通知 2025年04月17日—19日(17日报到) 地点:西安市 2025年04月24日—26日(24日报到) 地点:杭州市 2025年05月22日—24日(22日报到) 地点:北京市 |
二十二、关于举办“DeepSeek新技术应用暨EPC项目全过程精细化管理及风险防范实务专题培训班”的通知 2025年03月23日—25日(23日报到) 地点:成都市 2025年04月21日—23日(21日报到) 地点:广州市 2025年04月24日—26日(24日报到) 地点:南京市 2025年05月21日—23日(21日报到) 地点:北京市 |
23、关于举办“新能源最新政策解读及投资、建设、施工、运维全业务精细化管控实务与 DeepSeek 赋能提效”专题培训班的通知 2025年04月10日—13日(10日报到) 地点:重庆市 2025年04月24日—27日(24日报到) 地点:济南市 |
二十四、关于举办“《建设工程企业资质审批管理》内容解析暨企业发展规范及资质申报筹划、资质延续”专题培训班的通知 2025年03月26日—28日(26日报到) 地点:杭州市 |
25、关于举办“DeepSeek智控领航工程项目全流程管控暨项目管理的重难点风险防范及投资控制能力提升”专题培训班的通知
2025年03月26日—31日(26日报到) 地点:西安市 2025年04月17日—22日(17日报到) 地点:长沙市 2025年04月24日—29日(24日报到) 地点:重庆市 2025年05月15日—20日(15日报到) 地点:北京市 2025年05月23日—28日(23日报到) 地点:成都市 2025年06月19日—24日(19日报到) 地点:昆明市 2025年06月25日—30日(25日报到) 地点:青岛市 |
二十六、关于举办“AI赋能办公效能提升——数据分析与决策、写作、制图、PPT、EXCEL、word及AI在企业管理中的数智化应用”培训班的通知 2025年03月26日—29日(29日报到) 地点:杭州市 2025年04月21日—24日(26日报到) 地点:西安市 |
联系方式
欢迎咨询预约!

— END —
声明:转载此文是出于传递更多信息之目的,不为商业用途。文字和图片版权归原作者所有,若有来源标注错误或侵犯了您的合法权益,请作者与我们联系,我们将及时更正、删除,谢谢。
声明:转载此文是出于传递更多信息之目的,不为商业用途。文字和图片版权归原作者所有,若有来源标注错误或侵犯了您的合法权益,请作者与我们联系,我们将及时更正、删除,谢谢。
| 2024年全国各省建企中标100强 | |||
| 吉林 | 辽宁 | 黑龙江 | 河北 |
| 北京 | 天津 | 山东 | 山西 |
| 陕西 | 内蒙古 | 甘肃 | 宁夏 |
| 青海 | 新疆 | 西藏 | 河南 |
| 江苏 | 浙江 | 上海 | 安徽 |
| 福建 | 江西 | 湖北 | 湖南 |
| 重庆 | 四川 | 云南 | 贵州 |
| 广西 | 广东 | 海南 | 全国 |
注:全国(未计入港澳台地区)各省建筑施工企业年度百强榜,蓝色为已经发布的省份,点击相关省份(市)即可直接查看。 |
|||
▼关注建筑业观察,获取全国最新建筑政策。
立即关注!
立即关注!

