搜索
首页
大数快讯
大数活动
服务超市
文章专题
出海平台
流量密码
出海蓝图
产业赛道
物流仓储
跨境支付
选品策略
实操手册
报告
跨企查
百科
导航
知识体系
工具箱
更多
找货源
跨境招聘
DeepSeek
首页
>
王宝强被举报涉嫌欺诈!最新回应→
>
王宝强被举报涉嫌欺诈!最新回应→
南方网
2024-11-22
1
11月21日
王宝强被举报涉嫌欺诈
引发热议
上热搜不久后
@王宝强工作室
发文回应
王宝强及其公司被举报
据《大河报》报道,11月21日,有博主发文曝光知名男星王宝强,称某格斗俱乐部的负责人去报案,说当初与王宝强合作拍电影《八角笼中》时,俱乐部给了王宝强全力支持,耗时五年投入的人力物力财力高达百万元。
俱乐部曾被承诺拿5%的票房分成(22亿元票房,分成1.1亿元),但王宝强没给任何回报,导致俱乐部现在经营出现很大问题。
目前,警方已受理了恩波俱乐部报案,并向恩波俱乐部出具了回执,接下来将展开调查。
王宝强商业版图曝光
公开资料显示,《八角笼中》是王宝强自导自演的第二部电影,该片总票房突破21亿元,累计观影人次超过5156万。
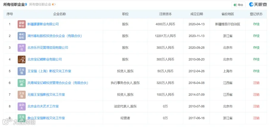
天眼查App显示,
王宝强名下共关联9家企业,其中5家为存续状态
,包括王宝强(
上海
)影视文化工作室、
北京
宝亿嵘影业有限公司、北京乐开花管理咨询有限公司等,王宝强均担任股东,其商业版图包括影视、股权投资。
此外,王宝强女友冯清共关联5家企业,仅晓时代(
厦门
)文化传播有限公司、
深圳
千寻魅影科技有限公司两家公司为存续状态。
近日,深圳千寻魅影科技有限公司新增一则注销公告,注销原因为决议解散。
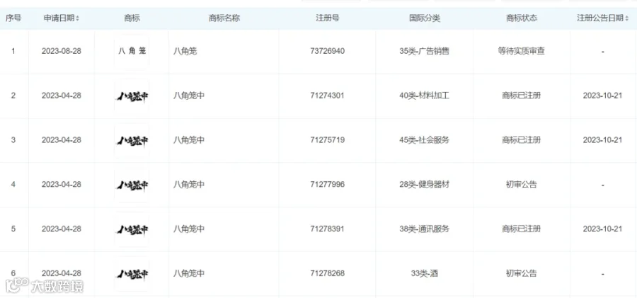
值得一提的是,
王宝强实控的北京乐开花影业有限公司已成功注册多枚“八角笼中”
商标
,国际分类涉及珠宝钟表、广告销售等,同时还登记了“八角笼中”美术和文字作品著作权。
来源:南方网综合自极目新闻、@王宝强工作室、21世纪经济报道、大河报、天眼查、公开资料等
编辑:小麦
校对:赖玉清
乡村振兴,你我同在!
“网络强村·图说百千万”摄影作品征集
活动
邀您共绘广东新画卷
👇
热门视频
猜你想看
惊险!广东阿姨突然呕血,医生:近期收治多例
广东一玩具厂深夜起火,有爆炸声传出!当地回应→
广州一地铁站有人持刀?最新回应→
持续关注↓
【声明】内容源于网络
0
0
南方网
南方报业传媒集团南方新闻网为权威华南政经平台、综合性新闻全媒体,每日最新最热资讯独家放送。
内容
0
粉丝
0
关注
在线咨询
南方网
南方报业传媒集团南方新闻网为权威华南政经平台、综合性新闻全媒体,每日最新最热资讯独家放送。
总阅读
0
粉丝
0
内容
0