
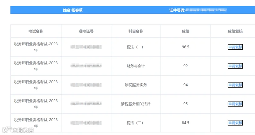
据统计,在2023年度税务师职业资格考试中,浩智税务师事务所共有13人合计通过23门次的考试科目,除了杨春草外,曾露员工也累计通过5门考试科目,取得税务师证;此外,共有12名员工,在2023年考试后,仅剩余1-2门未过科目。
浩智税务师事务所一贯重视人才培养,启动了“浩智考证计划”,为报考员工提供带薪考试假期,举办特训班,定期组织集中培训和模拟考试,制定激励措施,全额报销考试报名费用,对考取税务师证的员工每月给予1000元的奖励补贴,对考取法律职业资格证的员工每月给予2000元的奖励补贴。2023年11月,甘雨行员工以优异成绩顺利通过法律职业资格考试(A证)。

浩智税务师事务所成立于2009年,注册资金5000万元,总所位于广西南宁,在广州、深圳、东莞、珠海、武汉、长沙、玉林、贵港、北海等地设有分所,业务覆盖广西全境及部分省区。2021年度全国百强税务师事务所、广西十强税务师事务所、AAA税务师事务所。浩智财税共有员工140多人,拥有一支通晓税务、会计、法律、企业管理的综合性服务团队,专长房地产、石化配套、商业连锁、统一配送、建筑安装等行业的涉税服务。先后接受政府部门及各类企事业单位委托,开展企业所得税汇算清缴申报咨询、土地增值税清算鉴证、财税咨询、涉税审计、税务复议代理等服务。近年来,浩智以其精湛的专业技术,优秀的企业文化和诚信服务意识,建立了良好的口碑,赢得了社会各界的广泛认可。
【联系我们】
微信公众号:浩智税务师事务所
南宁总部: 南宁市良庆区平乐大道21号广西路桥集团总部大厦主楼17层1703-1705号
广州分所:广州市天河区长兴路5号第一栋第二层203室
深圳分所:深圳市宝安区宝民一路96号B068
东莞分所:东莞市南城街道元美西路2号2栋1101室
珠海分所:珠海市拱北粤海中路森宇富通大厦1栋3002室
武汉分所:湖北省武汉市武昌区友谊大道17号友谊国际广场1栋6层16室
长沙分所:长沙市雨花区雨花亭街道南二环一段55号叠彩峰苑B区2栋810房
玉林分所:玉林市玉州区玉东大道88号中鼎大厦B座502号
贵港分所:贵港市港北区中山北路(联邦国际)2幢2813号
北海分所:北海市海城区广东南路光远花园C栋4单元402
总部电话: 0771-5839928 18377102915
分所电话: 020-31420293(广州)18172379011(深圳)0769-28639638(东莞) 13536556121(珠海)15072402229(武汉)15388940816(长沙)0775-2099061(玉林)0775-4521156(贵港)13321793216(北海)
官网:www.gxhaozhi.com



