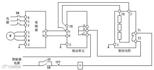
能耗制动的基本应用就是变频器,制动单元,制动电阻,而且是一一对应的关系,由于制动单元一般具有通用性,制动电阻又以功率和阻值自由选配,因此,一对一的单机应用型能耗制动方案对变频器的功能并无特殊的要求。在常见的外置能耗制动单元应用中,主要有3种控制方案:

一、无保护型
普通的制动电阻无保护型制动单元配线,只需要保证制动电阻的功率与散热条件良好,并不至于发生火灾等隐患,对于无特殊要求的场合,可以根据无保护型方案选配元件及接线。

二、接触器保护型
为了保证系统设备的电气安全,在能耗制动系统中出现元件故障时,通过切断或者停止设备的运行,防止故障范围扩大,切断变频器供电,防止变频器继续运行,对设备的保护能力较好,但是需要增加外围电路及物料成本。

三、控制端子保护型
通过定义变频器外部端子功能,当制动单元或者制动电阻出现故障时,使变频器报警,在变频器面板显示故障代码,提醒操作人员排除故障。这种方式比较合理,且易于实现。

(来源:变频器维修)

