电磁阀的主阀采用滑阀和提动阀结构属于最多的种类,能够组合成多种形式,针对其最为常见的类型介绍一下。
二通电磁阀
二通电磁阀可以划分为两种结构:
一种是喷射压缩空气来挖槽清洁或输送物品等场合使用的小口径阀。另一种是在启闭气源回路等场合使用的大口径阀。
如图所示,流道直径在1~3mm左右的小型阀,是利用了I形电磁铁的柱塞铁芯直接密封阀座的结构形式。如果电磁铁通电,柱塞铁芯被吸引,阀座就打开。电磁铁断电,柱塞铁芯在弹簧力的作用下,恢复到原位,并重新使阀座密封。距离控制,并且响应速度快。因此这是方向控制阀里使用最多的气动元件,其种类也比较多。

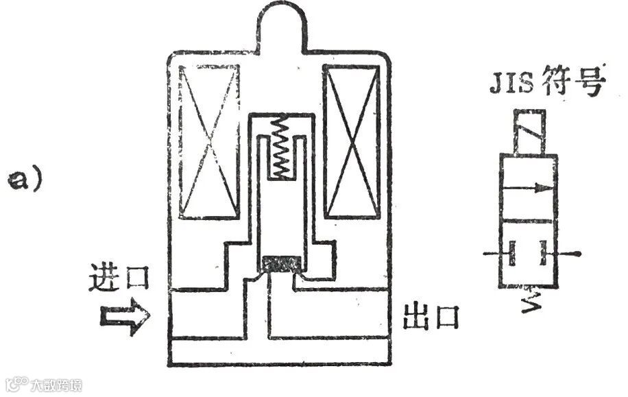
在这种不通电的状态下,阀座闭合的形式我们称之为常闭式。如图所示,这是一种大型的二通电磁阀。

当电磁铁的柱塞铁芯被吸引时膜中央的通口被开启,膜片上腔的气体能够流向出口侧,从而让膜片上下腔产生了压差,使膜片上腔的空气就流向出口侧,产生了膜片上下腔的压差,使得膜片抬高。这个时候,膜片封闭着的大通口被打开,空气就从进口测流向出口侧。如果电磁铁断电的话,柱塞铁芯就会堵住膜片中央的通口,从膜片侧面的小孔进入到空气压力,使得阀座重新封闭。这种先通过切换小型阀,再利用被切换的空气压力进行第二次曹忠更大的阀的方式叫做先导控制式。因此对先导式的电磁阀必须规定最低的动作压力。
三通电磁阀
如下图所示为直动式的三通电磁阀,这种I形电磁铁的柱塞铁芯的上下两端分别自带密封部分。柱塞铁芯的密封部分应当使用丁晴橡胶,为了更好的套使用寿命,也有在柱塞铁芯内装有弹簧的,这种阀的密封部分没有滑动、设计结构简单、即使没有润滑也能使用。
同时能够适应在切换水、油等液体时也能够使用。如三所示属于先导式三通电磁阀,这种阀先使小型三通电磁阀动作,然后利用切换后的空气压力再切换作为主阀的大口径三通阀。
那么久可以用小的电流来操纵大型的阀。此外由于主阀的动作是利用空气压力来完成的。
因此对下图那样的背压复位式阀和使用0形密封圈等密封材料的产生滑动阻力较大的阀也能够进行切换。

要注意的是,先导式电磁阀要先操纵先导阀,然后进行切换主阀,会产生响应速度变慢,这一个时间的滞后对于小型阀来说问题不是很大,但对于大型发的影响就挺关键,因此在响应速度要求较高的应用场景特别要注意。
四通、五通电磁阀
四通五通的电磁阀多数被用于控制双作用气缸运动,四通阀和五通阀的性能基本一致,所以有时候在使用上没有什么区别,它们在结构上的不同点就是四通阀的排气口只有1个,而五通阀的排气口有2个,用在液压系统时候,回油管,相当当相当于气阀的排气口合而为一可以减少配管的繁琐,大多数人会优先采用四通阀。在气阀中排气可以直接放出大气,或者排气口分安装节流阀以便控制排气流量,从而可以控制气缸的速度。
在四通五通电磁阀中,有单电磁铁二位阀,双电磁铁二位阀以及双电磁铁三位阀等。

NNT
关注我们,
继续给大家介绍更多气动知识




