搜索
首页
大数快讯
大数活动
服务超市
文章专题
出海平台
流量密码
出海蓝图
产业赛道
物流仓储
跨境支付
选品策略
实操手册
报告
跨企查
百科
导航
知识体系
工具箱
更多
找货源
跨境招聘
DeepSeek
首页
>
摩拜、ofo哪家强?数据来说话
>
摩拜、ofo哪家强?数据来说话
广东省数字化学会
2017-04-06
0
导读:随着新一轮资本的注入,共享单车市场的战局更加激烈。尤其摩拜单车和ofo单车以总融资12亿美元占据主要共享单车
随着新一轮资本的注入,共享单车市场的战局更加激烈。尤其摩拜单车和ofo单车以总
融资
12亿美元占据主要共享单车资本。
市场需求与用户态度
以目前市场反响来看,用户对共享单车的态度是积极的。下图显示用户未来使用共享单车的态度:
70%的用户表示在未来会经常使用共享单车,28.7%的用户表示会偶尔使用,只有1.2%的用户表示不会再使用共享单车。以此可以看出共享单车满足了用户的刚性需求。
从车站/地铁站出发到达目的地是用户的主要使用场景。由此可以推断出上班族和学生族是主要的用户人群,并以节省
时间
为目的。交通拥堵对于单车市场来说功不可没。健身和出游的场景频次大多发生在
节假日
中。尝鲜体验的用户会随市场成熟而逐步淘汰。
5千米以内的骑行距离占据91%,其中3千米以内占据61%。由此推断,用户在5千米以上距离的场景中多不愿选择共享单车作为出行
工具
。
结合用户使用场景和骑行距离,从地铁站或车站出发的5千米以内骑行距离刚需为主。
成本与价格
从押金、价格、成本
角度
来看ofo相比摩拜具有较大的成本优势。正因为ofo的低成本,ofo在单车丢失率、损坏率相较摩拜更甚。不过在相同的资本注入情况下,ofo具备以量取胜的资本。理论上,ofo可在成本环节拓展更多的玩法。
融资情况
摩拜融资信息如下:
包括腾讯、富士康、携程、红杉资本等投资方,摩拜获得5亿美元以上融资。
ofo融资信息如下:
包括滴滴出行、小米科技、中信基金等投资方,ofo获得5亿美元以上融资。
以此可以看出,摩拜和ofo在投资人眼里具有旗鼓相当的地位。也正因为滴滴和腾讯的参与让人们联想到过去滴滴和快滴的合并。外界推测摩拜和ofo会合并,也是由此推断。
舆情指数和品牌策略
作为企业的无形资产,品牌和舆论对有形资产起到关键作用。市场上主要的营销手法主要采用广告和新闻舆论。虽然包括微信微博在内的各渠道入口都对营销起到重要作用,但摩拜和ofo在这方面采用的策略基本相同,我就不在此过多阐述。
反观摩拜以新闻为导向的营销策略和ofo以广告为导向的营销策略。我们进行对比:
摩拜在新闻上的投入从17年2月开始加大力度,一度超过ofo若干等级。到目前(截止2017年3月)摩拜的新闻舆情指数达到68而ofo仅为18。摩拜遥遥领先ofo。
但通过百度指数分析,ofo的百度指数却超过摩拜。我们观察下方百度指数的整体统计、PC统计和移动统计:
在2016年末和2017年2月、3月,ofo的指数远超摩拜。但摩拜以20%的增长趋势超过ofo 7%的增长。
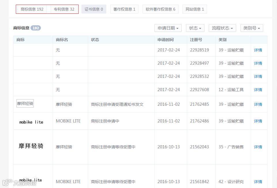
我们再看摩拜和ofo的品牌保护,如下图:
摩拜注册
商标
192,ofo注册商标3;摩拜
专利
32,ofo为0。在品牌意识上,摩拜胜过ofo一筹。
我们再看摩拜和ofo的关联关键词,如下图:
摩拜和ofo相辅相成,关联性较强。依据摩拜和ofo重叠用户的比例5%的来计算,同时关注摩拜和ofo的用户占有很大比例。
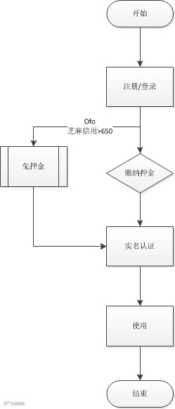
流程设计
在使用流程上,摩拜和ofo均采用缴纳押金和实名认证的策略。但ofo结合支付宝芝麻信用分推出免押金策略。Ofo的底气来源于其单车成本和个人征信。记得当初滴滴和快滴的对决实质是支付宝和微信支付的对决,那这次关于个人征信的建设来说,似乎微信并没有入场。当然,这些都是题外话。
显然,在这场对决中,征信免押金的策略让ofo扳回一局。
界面设计
可以说摩拜和ofo的UI是非常相似的。但也有一些设计概念上的不同。
1. 摩拜单车右下角引入“客服”概念;ofo右下角引入“举报”概念。
2. ofo右上角显示
活动
信息;摩拜显示搜索POI。
3. 摩拜单独设置红包活动按钮,并没有为活动设置独立的页面。
4. ofo APP启动
速度
比摩拜更快。显然ofo的程序更轻量。
用户满意度
从上图可以看出,ofo的用户满意度超过摩拜6个百分点,但整体相差不大。
总结
综上所述,共享单车市场一家独大的可能性不大,但两者间的竞争会产生良性竞争,最终共同带动共享单车市场的成熟。
【声明】内容源于网络
0
0
广东省数字化学会
帮助企业数字化转型,让数据成为生产力
内容
0
粉丝
0
关注
在线咨询
广东省数字化学会
帮助企业数字化转型,让数据成为生产力
总阅读
0
粉丝
0
内容
0