导读:基于模型的企业MBE是MBD数据源的应用环境,完整的MBE能力体系构建,就是以MBD模型为统一的“工程语言”,按系统工程方法的指导,全面优化梳理企业内外、产品全生命周期业务流程、标准,采用先进的信息化技术,形成一套崭新的完整的产品研制能力体系。
当前,国内外大型装备制造企业的数字化技术发展迅速,三维数字化设计技术得到了广泛的应用,基于模型定义(Model-BasedDefinition,简称 MBD)的数字化设计与制造技术已经成为制造业信息化的发展趋势。为了更好地使 MBD数据在产品的整个生命周期内能够有效充分地进行利用,很多大型装备提供商、供应商通过不同的型号项目开始研究、验证和应用 MBE(Model Based Enterprise:基于模型的企业)方法,就是要基于 MBD在整个企业和供应链范围内建立一个集成和协同化的环境,各业务环节充分利用已有的 MBD单一数据源开展工作,从而有效地缩短整个产品研制周期,改善生产现场工作环境,提高产品质量和生产效率。

图1 发展历程
概念解析
MBD(Model BasedDefinition,基于模型的定义):将产品的所有相关设计定义、工艺描述、属性和管理等信息都附着在产品三维模型中的数字化定义方法。将设计信息和制造信息共同定义到产品的三维数字化模型中,以改变目前三维模型和二维工程图共存的局面,更好地保证产品定义数据的唯一性。核心是将产品三维模型打造为传递到下游生产活动所需详细信息的最恰当的载体,企业所有部门和团队都使用三维模型作为信息传递途径。
MBE(Model Based Enterprise,基于模型的企业),企业将其在产品全生命周期中所需要的数据、信息和知识进行整理,结合信息系统,建立便于系统集成和应用的产品模型和过程模型,通过模型进行多学科、跨部门、跨企业的产品协同设计、制造和管理,通过模型支持技术创新、大批量定制和绿色制造。
两者关系
基于模型的企业MBE是MBD数据源的应用环境,完整的MBE能力体系构建,就是以MBD模型为统一的“工程语言”,按系统工程方法的指导,全面优化梳理企业内外、产品全生命周期业务流程、标准,采用先进的信息化技术,形成一套崭新的完整的产品研制能力体系。企业需要一套面向MBE的信息化环境,帮助企业实现 MBD 模型以及相关数据在企业内外能够顺畅流通、可直接利用。对于每一个制造企业,跨企业内外的产品全生命周期业务是非常复杂的,基于现有各自独立的信息化技术和工具,不可避免需要处理大量的系统集成和数据转换,才勉强能保障MBD模型以及相关数据的流通或可利用,这将是致力于成为MBE企业直接面临的最大的问题。

图2 MBD实施的十要十不要

图3 MBD模型的应用

图4 MBE关键技术

图5 MBE面临的挑战
模型格式的转换问题
由CAD/CAM 以及其它制造软件供应商造成的3D CAD 文件格式差异,成为实现MBE 数字线和企业真正的集成和协同的现实障碍。供应商有各自独特的3D 模型和TDP 文件格式。同一种软件还有不同版本的数据兼容问题。而对于一个企业或产品供应网络,会用到多个不同水平的CAD 系统,不同厂商提供的CAM/NC/CMM/MES 系统。将所有的应用软件都统一在同一种格式上几乎是不可能。因此MBE 理想化的数字线上,实际还是存在着许多因为CAD 软件系统造成的断点,3D 模型文件的格式转换是不可避免的,尽管所有设计数据的发布可以转换成为STEP 和IGIS中性文件。目前,ARL MBE 引导企业的做法是直接使用本地3D CAD 模型,在需要衔接时,进行不同格式文件的直接转换。用本地文件而不是从中性文件输入CAD 几何具有的好处是:消除中间格式的转换、翻译、认证的工作量和减少潜在的翻译错误。
企业信息化进程的多样性问题
因为MBE 的进展引发的问题还有大量老产品的处理。目前,从企业信息化进程的角度看,同一个企业有最新的MBE 模式、更大量的是传统2D 数据的信息化处理模式,也仍旧存在着纯手工的管理模式。在普遍的混流生产企业中或是车间里,存在这种“一国两制”甚至是“一国三制”的状态,极大的增加了业务流程的复杂性,甚至会出现在同一台机床上加工的零件,有用纯纸质文档、“半数字化”MES、无纸化的MBE 方式的。多种系统的维护和运行规则都会加重车间的负担,以致造成混乱。所以,在目前各个企业将注意力集中在数字化应用“快步跑”的时候,还必须对企业信息化的全局有一个均衡、统筹的规划,特别要关注老的、使用期长的机种,这些产品存在长期生产、维修的数据管理和信息化问题。
统一的信息技术平台
MBE 是以3D 模型定义为基础,为整个企业所共享的、全面集成和协同制造的环境。在企业或供应链中,无论在何处的数据生产者和数据消费者,在制造过程的任何点上,都将连接到一个共同数字的数据源上,数据标准将从设计阶段开始,延伸到制造,继而到最后装配。这种统一平台就是PLM 系统。MBE 的PLM 是一个数字数据产生、传递和管理的统一平台,不被部门和层次化的局部和应用所割裂或中断。MBE的重要标志之一是:制造、质量代码与设计模型在同一个PLM 中管理。届时,完成设计和工艺的数据as-designed/as planned,包括作业指导书和CNC/CMM 代码,制造完成和每次维护以后采集的数据as-built / as-maintained/as sustained 都在同一数据平台中。在MBE 中,当前的所谓设计和研发平台,工艺平台,制造平台、工具、工装等五花八门的区域性的平台都将起到割裂连续数字线的作用。所以从现在起,我们就要将信息规划的着眼点转移到利用PLM 建立唯一的统一数据平台上来。
并行和协同的实施
在MBE 环境中,所有的工程活动是个同步或并行的过程。创建3D动态作业指导书、制造与质量代码CNC/CMM 程序、离散事件模拟等活动都是与创建设计模型并行开展的,这些工作都能够在设计过程完成之前开始并完成到一定程度。尽管并行工程的概念和应用有几十年之久了,但是,只有在MBE 环境中才能缩短并行工程的研制周期和充分发挥各种模拟仿真的效能。供应商也可以在它们的内部开发过程重用OEM的TDP 中的信息。但是,实行并行工程和真正的协同至今仍旧受到现有厂所建制和企业内部机构设置、功能划分的限制,也深受设计和工艺人员分工、知识技能的制约。这些属于行业规则和企业文化的问题也需要及早找到妥善的解决方案。

图6 MBE能力评估
基于模型的企业(MBE)在航空业的实践与发展
四川成发航空科技股份有限公司根据MBE组成,结合企业需求与产品特点,开展MBE项目建设与试点应用。MBE的技术架构见图1,重点建设的内容有基于模型的产品设计、分析应用、零件工艺、装配工艺、工装设计、作业指导书、制造执行、检测检验,数字化服务管理及标准定义共十大部分,虚线框图内容未纳入本期建设。

图7 成发基于模型的企业技术架构
航空发动机造数字化工艺实施应用
MBD的提出是现有设计、工艺系统的大变革,由于现行工艺中每道工序都需要配以图形进行说明、标注等,需要工艺人员做大量的图形绘制工作,如何将MBD模型体现在工艺规程上,并且进行工序内容的说明,尺寸的表达等这些都是开展MBD工艺过程中急需解决的问题。
为了解决问题,中航工业黎明公司立项开发了基于MBD三维工艺系统,根据三维工艺的特点与要求,基于NX 和Teamcenter 协同平台,在CAX 与IE 的基础上,通过开发形成的工艺设计系统,辅助工艺人员完成零件的三维工艺规程的设计。
小卫星数字化应用
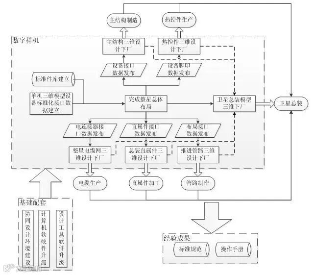
国内航天器的设计制造正在经历着从“三维设计、二维出图”阶段到“全三维数字化设计”阶段的转变。现阶段小卫星设计制造中重点解决卫星总体协同设计和三维下厂问题,通过在型号研制过程中摸索和实践,初步形成一套全三维数字化设计制造方法,打通了从总体集成设计到最终总装产品的数据流,实现了小卫星设计制造过程的无纸化。
基于MBD的设计生产制造,小卫星总体现阶段主要实现卫星详细设计和生产装配,开展基于MBD技术的主结构、管路、电缆网、直属件、热控部件的数字样机设计,打通总体设计、制造和集成装配环节,提高研制效率和质量。小卫星全三维数字化设计制造实现流程如图1。

图8 小卫星全三维数字化设计制造实现流程图
愿景
(1)3D 模型和TDP 的生成和管理达到的水平。用3D 模型定义全部零件几何和全部零件的标注(包括注释、尺寸、PMI 等),不再需要2D图纸的帮助。
(2)eBOM 与CAD 模型相链接。模型和注释(说明、参数、非几何数据)在PLM 中受控,使用PLM基本工具半自动化对3D 模型几何和零件标注进行检查和对模型的质量进行认证。
(3)由PLM 自动实现从模型元素到数字数据包TDP 的采集,TDP 由PLM 自动的数字化发布。数据发布和更改过程以及构型管理都是基于模型的。
(4)3D 模型和TDP 不经重新灌入就能够为下游所重用。通过对本地3D CAD 模型、轻量化3D 可视化模型和eBOM 的访问,将PMI 数据提供给制造、检验以及其它任何需要PMI 的地方。
(5)用本地3D CAD 模型再创建模型的同时,并行地生成制造工艺规划和作业指导书等制造代码。制造过程的工艺规划和作业指导书MBI 全部与设计模型相关联。设计模型和来源于模型的大部分数据应在同一个PLM 系统中管理,制造代码在PLM 系统中受控。使用本地3D 设计模型直接生成NC/CMM 数控、质量检验代码和模型的建立也是并行过程,质量要求数据同样全部在PLM 中管理。
(6)在企业内部和供应链之间的协同和数据交换方面,达到的要求是:企业内部使用的设计数据是本地3D 模型和按企业内部需要的3D轻量化可视模型,用户可以根据在组织内的角色,差异化的访问所有模型数据。向外部设计部门提供的设计数据也是本地3D CAD 模型,根据授权,外部的3D PLM 可直接访问本地模型和元数据。
从MBD到MBE的转变
从MBD到MBE,构建一个基于模型的企业是一条漫长之路,需要在许多方面做出突破和改善。企业在摆脱传统的基于二维图纸的设计研发生产模式向基于三维模型的全面数字化企业迈进的过程中,必须从根本上树立起数字化思维和生产经营管理模式,建立科学的战略转型路径。
路径一:树立数字化企业意识,实现传统思维向数字化思维的转变
路径二:从基础做起,构建MBD基础环境
路径三:在典型应用的基础上,进一步实现MBD技术在整个企业的扩展应用
路径四:整合已经拥有的MBD成果,实现基于模型的企业
路径五:正确选择合作伙伴,吸收专业咨询公司的技术优势和实施经验
-
文章来源:数字化企业网

▼点击“阅读原文”加入数字化学会,更多行业干货尽在此处

