上课时间:滚动开课
近日,据媒体报道,娃哈哈上海工厂(上海娃哈哈饮用水有限公司)推出“沪小娃”品牌桶装水,产品与此前生产的娃哈哈桶装水一样,宣传海报上写着“至真至纯、同宗同源”。事情起因是品牌授权争议引发的工厂停工。
9月26日,上海娃哈哈饮用水有限公司方面人士表示:“推出新品牌是为了活下去的无奈之举,做新品牌需要时间,也很难,我们有心理准备。”
由于身陷宗庆后百亿遗产纠纷,近期宗馥莉麻烦缠身,就在9月26日,香港高等法院刚刚驳回以宗馥莉为代表的被告人在传票中提出的上诉许可申请。
娃哈哈上海公司改卖“沪小娃”
20多年来从未亏损,去年营收上亿元
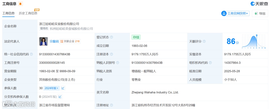
上海娃哈哈饮用水有限公司的控股公司均是浙江娃哈哈实业股份有限公司,桶装水业务也是其主要的业绩来源。浙江娃哈哈实业股份有限公司现在的法定代表人是宗馥莉,此前是娃哈哈创始人宗庆后。据悉,娃哈哈集团占有娃哈哈实业43%的股份,内部员工持股约31.5%,社会资本持股约25.5%。
由浙江娃哈哈实业公司(娃哈哈实业)持股70%的子公司上海娃哈哈饮用水有限公司成立于2002年,是“娃哈哈”桶装水在上海地区的独家经营实体,全面负责上海地区“娃哈哈”桶装水的生产、销售和委托外部加工,上海娃哈哈饮用水有限公司的董事长、法定代表人宗伟也是股东之一,持股30%。
2025年7月,娃哈哈集团要求上海娃哈哈饮用水有限公司停止使用“娃哈哈”品牌授权生产桶装水。“我们(在接到娃哈哈集团的函件后)立即回函要求沟通,但是始终联系不上宗馥莉本人。”宗伟在接受采访时说。
他还表示,娃哈哈集团的股东杭州市上城区国资方,曾派调查组前往上海饮用水公司调查,并给娃哈哈集团董事会发函,表明他们不认可此事。“然后娃哈哈集团曾向我提出让上海饮用水公司破产清算,但是我没有同意。”
据澎湃新闻报道,有知情人士向记者强调,宗伟其实是宗庆后的堂弟,上海娃哈哈饮用水有限公司也是在宗庆后的支持下创立。不过,据界面新闻报道,记者自娃哈哈一名内部人士了解到,宗伟实则是宗庆后堂侄。
9月24日,界面新闻记者就此向娃哈哈求证,暂未获得回应。娃哈哈内部一名知情人士表示,上海娃哈哈饮用水确实因为娃哈哈品牌到期而不能继续使用娃哈哈这个品牌,只好另起炉灶。而在上海娃哈哈饮用水总经理林立山的朋友圈,几天前挂出了沪小娃的宣传文案,“沪小娃”宣传册页显示,沪小娃的产品除了4款常规桶装水外,还有两款一次性桶装水产品。
上述人士向澎湃新闻记者透露,20多年来,上海娃哈哈饮用水有限公司从未亏损,营收逐年攀升,去年已在上海桶装水市场排名前三,营收超1.2亿元。
无奈的是,上海娃哈哈饮用水有限公司被授权的两个“娃哈哈”商标已分别在2021年与2023年到期。娃哈哈集团曾在商标到期后,为上海娃哈哈饮用水有限公司开具其是分公司的证明,让其继续生产,但新的授权合同,该公司并未拿到。今年7月,集团向其发函,要求停止使用娃哈哈相关商标,随后还向监管部门举报该公司商标侵权。
宗馥莉也可能无法使用“娃哈哈”
宏胜系公司已准备使用“娃小宗”
今年2月,娃哈哈曾因转让商标而陷入舆论风波。娃哈哈称,“娃哈哈”系列商标共计387件正在国家知识产权局申请由杭州娃哈哈集团有限公司(下称“娃哈哈集团公司”)转让至杭州娃哈哈食品有限公司(下称“娃哈哈食品公司”)。

据悉,因各项历史相关遗留问题,在现行股权架构下,“娃哈哈”商标的使用,须获得娃哈哈集团全体股东的一致同意,否则任何一方均无权使用。因此,就连宗馥莉也可能面临无法继续使用“娃哈哈”商标的境遇。
如今,不仅上海娃哈哈不能使用“娃哈哈”商标,由于娃哈哈商标权历史遗留问题,宗馥莉和宏胜集团似乎也在筹备更换“娃小宗”这一品牌。
图片来源:视觉中国(资料图)
9月13日,据蓝鲸新闻报道,娃哈哈或使用新品牌“娃小宗”。
杭州娃哈哈宏辉食品饮料有限公司(以下简称宏辉食品)的一份内部文件显示,自娃哈哈集团创始人离世后,公司一直努力推进解决各项历史遗留问题,为维护“娃哈哈”品牌使用的合规性,公司决定从2026年新的销售年度起,更换使用新品牌“娃小宗”。
针对这一消息,9月13日晚间,《每日经济新闻》记者向娃哈哈方面核实,未获回应。
天眼查信息显示,宏辉食品控股股东是杭州宏宸营销有限公司,后者持有宏辉食品100%股权。而杭州宏宸营销有限公司是宏胜饮料集团有限公司(以下简称宏胜集团)100%控股的公司。
此外,天眼查信息显示,“娃小宗”的商标目前归宏胜集团所有,商标申请日期显示为2025年5月。
9月13日晚间,《每日经济新闻》记者向娃哈哈多名经销商求证,是否收到《关于开展2026销售年度经销商沟通工作的通知》,但受访的娃哈哈经销商均表示对此事不知情。同时,就更换新品牌的消息,有娃哈哈经销商向《每日经济新闻》记者表示:“如果是,那也只能面对。”
也有和娃哈哈合作多年的经销商向《每日经济新闻》记者透露,今年经销的娃哈哈销量,相比去年娃哈哈业绩高峰时有所下滑,“今年销量是去年同期的80%”。
来源: 每日经济新闻
声明:文字和图片版权归原作者所有,部分文稿推送时未能与原作者取得联系,若有来源标注错误、不符合转载规范或侵犯了您的合法权益,请作者与我们联系,我们将立即更正、删除,谢谢。联系手机号:18925020526(微信同号)。本号文章及图片仅供交流参考之目的。
点分享
点收藏
点点赞
点在看

