《跃迁旅人:重构》国际服将于11月28日停运
二元游戏陷入经营困境,IP布局面临考验
10月27日,《跃迁旅人:重构》(Space Leaper: COCOON)国际服发布公告称,由于近期游戏开发和运营调整,代理服务器将于2023年11月28日永久关闭。

图源:TapTap
《跃迁旅人:重构》是原《跃迁旅人》的重制版本,由二元游戏研发,Damo Network负责海外发行。国服于2022年上线,整体表现平平,仅短暂进入过1个市场的iOS游戏畅销榜TOP10。
去年9月,《跃迁旅人》在国内正式上线,但不足四个月后,受疫情及资金压力影响,项目组经历重组并决定暂停更新,启动重制计划。今年7月,重制版重新上线,然而市场反响依旧冷淡,未能在榜单中掀起波澜。
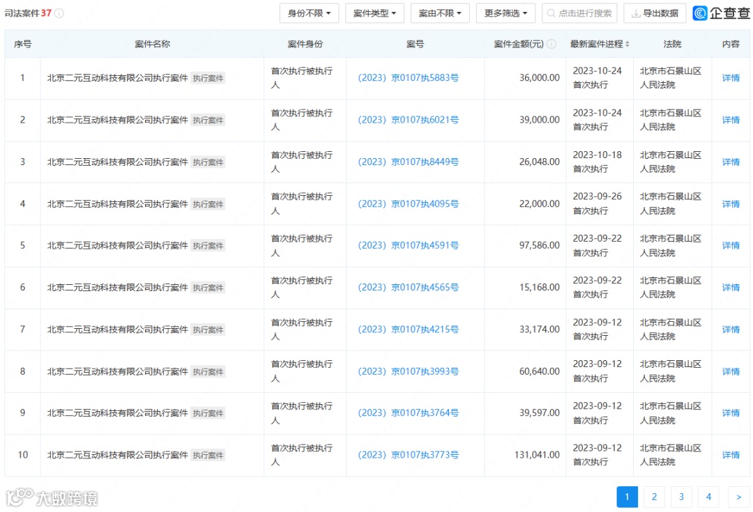
根据此前报道,二元游戏已出现缩编、欠薪等情况,办公地点也从高端写字楼搬至毛坯房。企查查数据显示,该公司持续新增被执行人信息,并有多条限制高消费提示。

尽管《跃迁旅人》曾以“赛博朋克+像素风”的设定在一众二次元游戏中脱颖而出,但其国际服停运的消息再次引发玩家对国服未来命运的担忧。
值得一提的是,二元游戏旗下新作《卢希达:起源》上月获得国内版号,为公司带来一定转机。这款二次元策略RPG已在韩国、马来西亚、新加坡等地测试,计划今年上线,由电魂网络负责国内发行。

《卢希达:起源》被视为二元游戏拓展“跃迁宇宙”IP的重要一步,但在《跃迁旅人》开局失利、公司运营困难的背景下,该IP后续作品是否能如期上线并赢回玩家信任仍存疑问。


