企业自主环保验收
环保自主验收
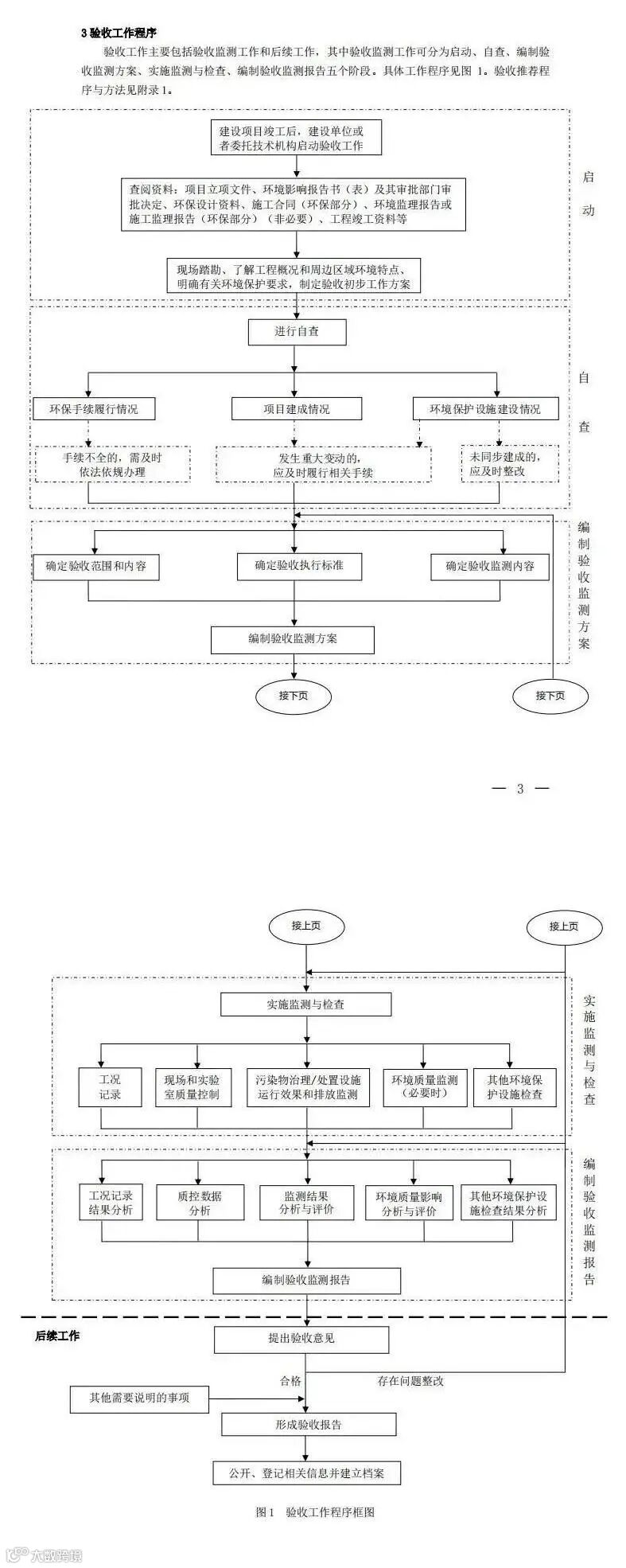
根据《中华人民共和国固体废物污染环境防治法》、《建设项目环境保护管理条例》、《关于发布<建设项目竣工环境保护验收暂行办法>的公告》(国环规环评〔2017〕4号,附件1)有关规定,自2020年9月1日由企业自主全面开展建设项目竣工环境保护验收。那么企业该如何实施自主验收?
1.验收依据
建设单位根据《中华人民共和国大气污染防治法》、《中华人民共和国水污染防治法》、《中华人民共和国固体废物污染环境防治法》、《中华人民共和国环境噪声污染防治法》、《建设项目环境保护管理条例》、《关于发布<建设项目竣工环境保护验收暂行办法>的公告》(国环规环评〔2017〕4号)等规定,开展建设项目竣工环境保护验收工作。
验收的程序和内容参照《建设项目竣工环境保护验收暂行办法》(国环规环评〔2017〕4号)。 编制验收监测(调查)报告过程中,以排放污染物为主的建设项目,参照《建设项目竣工环境保护验收技术指南 污染影响类》编制验收监测报告;主要对生态造成影响的建设项目,按照《建设项目竣工环境保护验收技术规范 生态影响类》编制验收调查报告;火力发电、石油炼制、水利水电、核与辐射等已发布行业验收技术规范的建设项目,按照该行业验收技术规范编制验收监测报告或者验收调查报告。
建设单位可以登陆生态环境部网站(http://www.mee.gov.cn/)查询建设项目竣工环境保护验收相关技术规范。
2.编制验收报告
验收报告分为验收监测(调查)报告、验收意见和其他需要说明的事项等三项内容。
验收意见包括工程建设基本情况、工程变动情况、环境保护设施落实情况、环境保护设施调试效果、工程建设对环境的影响、验收结论和后续要求等内容,验收结论应当明确该建设项目环境保护设施是否验收合格。存在问题的,建设单位应当进行整改,整改完成后方可提出验收意见。
“其他需要说明的事项”中应当如实记载环境保护设施设计、施工和验收过程简况、环境影响报告书(表)及其审批部门审批决定中提出的除环境保护设施外的其他环境保护对策措施的实施情况,以及整改工作情况等。
3.验收调试
需要对建设项目配套建设的环境保护设施进行调试的,建设单位应当确保调试期间污染物排放符合国家和地方有关污染物排放标准和排污许可等相关管理规定。
纳入排污许可管理的建设项目,排污单位应当在项目产生实际污染物排放之前,按照国家排污许可有关管理规定要求,申请排污许可证。环境保护设施未与主体工程同时建成的,或者应当取得排污许可证但未取得的,建设单位不得对该建设项目环境保护设施进行调试。
4.信息公开
除按照国家需要保密的情形外,建设单位应当通过其网站或其他便于公众知晓的方式,向社会公开下列信息:
(一)建设项目配套建设的环境保护设施竣工后,公开竣工日期;
(二)对建设项目配套建设的环境保护设施进行调试前,公开调试的起止日期;
(三)验收报告编制完成后5个工作日内,公开验收报告,公示的期限不得少于20个工作日。
5.验收期限
验收期限是指自建设项目环境保护设施竣工之日起至建设单位向社会公开验收报告之日止的时间。除需要取得排污许可证的水和大气污染防治设施外,其他环境保护设施的验收期限一般不超过3个月;需要对该类环境保护设施进行调试或者整改的,验收期限可以适当延期,但最长不超过12个月。
6.上报平台、归档
验收报告公示期满后5个工作日内,建设单位应当登录全国建设项目竣工环境保护验收信息平台(http://114.251.10.205/#/pub-message),填报建设项目基本信息、环境保护设施验收情况等相关信息。
建设单位应当将验收报告以及其他档案资料存档备查。
7.验收不合格情形
建设项目环境保护设施存在下列情形之一的,建设单位不得提出验收合格的意见:
(一)未按环境影响报告书(表)及其审批部门审批决定要求建成环境保护设施,或者环境保护设施不能与主体工程同时投产或者使用的;
(二)污染物排放不符合国家和地方相关标准、环境影响报告书(表)及其审批部门审批决定或者重点污染物排放总量控制指标要求的;
(三)环境影响报告书(表)经批准后,该建设项目的性质、规模、地点、采用的生产工艺或者防治污染、防止生态破坏的措施发生重大变动,建设单位未重新报批环境影响报告书(表)或者环境影响报告书(表)未经批准的;
(四)建设过程中造成重大环境污染未治理完成,或者造成重大生态破坏未恢复的;
(五)纳入排污许可管理的建设项目,无证排污或者不按证排污的;
(六)分期建设、分期投入生产或者使用依法应当分期验收的建设项目,其分期建设、分期投入生产或者使用的环境保护设施防治环境污染和生态破坏的能力不能满足其相应主体工程需要的;
(七)建设单位因该建设项目违反国家和地方环境保护法律法规受到处罚,被责令改正,尚未改正完成的;
(八)验收报告的基础资料数据明显不实,内容存在重大缺项、 遗漏,或者验收结论不明确、不合理的;
(九)其他环境保护法律法规规章等规定不得通过环境保护验收的。

环评一部:0534-5087977
环评二部:0534-5088069
工程咨询部:0534-5087988
环保验收部:0534-5088802、5088050
公司地址:山东省德州市经济技术开发区鑫星国际22层


