

以上音频技术来自:讯飞有声
科创板正以外界意想不到的速度在推进。
3月22日,上交所公布了首批受理的9家科创板企业并披露了招股说明书,这也意味着,公布在列的9家企业若闯关成功,有望成为第一波登陆科创板的企业。
9家企业大家都知道了,尽管在公布名单前这些企业远远不及寒武纪等人工智能公司出名。那么,这些首批有望登陆科创板的企业,除了可以赚取保荐收入的中信、招商和民生等6家券商,还有谁可以从首批科创板企业中分一杯羹?
显然,最直接受益的是直接或间接持有企业的股东,券商中国记者注意到,这9家企业背后有不少是如雷贯耳的机构。除了网红王思聪间接持有首批受理科创板企业股权,多家知名创投和金融机构也参与其中。
例如,投资企业上市数量位居创投业第一的深创投就位列其中;创投领域此前一度以“撒胡椒面式”投资模式布局的IDG和金沙江,亦没有缺席;此外,阳光保险和长江证券旗下子公司长江证券创新投资有限公司也参与其中。
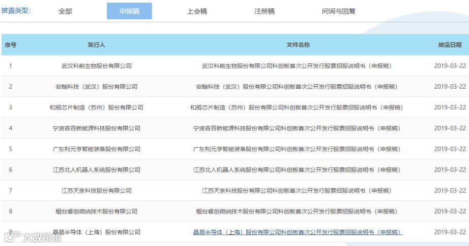
3月22日,上交所披露首批受理的9家科创板企业,同时,火速详细披露了这9家企业的招股说明书。
9家企业分别为武汉科前生物股份有限公司(简称“武汉科前生物”)、安翰科技(武汉)股份有限公司(简称“安翰科技”)、和舰芯片制造(苏州)有限公司(简称“和舰芯片”)、宁波容百新能源科技股份有限公司(简称“宁波容百”)、广东利元亨智能装备股份有限公司(简称“广东利元”)、江苏北人机器人系统股份有限公司(简称“江苏北人”)、江苏天奈科技股份有限公司(简称“天奈科技”)、烟台睿创微纳技术股份有限公司(简称“睿创微纳”)、晶晨半导体(上海)股份有限公司(简称“晶晨股份”)。

券商中国记者注意到,两家湖北企业中,武汉科前生物股东结构主要以国有股东和多个自然人持股为主,没有知名机构参与;而湖北另外一家安翰科技则拥有王思聪和刘永好等间接参与的明星股东。
从事消化道系统胃镜机器人的安翰科技,截至2018年12月12日,该公司股东信息多达31条,大股东是该公司董事长吉朋松,持有12.82%股权。宁波朗盛二号股权投资合伙企业(简称“宁波朗盛”)是安翰科技股东之一,持股1641.4万股,所占比例为4.56%,而宁波朗盛的股东之一为北京普思投资有限公司,北京普思投资有限公司是王思聪100%持股企业。

同时,刘永好的新希望集团旗下子公司北京新希望产业投资中心和拉萨经开区新希望投资有限公司合计持有安翰科技2.25%股份比例。
保荐人为长江证券的和舰芯片,股东方没有知名机构参与,控股股东是注册在维京群岛的橡木联合,直接持有98.14%股份比例。
民生证券保荐的广东利元股东信息多达18条,实际控制人为周俊雄和卢家红夫妇,合计控制广东利元总股本的77.09%,其余股东多为中小私募公司。
新三板首家获科创板上市受理的江苏北人,控股股东、实际控制人为朱振友,直接持有江苏北人30.43%股权,其余股东为私募公司和多位自然人。
民生证券保荐的另一家亮相科创板企业为江苏天奈科技,该公司致力于碳纳米管与石墨烯的研发、生产及应用性开发和销售,该公司实际控制人为高管团队,包括董事长郑涛在内5名高管合计持有30.36%股权。
值得注意的是,天奈科技前十大股东还包括中金佳泰、Asset Focus和上市公司新宙邦(300037,SZ),分别持有10.16%、9.26%和3.95%,其中,中金佳泰的大股东为全国社保基金理事会(持股33.2%),而Asset Focus的股东为知名创投机构IDG资本。

从事新能源锂电池核心关键材料的宁波容百,似乎与此前宁德时代一样受资本热捧,股东方除了数十家私募,险资阳光财险,知名创投机构金沙江和长江证券旗下公司也追逐其中。
券商中国记者注意到,截至招股书披露,宁波容百的股东方多达38家,除了上海容百新能源投资企业(有限合伙)作为控股股东持有32.93%的股份,其他股东的持股比例均未超过10%。
其中,阳光财产保险持有宁波容百3.93%股份,位居第七大股东,知名创投金沙江旗下天津世纪金沙江股权投资基金合伙企业(有限合伙)也持有3.93%股份;而长江证券子公司长江证券创新投资(湖北)有限公司持有0.96%。

不过,值得注意的是,无论是阳光财险,还是金沙江投资,抑或长江证券创新投资,三者入股宁波容百的时间均在2018年。
2018年4月15日,宁波容百2018 年第一次临时股东大会作出决议,同意股本由34395.62 万元增加至 38265.13万元,新增股本 3869.51万元人民币由阳光财险以货币资金认购 1563.44万元,长江证券创新投资以货币资金认购 383.04万元,增资价格为 25.58元/股。
2018年6月19日,宁波容百2018 年第二次临时股东大会作出决议,同意股本由38265.13 万元增加至39828.57万元,新增股本 1563.44万元人民币由金沙江投资以货币资金认购。金沙江投资为公司 C 轮融资的投资者,增资价格同为 25.58元/股。
一直专注于红外成像领域烟台睿创微纳,其保荐人为中信证券,该公司控股股东和实际控制人为马宏,直接和间接持有公司18%的股份。
值得注意的是,睿创微纳的前十大股东中,以公司高管自然人股东居多,机构投资者中较为知名的是深创投,目前持有21688312 股,占股份睿创微纳股本总额的 5.63%,深创投于2018年4月2日和2018年12月26日分两次增资以定增的方式取得睿创微纳目前的股权。

据了解,深圳市创新投资集团有限公司(简称“深创投”)是深圳市政府1999年出资并引导社会资本出资设立的、专业从事创投的公司,致力于培育民族产业、塑造民族品牌、促进经济转型升级和新兴产业发展,目前注册资本54.2亿元,管理各类基金总规模约3334.14亿元。
深创投主要投资中小企业、自主创新高新技术企业和新兴产业企业、初创期和成长期及转型升级企业,涵盖信息科技、互联网/新媒体、生物医药、新能源/节能环保、化工/新材料、高端装备制造、消费品/现代服务等国家政策重点扶持的行业领域。
截至2019年2月底,深创投投资企业数量、投资企业上市数量均位居国内创投行业第一位:已投资项目973个,累计投资金额约424亿元,其中144家投资企业分别在全球16个资本市场上市。
券商中国记者注意到,首批科创板受理企业的股东中,除了上述创投、保险、社保基金等机构,产业资本也如影随形,投资与自身密切相关的上下游企业。
例如,主营业务为多媒体智能终端 SoC芯片的研发、设计和销售的晶晨股份,晶晨控股直接持有晶晨股份146211461股股份,占公司总股本的39.52%,是公司控股股东,实际控制人为两位拥有美国国籍的 John Zhong 和 Yeeping Chen Zhong自然人。
晶晨股份的股权较为分散,除了晶晨控股,持股5%以上的只有TCL王牌、私募天安华登和从事汽车领域的华域汽车系统(上海)有限公司。

而除了5%以外的股东,记者还注意到,不仅TCL王牌,其竞争对手创维投资也是持有晶晨股份2.03%的股东。


首批受理9家科创板企业大揭秘!适应几套标准?哪些行业胜出?亏损企业有何卖点…来看10大关键点
首批受理9家全名单!科创板里程碑一天!中信国君等6券商"中头彩"!江苏等6省包揽首批,看五大答疑
大转变!一批股票大宗交易罕见大幅溢价成交,这两股力量成重要接盘方,机会正从折价套利到价值投资
仍然券业老大!去年净利近百亿,中信证券业绩连续第一,大动作频频,年报亮出财富管理转型新架构
独家!可转债网下申购规则有变!监管明天召开券商座谈会,建立黑名单制度,剑指百个账户顶格申购乱象
券商中国是证券市场权威媒体《证券时报》旗下新媒体,券商中国对该平台所刊载的原创内容享有著作权,未经授权禁止转载,否则将追究相应法律责任。



