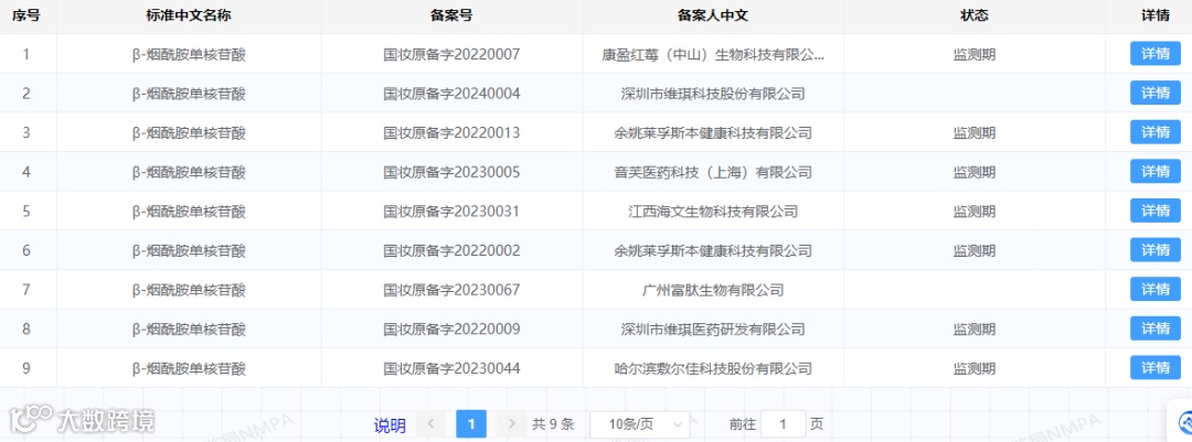
除了国内首款岩藻糖基乳糖通过化妆品新原料备案,2024年开年首个中国特色植物原料进入检测期。
国家药监局发布的《已使用化妆品原料目录(2021年版)》数据显示,在中国境内生产、销售的化妆品已使用原料8972种,其中植物类原料近3000种,约占三分之一。自从新《条例》在第九条内容中明确提到,鼓励运用现代科学技术结合传统优势项目和特色植物资源研究开发化妆品后,越来越多的特色植物成分在美妆行业中承担着重要的角色。
主编 / 陈山花
作者 / 张静

