

来源:证券时报 ID:wwwstcncom
造纸股成为今天盘中最大亮点,板块暴涨超过4%,且股期出现联动,纸浆期货暴涨超过6%。
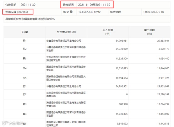
个股方面,再现大牛股,比如天瑞仪器连续3天“20厘米”涨停。不过,由于短期股价突然暴涨,该股昨晚收到交易所关注函。
港股方面,在昨天恒指盘中创最近13个月新低后,今天上午整体大幅反弹。
今日上午A股市场延续窄幅震荡趋势,上证指数仅涨0.11%。午后小幅震荡上行,截至收盘,上涨0.36%。
行业和概念板块方面,造纸、煤炭、电信运营、广告包装、石油、券商板块表现较好,均有不同程度上涨。有色、医药、船舶等板块小幅下跌。电子烟概念再度大涨。
上午行业板块中,最为亮眼的要属造纸板块的暴涨,而且是股期联袂上涨。
行情数据显示,上午国内纸浆期货主力合约加速上涨,截至收盘,涨幅超过6%。纸浆期货价格此轮主升浪始于11月中旬,短短11个交易日累计涨幅已超过20%。

在纸浆期货价格大涨的同时,A股市场造纸整体涨幅超过4%,顺灏股份、民丰特纸、百亚股份、岳阳林纸等多股涨停。

值得注意的是,今年以来多数时间,A股市场造纸板块不温不火,近日是该板块年内最强劲的一波涨势。
港股方面,在昨天恒生指数盘中触及最近13个月新低后,今天迎来较大反弹,恒生指数盘中涨幅超过1.5%。多数权重股迎来反弹,其中美团盘中上涨超过4%,领涨主要权重股。
不过,值得注意的是,近期陷入调整的港股博彩股继续下跌,上午盘中银河娱乐、金沙中国有限公司盘中均跌超过3%。
值得注意的是,虽然近期市场整体相对低迷,但期间不乏涨势凌厉的股票。
比如近日因披露旗下子公司新冠病毒抗体检测试剂产品相关情况的天瑞仪器连续暴涨,已连续3天触及“20厘米”涨停。
根据交易所披露的龙虎榜数据,2021年11月29日至2021年11月30日的股价大涨的异常波动区间,上榜席位全部为营业部席位,无任何机构席位身影,疑似游资借相关话题炒作。

公司昨晚发布的股票交易异常波动公告称,公司通过现场询问方式,对公司控股股东、实际控制人、董事长就相关问题进行了核实,公司前期披露的信息不存在需要更正、补充之处,未发现近期公共传媒报道了可能或已经对公司股票交易价格产生较大影响的未公开重大信息,近期公司经营情况及内外部经营环境未发生重大变化。
公司还称,经向公司控股股东、实际控制人、董事长询问,不存在关于公司的应披露而未披露的重大事项,或处于筹划阶段的重大事项;股票异常波动期间控股股东、实际控制人不存在买卖公司股票的行为;公司不存在违反公平信息披露规定的其他情形。
当晚,天瑞仪器还收到深交所关注函,要求公司核实并说明相关事项。
关注函提及,11月29日,公司在互动易集中回答了多项投资者提问,称贝西生物“正在积极推进新冠病毒抗原检测试剂海外销售工作”,“部分检测试剂产品已取得CE认证”,“目前主要在欧洲、美洲部分国家有少量销售”。
上述关注函要求公司详细说明贝西生物新冠检测试剂产品的业务模式及开展情况,包括但不限于研发模式、采购模式、生产模式、销售模式,主要产品类别及其研发阶段、研发投入情况、产品用途及功效、市场拓展情况及实现销售的具体国家,相关产品最近一年一期的产能、产能利用率、销量、单价、销售收入、净利润、目前在手订单情况等。
关注函还要求公司说明相关产品在欧洲、美洲相关国家销售是否符合当地规定、产品出口是否符合海关和税务规定,并说明取得欧盟CE认证的有效期限、适用范围、认证公信力等具体情况,重新注册认证所需程序以及是否存在不确定性。
此外,关注函还要求公司结合国内外市场准入等政策、已取得相关资质的国内外同类产品情况等,说明贝西生物相关产品的市场地位及竞争力,以及结合政策环境、需求可持续性、市场竞争格局、该业务经营业绩占比及前述问题回复,说明贝西生物新冠检测试剂产品对你公司未来经营业绩可能产生的影响,并充分提示风险。
关注函还提及公司业绩情况,其指出,2019年、2020年和2021年三季度,公司归属于上市公司股东的扣除非经常性损益后净利润分别为-172万元、-3,608万元和-180万元。请公司结合营业收入结构、经营业绩、所处行业政策、市场需求及环境变化等,说明公司业务基本面是否发生重大变化,近期股价涨幅是否与公司基本面相匹配,是否与同行业上市公司变动幅度一致,并结合同行业上市公司估值、市盈率、股价变动情况,就短期内股价涨幅较大充分提示风险。
此外,还要求说明以下一些事项,包括公司控股股东、实际控制人、持股5%以上股东、董事、监事、高级管理人员及其直系亲属近一个月买卖公司股票的情况,未来3个月是否存在减持计划;结合你公司近3个月接受媒体采访、投资者调研、互动易问答及其他与投资者交流情况,并结合相关媒体报道、调研报告、互动易回复等内容与公司公告相关内容的对比情况,核实说明是否违反信息披露公平性原则或者误导投资者的情形;公司认为需要说明的其他事项。
互动易显示,11月29日,有不少网友在互动易提问,询问公司的子公司新冠检测产品的相关情况,天瑞仪器的股价也从当天开始暴涨。在此之前较长时间,互动易上询问天瑞仪器相关问题的情况较少。

责编:陈书玉
百万用户都在看
悲情港股!恒指再创13个月新低,什么信号?年初高调跨香江,年末全都被套牢!"估值洼地"到底靠不靠谱?
触底了吗?!一年大跌32%,外资频繁调仓,发生了什么?330万亿市场融合提速,"人才大战"引爆
A股紧张时刻!超级病毒全球刷屏,"恐怖"航班再现!投资逻辑彻底变了?疫苗、抗疫股要飚?这类股危险了
周末影响一周市场的10大消息(新股+点评)
全球惊慌!超级新冠病毒变体影响多大?六大巨头紧急行动,百日计划出炉!A股能否独立?三条赛道助力

券商中国是证券市场权威媒体《证券时报》旗下新媒体,券商中国对该平台所刊载的原创内容享有著作权,未经授权禁止转载,否则将追究相应法律责任。

责编:陈书玉

券商中国是证券市场权威媒体《证券时报》旗下新媒体,券商中国对该平台所刊载的原创内容享有著作权,未经授权禁止转载,否则将追究相应法律责任。



