

医美贷监管趋严背景下,这家医美公司拿下了网络小贷牌照?
一则工商信息变更,显示了通联支付旗下的一家可面向全国展业的网络小贷牌照已经易主,而新股东一方,是来自有互联网医美赴美上市第一股—新氧医美。
对于该笔股权变更,11月22日下午,券商中国记者联系到了解该笔交易人士,对方向记者证实,“通联支付因为战略发展需要,确实已经对外转让通华小贷全部股权”,同时对方也告知,通华小贷主营网络贷款业务,与作为支付机构的主体,“业务线彼此独立,自有团队运营”。
数位业内人士对此在接受券商中国记者采访时称,作为全国性的网络小贷公司,牌照价值仍然稀缺,不排除新氧医美打通牌照之后开展相关场景消费金融业务;不过,按此前《网络小额贷款业务管理暂行办法(征求意见稿)》的要求,50亿实缴资本的增资要求、新监管环境下业务前景不明朗带来的牌照价值缩水,对接盘牌照方来说,挑战也不小。
一则股权变更,显示这家“网红”医美公司正拿下了网络小贷牌照,而原股东方已悉数退出。

国家企业信用信息公示系统显示最新股权变更
券商中国记者在国家企业信用信息公示系统看到,上海嘉定通华小额贷款有限公司(以下简称通华小贷)发生工商变更,新增股东新氧(中国)网络科技有限公司、北京新氧科技有限公司、北京新氧万维科技咨询有限公司,分别持股5%、15%、80%。
记者通过天眼查股权穿透图看到,上述新氧(中国)网络科技有限公司、北京新氧万维科技咨询有限公司均为新氧香港有限公司全资所有,北京新氧科技有限公司注册资本(认缴)3000万元,为新氧医美高管邵珲、金星等高管持有。
比如,北京新氧科技有限公司于2013年11月08日成立,法定代表人金星,注册资本为354.71万元。公司经营范围包括技术推广服务、医院管理(须经审批的诊疗活动除外)、医学研究(须经审批的诊疗活动除外)、组织文化艺术交流活动(不含演出)等。公司由邵珲持股59.73%,金星持股37.75%,于涛持股2.52%。公司对外投资企业共12家。
从股权结构来看,这也意味着,于2019年5月在海外上市、有互联网医美第一股之称的新氧医美完全拿下了通华小贷——这家可以在全国范围内开展网上贷款业务的公司。
11月22日,记者致电通华小贷官方联系方式截至发稿未获得接听。据其官网,通华小贷是一家面向全国开展网上贷款业务,专注于微型金融业务市场,于2016年12月获得监管部门批复筹建,2017年注册成立,经营期限为“永久”,实缴注册资本2亿元。
“作为全国性的网络小贷公司,牌照的价值当然稀缺,不过,新氧医美要‘吃下’这张牌照,下一步首先是还要补齐注册资本,一次性实缴注册资本至少是10亿元起步。”华东一家金融科技中概股平台资深业务人士告诉券商中国记者。
这一补缴资本要求背后是监管政策新规:2020年11月2日银保监会和央行联合发布《网络小额贷款业务管理暂行办法(征求意见稿)》(下称《征求意见稿》)明确,经营网络小额贷款业务的小额贷款公司的注册资本不低于人民币10亿元,且为一次性实缴货币资本。跨省级行政区域经营网络小额贷款业务的小额贷款公司的注册资本不低于人民币50亿元,且需为一次性实缴货币资本。
券商中国记者不完全统计,截至目前,获得监管批复可在全国范围内展业的网络小贷牌照约282张,其中上海地区约14张,牌照“稀缺性”仍在,原股东为何悉数退出?
官网显示,通华小贷法定代表人为汪献云,公司经营范围为发放贷款及相关的咨询活动。股权变更前,通华小贷由上海通华金科投资控股有限公司持股70%,上海通华商业保理有限公司持股20%,上海通联银华支付网络服务有限公司持股10%。
而通过股权穿透可知,上述三家公司的股东方有老牌支付机构——通联支付,全称通联支付网络服务股份有限公司(简称通联支付)成立于2008年10月,是首批获得央行颁发第三方支付牌照的老牌支付机构,总部在上海。
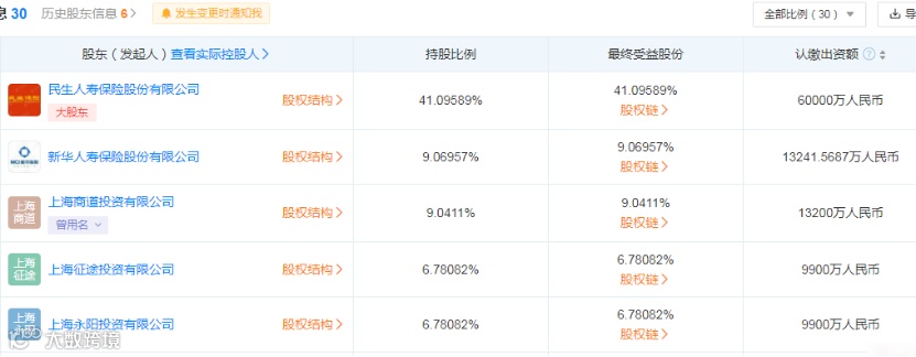
工商股权信息显示,通联支付当前的第一大股东是民生人寿保险,持股比例为41.1%;新华人寿保险为第二大股东,持股比例为9.07%;上海商道投资为第三大股东,持股比例为9.04%。天眼查显示,通联支付在此前最大股东一直是中国万向控股有限公司,今年5月,万向控股退股通联支付。
上述上海通华金科投资控股,据其官网资料介绍,“截止目前已在多个金融板块布局拓展,主要包括普惠信贷、普惠理财和大数据服务等,涵盖商业保理、小微贷款、消费分期、量化基金、标准理财产品销售、非标理财产品交易平台、大数据征信、金融IT外包等业务。”

通联支付持股5%以上股东
上述金融科技平台人士的看法是,“如果按监管要求(上述征求意见稿)补缴注册资本,对规模实力一般的公司压力不小;不排除业务上做了调整。”记者不完全统计,上述282家全国网络小贷牌照中,注册资本在5亿元以上的牌照不足90张。
而另一家华北网络小贷公司资金运营资深人士也有类似分析,50亿实缴资本的增资要求、新监管环境下前景不明朗带来的牌照价值缩水都有可能是退出原因,“《征求意见稿》早过了一个月的意见反馈期,目前正式监管文件还没未下发,情况(资金门槛、时间期限)不明朗,但(监管)基本已经定调,设置三年整改期。”
这则“静悄悄”的股权变更引发市场关注,一个重要原因是,相关官方近期对医美贷监管正呈趋严态势。
券商中国记者此前曾有报道,今年8月中旬,上交所和深交所先后发出通知,要求在交易所新挂牌的消费金融资产证券化产品(ABS),底层资产中禁止“医美分期贷款”入池。
市场监管总局近期也公告指出,医美行业乱象丛生,在利益的驱动下,一些医美机构在消费者中制造“容貌焦虑”“身材焦虑”情绪,警示行业虚假宣传、过度宣传等问题凸显现象。
不过,在数位市场人士看来,作为消费金融的一大场景业务之一,医美贷(医美分期)仍然是较好的资产业务。“消费群体信用较为优质,且多为连续频次消费,所以合作资金方的资金成本往往较低,费率不低的话,利润率就很高。”上述金融科技平台人士告诉记者,近年随着监管趋严,机构(资金方)合作医美分期产品已经较少,不排除新氧医美打通牌照后自营(该业务)。
2019年5月,新氧医美赴美上市,上市首日市值达18.23亿美元;不过上市后受经营环境、政策环境变化,股价跌跌不休,wind显示最新总市值已较上市首日蒸发了近四分之三。

最新财报显示,今年第三季度,新氧实现营收4.32亿元(人民币,下同),同比增长20%,归母净利润680万元,同比增长649.5%。营收构成中,新氧信息服务和其它业务的收入约3.7亿元,同比增长39.2%;但由于疫情受控,消费者热情不及以往,新氧的预定服务业务收入同比减少34.3%至6170万元。
截至三季度末,新氧平台第三季度的付费医疗机构数量达4841家,同比增长18.2%;订阅信息服务的医疗服务提供商数量为2242家,而2020年第三季度里为2146家;购买预订服务的用户总数为17.42万人,平台促成的医疗美容交易总额为7.554亿元。
11月15日,新氧数据颜究院与《罗博报告》、益普索联合调研并发布《2021优质生活报告白皮书》,该报告认为高净值人群医美消费开支仍然潜力不小:56%的高净值人群体验过医美项目,44%没有体验过医美项目的人群中,22%有意愿尝试医美消费。医美用户及潜在医美用户占比超过7成;年消费低于1万元的比例超过52%,90%的受访者每年医美花费在5万元以下。

责编:李雪峰
百万用户都在看
中纪委最新通报!光大交易银行部总经理被查,已是第3位被查干部,什么情况?四大行年内至少11名高管被查
突然爆发!2.5万亿赛道嗨了,王传福喊话引爆?广州车展释放重磅信号,2000亿超级市场启动,新风口来了?
重磅!美联储主席人选敲定,拜登更有关键动作!美股应声大涨!"大基金"管理公司原副总被查,影响多大?
独董变天?!知名经济学家刘纪鹏突然辞任独董,发生了什么?目前仍在4家公司任职,去年年薪超百万
6万亿赛道突然狂飙!英国、美国又出刺激政策,一则预期引爆万亿"宁王",100亿被动资金即将买入?

券商中国是证券市场权威媒体《证券时报》旗下新媒体,券商中国对该平台所刊载的原创内容享有著作权,未经授权禁止转载,否则将追究相应法律责任。

责编:李雪峰

券商中国是证券市场权威媒体《证券时报》旗下新媒体,券商中国对该平台所刊载的原创内容享有著作权,未经授权禁止转载,否则将追究相应法律责任。



