
来源:e公司 ID:lianhuacaijing
1月14日晚间,据红星新闻、每日经济新闻等媒体报道,贵州茅台酒销售有限公司(以下简称茅台销售公司)董事兼总经理曾祥彬,已于2021年12月7日坠亡,年仅49岁。至于其坠亡原因, 有接近曾祥彬的知情人士透露,曾祥彬工作压力太大。

图据茅台时空
资料显示,曾祥彬出生于1973年,仁怀市茅台镇人,1993年8月参加工作,先后任贵州茅台酱香酒营销有限公司总经理助理、贵州茅台酱香酒营销有限公司董事兼副总经理等职位。
通过贵州茅台官网查询,曾祥彬出现在2016年12月19日的一则公司新闻中,彼时,茅台王子酒千人订货活动答谢晚会在深圳会展中心举办,身为茅台酱香酒营销公司副总经理的曾祥彬出席此次会议。在此次晚会中,主办方现场准备了丰厚的礼品,特等奖为奥迪A6L一台。

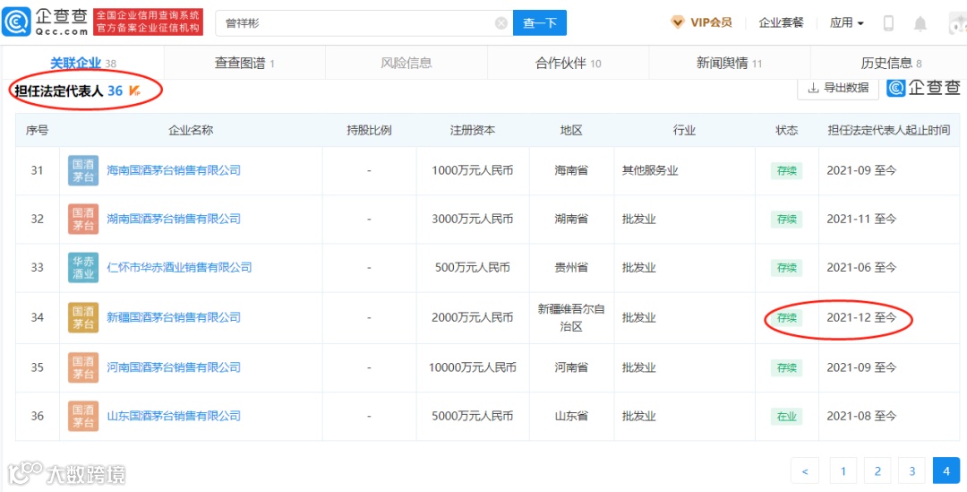
据企查查数据显示,曾祥彬担任着36家公司法人代表,包括北京、上海、广东、四川等各省市国酒茅台销售有限公司。其中,曾祥彬刚于2021年12月担任新疆国酒茅台销售有限公司法人代表一职。2021年5月24日,曾祥彬被新增进入茅台销售公司高管层,后任董事兼总经理的职务;进一步来看,贵州茅台(600519)和中国贵州茅台酒厂(集团)有限责任公司,分别持有茅台销售公司95%和5%的股份。


对于社会大众来讲,操盘着一瓶难求的贵州茅台酒卖方市场,身为茅台营销公司的老总能有多大的压力?
就在2021年的最后一天,贵州茅台才发布了2021年度生产经营情况公告,经初步核算,预计实现营业总收入1090亿元左右、净利润为520亿元。
上述业绩预期将意味着贵州茅台营收总额首次突破千亿元大关,且营业收入和净利润均实现超过11%的同比增长,由此将超额完成2021年营业总收入同比增长10.5%的经营目标。
需要指出的是,2021年度,贵州茅台产量有了大幅提升。其中,生产茅台酒基酒5.65万吨左右,同比增幅或超过12%。从资本市场来看,纵观2021全年,贵州茅台股价从1980.69元开启,再到2050元结束,区间股价上涨3.5%,保持平稳。
近年来,贵州茅台经营业绩持续稳定增长,2020年度上市公司完成营业总收入979.93亿元,同比增长10.29%;实现归母净利润466.97亿元,同比增长13.33%。在2017年~2019年期间,贵州茅台业绩增速迅猛,分别实现营业收入为610.6亿元、772亿元和888.5亿元,同比增长52.07%、26.43%和15.1%;分别实现净利润272.2亿元、352亿元和412.1亿元,同比增幅则为61.97%、30%和17.05%。
根据最新公告披露,2021年度,贵州茅台生产茅台酒基酒5.65万吨左右,系列酒基酒2.82万吨左右;预计实现营业总收入1090亿元左右(其中茅台酒营业收入932亿元左右,系列酒营业收入126亿元左右),同比增长11.2%左右;预计实现净利润520亿元左右,同比增长11.3%左右。
证券时报·e公司记者注意到,从产品来看,2020年贵州茅台酒产量全年产量为5.02万吨,彼时仅同比增长0.63%;对比最新披露的5.65万吨,2021年茅台酒基酒产量则同比增长12.55%,这主要用于酿造飞天茅台产品。在茅台系列酒方面,2020年产量则为2.49万吨,同比下滑0.78%;对比2021年系列酒基酒2.82万吨数据,该品类产品同比增长13.25%,主要代表品牌茅台王子酒、汉酱酒、赖茅酒。
对于茅台来讲,2021年还迎来了换帅的重大时刻,根据贵州省人民政府相关文件,丁雄军接替高卫东担任贵州茅台新“掌门人”,而高卫东仅掌舵贵州茅台不到一年半时间。
作为贵州茅台新任掌舵者,70后的丁雄军在武汉大学毕业后,继续攻读硕士、博士研究生,随后一直在贵州工作,此前职位为贵州省能源局党组书记、局长。
2021年9月24日,贵州茅台召开了2021年度第一次临时股东大会,首次以新身份亮相的丁雄军进行了“让品质成为信仰,让历史鉴证未来”为主题的演讲,向股东和股东代表传递了企业未来发展的方向信号。贵州茅台将积极推进营销体制和价格体系改革,着力规范原有渠道,探索发展新零售渠道,优化品牌价格体系;着力让茅台酒回归商品属性,保持茅台酒供需紧平衡;并推动数字化赋能,建立CRM系统,给消费者提供平等机会。
据12月25日华鑫证券发布的研报指出,当前贵州茅台散茅批价维持在2500元以上,整茅批价维持在3000元以上,相比最高价整茅批价3800元,已明显回落。随着新帅丁雄军的就任,茅台已主动梳理市场和渠道,近期更是提出不再强制拆箱6瓶装的茅台,并推出12瓶一箱的茅台供拆箱使用。整茅批价出现明显回落,与散茅的价差明显收窄,整茅6瓶装不在强制拆箱将更好满足消费群体收藏兼具饮用需求。
根据十四五规划,茅台公司将形成茅台酒5.6万吨、系列酒5.6万吨产能规模。这就意味着,贵州茅台未来销量不超过6万吨,其稀缺属性仍将长期存在。
责编:罗晓霞

券商中国是证券市场权威媒体《证券时报》旗下新媒体,券商中国对该平台所刊载的原创内容享有著作权,未经授权禁止转载,否则将追究相应法律责任。



