
近日,投资者交流交易平台雪球公司(xueqiu.com)对“雪球结构产品”进行维权一事在金融圈发酵。
雪球公司日前向数十家用“雪球”命名旗下金融产品的机构递送了律师函,敦促这些机构立即变更产品名称,不再使用“雪球”字样。
券商中国记者独家获悉,截至5月20日,已经有多家机构陆续回应,书面或口头向雪球公司作出承诺,表示会立即删除其金融产品名称中使用的“雪球”字样,并且日后不再在金融产品或服务上使用“雪球”或者与“雪球”近似的字样以及进行相关宣传推广。
自资管圈网红“雪球结构产品”近年走红以来,与其同名的雪球APP就陷入了“苦恼”之中。由于名称相同,不少普通投资者乃至机构投资者都错把“雪球结构产品”当成是雪球公司出品的理财产品。
公开资料显示,雪球公司成立于2010年,起步于投资者社区,经过十余年的发展,已成为综合性线上财富管理平台,广大投资者在雪球上进行投资交流和交易。目前雪球已经拥有4800万投资类用户。
而“雪球产品”是对带有雪球结构收益特征产品的俗称。普通投资者接触的雪球产品实际是资产管理机构发行的各类资产管理产品,形式包括信托产品、私募基金、资产管理计划等。“雪球结构”本质上是一种奇异期权,设置有敲入敲出条件,最后的收益取决于挂钩标的资产的表现和敲入敲出事件是否发生。
记者查询“雪球”官方微信推文发现,自2021年6月以来,雪球公司官方已经近十次在其官微申明,“雪球结构”并非雪球旗下产品。

(雪球公司微信公众号曾多次发布声明称“雪球结构”非公司旗下产品)
就在近期,雪球公司宣布对“雪球结构”采取法律行动。记者获悉,5月13日起,雪球公司已向数十家用“雪球”命名旗下金融产品的机构递送了律师函,敦促这些机构立即变更产品名称,不再使用“雪球”字样。
2022年5月17日,雪球公司发布声明称:市场上部分机构所发售的自动赎回型期权产品上冠以“雪球结构”的名字,涉嫌侵犯雪球公司的商标权益,可能引起投资者的混淆和误认,损害雪球用户和广泛的投资者的利益。对此,雪球已经采取法律行动维护公司权益和投资者利益。
周末,券商中国记者独家获悉,在律师函发出后的一周内,截至5月20日,已经有多家机构陆续回应,书面或口头向雪球公司作出承诺,表示会立即删除其金融产品名称中使用的"雪球”字样,并且日后不再在金融产品或服务上使用“雪球”或者与“雪球”近似的字样以及进行相关宣传推广。
代理雪球公司该案件的己任律师事务所合伙人赵克峰向券商中国记者表示,上述机构承诺停止在金融产品名称中使用“雪球”字样,是尊重注册商标专用权的表现,有助于减少混淆误认。雪球公司也表示,呼吁尚未采取更正措施的机构,从保护知识产权和规范行业治理的角度出发,尽快采取更正措施。
雪球公司在5月17日的声明中表示,雪球于2015年12月3日在第36类“金融服务、基金投资、资本投资”等服务上申请 “雪球”商标,并于2017年9月21日获准注册,有效期至2027年9月20日。也就是说,“雪球”商标目前仍处于有效注册状态,雪球的商标专用权是受到《商标法》保护的。

(雪球公司向金融机构发出的律师函首页)
北京市律师协会商标委员会副主任、高文律师事务所合伙人商家泉表示,注册商标享有商标专用权和禁用权。在专用权方面,只有商标权人能够使用其注册商标来标示指定商品、服务的来源;在禁用权方面,他人未经商标权人许可,不得在指定产品和服务上突出、显著地使用他人注册商标用以指代自身产品或服务,否则就容易导致消费者混淆,侵害他人商标权益。
他指出,雪球公司基于其注册商标,对“雪球”商标享有商标专用权和禁用权,非授权使用的行为涉嫌侵犯商标权。
记者从专业法律人士处了解到,《商标法》规定,未经许可不得使用与注册商标相同或相似的标志。金融机构在产品的名称中使用“雪球”字样,有可能违反《商标法》第五十七条、第六十条等相关规定。而根据《商标法》的规定,侵犯他人商标权的,可能承担停止侵权、赔偿损失等法律责任。
根据证券业协会和中证报价的统计数据,截至2022年2月末,“雪球结构”存续规模约为1500亿元,主要集中在股票指数。其中,挂钩中证500指数的产品规模约为1100亿元。
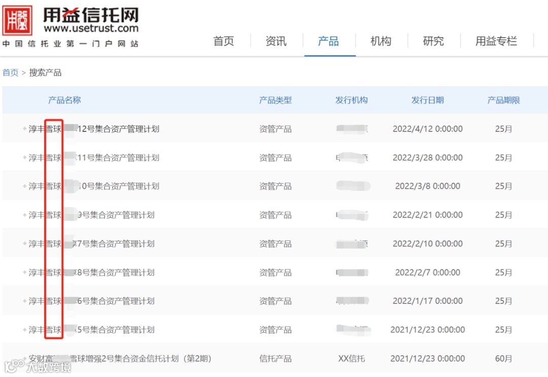
券商中国记者注意到,目前市面上在产品名称中采用“雪球”命名的“雪球结构”产品不在少数,包括不少大型银行、券商、信托公司均在产品名中带有“雪球”二字。

(某银行理财子销售的雪球结构产品)

(用益信托网上搜得的名称中带有“雪球”的雪球结构产品)
记者采访业内发现,对于在产品中使用“雪球”是否侵权,部分机构人士有不同意见。
有衍生品相关人士向券商中国记者表示,国外这类产品被叫做“autocallable产品”(自动赎回型产品),而雪球(snowball autocall)是其中的一个品类,翻译成中文就叫“雪球”。
另有券商衍生品人士向券商中国记者表示,“雪球”只是一个俗称,在法律文本中为“自动敲出期权”。“就好比小米、苹果是生活中常见的事物,使用后并不用担心这两家上市公司来维权。”该人士说道。更有业内人士指出,投资圈素有“滚雪球”的说法,是约定俗成的,这样的“商标维权”更多只是种噱头。
券商中国记者注意到,在金融机构中,除了“雪球结构产品”以外,也有一些金融机构的产品名称中包含“雪球”字样。
比如兴业银行及兴银理财针对企业客户推出的全系理财产品均命名为“金雪球”。

(图片来源:兴业银行官网)
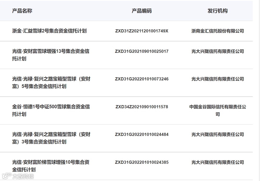
又如,记者在中国信托登记有限责任公司官网查询到,产品名称中带有“雪球”二字的信托产品多达百余只,但也并非所有产品均为“雪球结构产品”。

(图片来源:中国信托登记有限责任公司网站)
雪球公司对其商标进行维权的结果如何,会不会有更多家大型机构在产品名称上进行妥协,今后金融产品名称中的“雪球”字样是否会就此成为历史,仍需拭目以待。
归根到底,雪球公司之所以多次发布申明,并且发律师函维权,在于雪球结构产品属于金融衍生品,是有极高投资风险的。而此前一些机构在销售“雪球结构产品”时,也带有一些误导性,使投资者误以为该产品是类固收产品,以为其收益能单纯的“越滚越大”。
事实上,记者了解到,今年4月底,由于市场行情大幅震荡,市场上主流的挂钩中证500指数的雪球结构产品大规模发生敲入。而指数大幅下跌之后,产品触发敲出点的概率变小,因此,投资者亏损的概率就加大了。
2021年以来,伴随着雪球产品这类新鲜事物的快速走红、规模上升,监管的脚步也稳步跟进,监管部门曾多次发文规范雪球产品的发行与宣传。
2021年8月,监管部门要求强化雪球产品的风险管控,提醒各证券公司应持续强化风险意识,切实加强相关业务条线的合规风控体系建设。该文件提到,在销售底层资产为雪球产品的资管产品过程中,也应该谨慎使用“保本”、“稳赚”等词汇片面强调收益来诱导投资者购买。
而在今年8月1日即将施行的《期货和衍生品法》中,衍生品交易也会纳入法律监管范围。
责编:李雪峰
全球警报!英国出现猴痘社区传播,病毒已进化?世卫:已发生人际传播!中国巨头接连抄底,市场怎么走?
一个月血本无归,币圈爆雷"炸"伤了谁?谨防"归零风险",远离致败投资!不要幻想自己不是最后接棒者




