来源:中国基金报 泰勒
罗永浩老师的“真还传”可能真的大结局了!
12日深夜,罗永浩发文称:一眨眼竟然快十三年了,过得真快啊。明天我就正式退出微博和所有的社交平台,再次埋头创业去了。

据交个朋友透露,未来几年原则上不会再接受媒体采访,罗永浩希望通过此举排除外界的干扰,“埋头从事下一代智能平台产品的研发”。同时,罗永浩个人新开“产品经理罗永浩”的微博,仅限业务相关的交流和辟谣。
据新浪科技报道,罗永浩将埋头开启的创业方向属于AR领域,罗永浩称AR 是下一代计算平台,想在 AR 时代抢先做出一个像 2007 年的 iPhone + iOS 一样的东西,成为下一个平台上类似苹果一样的公司。他称自己在产品层面有把握胜出,但这种平台级的战争,仅靠好产品是不够的,因此也做好了被大公司收购的准备,实在不行,就做AR时代的华米OV。罗永浩将把一切都搭进去创业,并言明这是最后一次机会,相信一定会给这个世界留下一些东西。
早在6月7日,罗永浩宣布将退出“交个朋友”管理层,工作重点转移至AR创业项目上。“交个朋友”公司在昨日举行了一场线上内部讲话,罗永浩宣布将退出公司管理层,工作重点转移至AR创业项目上。同时,罗永浩表示不会完全离开公司,未来依然会在交个朋友直播间进行每月两到三场直播带货。
而6月2日,“罗永浩”的抖音账号就已正式升级为“交个朋友直播间”,继续由北京交个朋友数码科技有限公司运营。账号头像也从罗永浩单人照片换成了“交个朋友”主播团队,合照C位则是“交个朋友”的创始人黄贺。
此前,有消息称,罗永浩将与交个朋友直播间“分手”,并拿走1亿多分手费。对此,交个朋友创始人黄贺回应称,罗永浩并不是完全淡出直播行业,之后仍会回直播间做直播,频次大概是一周一次。
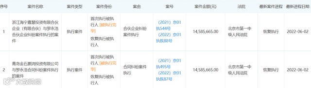
6月6日,司法信息显示,罗永浩近日新增两条被执行人信息:其中一条执行标的为14585665元,案由罗永浩与青岛金石灏汭投资有限公司的合同纠纷案;另一条执行标的14585665元,案由罗永浩与浙江海宁嘉慧投资有限合伙企业纠纷案。两条执行标的合计超2900万元,执行法院均为北京市第一中级人民法院。

对此,@交个朋友直播间 发文回应称,这两个案子是锤子科技经营手机业务期间产生的公司债务,目前该笔债务已经按预定的支付计划处理完毕。法院恢复执行的目的是进行结案程序处理,后续还会有类似情况出现。目前罗老师还在努力工作并按计划替公司偿还剩余债务,感谢大家的关注。
早在2021年的10月,罗永浩表示:“我明年春天就重返科技行业了。”同时他还强调,是还完债的当天就会回去。而如今12日深夜的“再次埋头创业去了”,是不是也间接暗示,债务已经全部还清?

2012年,罗永浩创办了锤子科技。
从2018年下半年开始,锤子科技的危机爆发,锤子科技最多时欠了银行、合作伙伴和供应商约6个亿的债务。而他签了个人无责任担保的1个多亿。2019年11月,罗永浩曾因债务问题被丹阳市人民法院下发限制消费令。在“还债”期间罗永浩也曾多次尝试创业,从聊天宝到小野电子烟,再到“鲨鱼皮”,但都是收效甚微。他甚至被戏称为“风口克星”,干一行,垮一行。后来,“自带流量”的罗永浩转行到直播带货行业,终于找准了发力方向,效益也比较可观。
2020年4月,罗永浩转行到直播带货行业,从此也正式找准方向。
2020年底,在综艺节目《脱口秀大会》第三季上,罗永浩上演脱口秀首秀,并公开表示其始于2018年年底的6亿债务已还清4亿,剩下的预计一年内还清。

今年1月,罗永浩公开表示,“(债务全部还完)我们肯定会第一时间自己公布的,毕竟我们自己比任何人都着急完成这件事,感谢大家关注”。老罗的积极还债也收获了诸多网友肯定,很多网友在交个朋友直播间微博下留言:“期待‘真还传’大结局”。
责编:王璐璐
啥情况?中信证券目标价被多家同行调低,甚至被下调评级…这些券商却坚持"买入"
牛市来了?三根阳线改变信仰,投资果真如此?如何体验百倍收益、万倍涨幅?问问畅饮过"时间复利"的人




