

在马太效应被反复提及的证券行业,上半年资管业务集中度却在同比下降。
2022年,证券市场波动仍在持续,券商资管产品收益率一度集体承压。尽管市场在二季度后有所回暖,但根据中证协数据,上半年全行业资产管理业务净收入133.19亿元,同比下滑7.94%。同时,券商中国记者统计发现,上市券商资管业务净收入TOP10的集中度从去年同期的82.45%,下滑至78.59%,显示逆市背景下,头部券商资管或首当其冲。
此外,多家券商资管在接受券商中国记者采访时均表示,从大类资产配置角度看,债券资产估值回调风险在积聚,股债性价比逐步向权益倾斜。对下半年权益市场行情保持谨慎乐观态度,面对波动加剧、风格轮动频繁的情形,投资应当回归对企业基本面的判断。
以41家上市券商为样本,对比中报合并口径下的资管业务手续费净收入(简称“资管业务净收入”,下同),可以大致窥见券商资管业务的整体面貌。Wind数据显示,上半年共有24家上市券商资管业务净收入同比增加,占比约六成,表明近半上市券商资管业务压力颇大。

具体而言,上半年共有11家上市券商资管业务净收入超过5亿元。其中,中信证券和广发证券资管业务净收入分别为54.34亿元和44.19亿元,稳踞第一梯队,与其他券商拉开了较大差距;华泰证券、东方证券和海通证券则组成第二梯队,资管业务净收入分别为16.69亿元、13.95亿元和10.86亿元;中金公司、财通证券、申万宏源等6家上市券商资管业务净收入亦超过5亿元关口。
但若以业务增速来看,则可以看到在5家10亿元以上资管业务净收入的上市券商中,除华泰证券实现了13.51%的增长外,其余4家均同比下滑,下滑幅度最大的甚至达到了40.72%。反倒是部分中上游券商资管业务进步明显,例如光大证券和天风证券上半年资管业务净收入分别为6.58亿元和5.10亿元,同比增幅分别为57.9%和78.97%。
这一变化也意味着,头部券商资管的业务集中度正在下滑。据券商中国记者统计,今年上半年上市券商资管业务净收入合计为219.92亿元,其中TOP10的资管业务净收入合共172.84亿元,占比约78.59%。而在去年同期,这一比例为82.45%,相当于同比减少了3.86个百分点。
在头部券商资管的市占率缩水的同时,部分中小型券商开始奋起直追。Wind数据显示,上半年中泰证券、西部证券、太平洋、东北证券4家上市券商资管业务净收入同比均实现翻倍,其中中泰证券资管业务净收入同比增长162.02%,一举拿下了2.82亿元的资管业务净收入。
上半年市场行情大幅波动带来的受托管理规模缩水,被认为是券商资管业务收入下滑的主要原因,但这一趋势近期正在有所好转。中基协数据显示,截至6月底,证券公司及其资管子公司平均管理私募资管业务规模为749亿元,相比于2021年12月底的818亿元,大幅减少69亿元。但截至7月底,这一数据已回升至775亿元。
2022年,资管新规正式实施,资产管理行业全面进入净值化管理的阶段。境内外环境的复杂多变、资本市场的波动加剧、监管政策的不断细化与完善,使得资产管理机构的挑战与机遇并存。
面对上半年复杂的行业环境,部分券商资管业务却实现了逆市增长。例如中泰证券表示,其资产管理业务实现营业收入3.27亿元,同比增长67.28%,主要是资产管理业务公募化转型取得新进展,业务结构进一步优化,资产管理规模及收入稳步提升。
华泰证券则提到,上半年华泰资管继续向主动管理方向发展,积极构建规模化、差异化且覆盖不同风险收益特征的产品体系。包括集合资产管理业务有效落实新规转型,单一资产管理业务加快发展净值型委外业务,专项资产管理业务持续推进产品创新,公募基金管理业务积极打造针对投资者不同流动性需求的净值化理财解决方案等。
天风证券则透露,其依托成立不久的天风资管持续加强投研能力和团队建设,提升主动管理能力,致力于为客户提供多层次、全方位、高品质的资产管理服务,建立了覆盖由低到高不同风险收益特征的丰富产品线。报告期内,其资管业务实现营业收入5.01亿元,较上年同期增长51.82%。

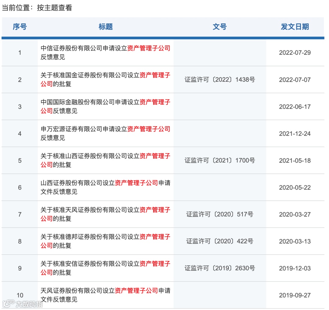
此外,证监会网站信息显示,自2019年年底安信证券获批设立资管子公司后,一度中断了近四年(2016年1月至2019年12月)的券商资管子的设立正在逐渐热门起来。今年以来,华安证券、国信证券、国联证券、长城证券陆续提请设立资管子公司;国金资管已于7月7日拿到证监会的核准批复;中信证券和中金公司两家龙头的资管子设立申请,也在近期相继进入了反馈意见阶段。在资管行业监管政策导向的鼓励下,未来券商资管子公司或有望迎来一轮明显扩容。
“当前A股市场的下行风险已经得到较为充分的释放,尽管短期受美联储加息、新冠肺炎疫情等不利因素影响,仍有可能出现一定反复,但如果从未来1-3年的时间周期去看,中国权益资产的性价比已经高于债券资产。”华鑫证券资管多元资产投资部总经理肖龙敏认为,以沪深300、上证50指数为代表的大盘蓝筹股的配置价值尤其值得重视。
华鑫证券MARMS多资产风险监控系统数据显示,经过7月份以来的二次探底之后,主要A股市场指数的风险溢价水平(ERP)均已再次回到历史最高75分位的位置,沪深300、上证50等大盘指数调整幅度大于中证500、中证1000等中小盘指数,前两者风险溢价甚至已经接近今年3月份俄乌战争和2020年3月疫情首次暴发时候的位置,表明市场价格已经基本反应了较为悲观的预期,安全边际开始逐步显现。
国联资管最新观点也认为,综合来看,未来债券资产估值回调风险在积聚,股债性价比已逐步向权益倾斜。受制于地产拖累和疫情扰动,中国经济从低谷迈入复苏尚需时日,在此之前货币政策仍大概率会保持宽裕状态。基于这一背景,权益市场很难步入全面的熊市,可能仍将体现为结构性行情。
从结构上来看,今年主线并不清晰,经济结构调整带来的是资本市场的轮动演绎,专注题材类的资金表现得相当活跃,“快进快出”地追逐着各类机会——半年报出炉前持续埋伏入场,半年报公布后迅速卖出,即便对待经营业绩非常优秀的公司也是如此。这表明,价值投资者失去了部分话语权,这是市场脆弱性的表现。
国联资管强调,在这样的背景下,更宜回归对企业基本面的判断。建议聚焦于技术含量高的高端制造业领域,侧重挖掘景气赛道上下游产业链中具有核心技术的相关标的,如光伏、新能源车、军工产业链等,追求更具业绩“确定性”及“可持续性”的标的。
海通资管则针对上市公司半年报指出,从沪深两市上市公司的中报披露情况看,整体归母净利润增速处于个位数水平,较一季度增速预计将出现进一步下滑,一半以上的企业利润负增长,高增长部门稀缺,业绩高增速的中小企业多数为新能源业务相关。二季度后A股基本面修复斜率将相对和缓,倾向于弱复苏。
从结构上看,“含车量”兴起,“含房量”回落,医药食品韧性足。半年报业绩增速较快的集中在新材料、上游资源品、新能源车、光伏风电等高端制造以及整车汽零等板块,医药和必选消费居中,金融和地产板块业绩不佳。展望后期,考虑到国际能源危机、地缘政治风险引致的海外产业链、供应链的脆弱性,预计中国制造业体系完整、品类齐全的优势将进一步得以发挥,对权益市场保持谨慎乐观态度。

责编:李雪峰
校对:赵燕
腾讯突传千亿大动作!美国再出狠招,2万亿巨头狂跌近7%!32万亿大溃败,巴菲特弃子预警:"裂缝"已现
嗅到了什么?巴菲特连续抛售比亚迪,持有14年为何不再坚守?追逐热门股或是投资"黑洞",谨记远离这类股



