
主板在审IPO项目平移后的首批受理名单出炉!
2月20日,证监会的主板在审项目正式开始平移。当日晚间,沪深交易所官网更新首批受理情况,截至22:00,两地交易所共受理16家主板在审IPO项目的平移申报。
值得一提的是,交易所对在审IPO企业的受理顺序,不作为审核顺序,交易所将按该企业在证监会的审核阶段和受理顺序接续审核。
2月20日,沪深交易所开闸受理证监会在审项目的平移申报。当天晚上,交易所马不停蹄加班,更新首批受理信息。
根据上交所官网显示,当天共有7家主板在审IPO企业获得受理,分别为常青科技、中重科技、江盐集团、万丰股份、柏诚股份、恒尚股份、中信金属。

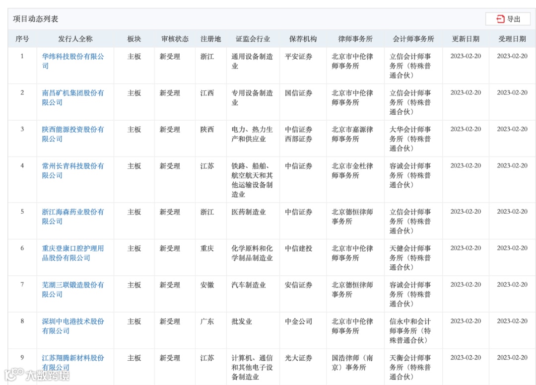
深市方面,当天共有9家主板在审IPO企业获得受理,分别为华纬科技、南矿集团、陕能股份、长青科技、海森药业、登康口腔、三联锻造、中电港、翔腾新材。

从行业分布情况来看,首批受理的16家IPO企业中,来自“化学原料和化学制品制造业”最多,共有4家;“批发业”以及“专用设备制造业”各有2家。
从业绩来看,根据记者对上述16家企业的统计,共有7家IPO企业2021年扣非净利润超亿元,其中,中信金属2021年扣非净利润达到15.29亿元。三联锻造和长青科技扣非净利润规模均相对较小,分别为6676.15万元、6559.85万元,而华纬科技2021年扣非净利润规模为5798.80万元。
在保荐机构分布方面,首批受理的企业中,中信证券保荐项目数量最多,达到5家,占比31.25%;光大证券则有2家。
此外,中信建投、中金公司、中航证券、西部证券、申港证券、华泰联合、国信证券、国泰君安、东兴证券、安信证券、平安证券各有1家。

根据证监会对在审主板项目的新老划断安排,全面实行注册制主要规则发布之日起10个工作日内,交易所仅受理中国证监会主板在审企业的首次公开发行股票、再融资、并购重组申请。
如果主板在审企业未在10个工作日期限内申报给交易所的,将被视为新申报企业。
这对于不少券商投行和发行人来说,是一次挑战。根据券商中国记者此前采访获悉,有IPO企业董秘表示,“十个工作日”的期限十分紧张,项目组早在开始准备修改材料,周末也在加班。也有多名券商投行人士表示,有信心按时按质向交易所完成申报,在全面注册制征求意见稿发出后,就已提前按照注册制要求修改材料,至今进度顺利。(详见:《267家在审IPO企业“平移战”开打 投行周末加班加点修改材料》)
值得注意的是,交易所对在审IPO企业的受理顺序,不作为审核顺序。
根据券商中国记者查阅了解到,上述16家IPO企业此前在证监会的审核阶段均为“预先披露更新”。
沪深交易所表示,将基于在审企业在证监会的审核顺序和已有审核成果,按照注册制审核程序和规则,开展审核工作。主板首发在审企业的具体安排如下:

校对:王蔚


