
罕见重罚。
今日,关于10名中国斯诺克球手遭严厉处罚的相关话题,一度冲上热搜榜第一。北京时间6月7日,世界职业台球和斯诺克协会(世台联)正式宣布了曾轰动一时的中国球员集体涉嫌赌球、假球、操纵比赛一案的处罚结果,其中,始作俑者梁文博以及涉案情节较重的李行被终身禁赛,开创了历史先河。
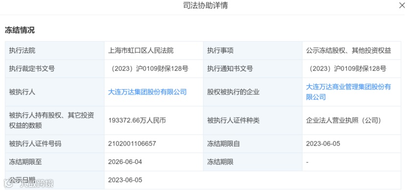
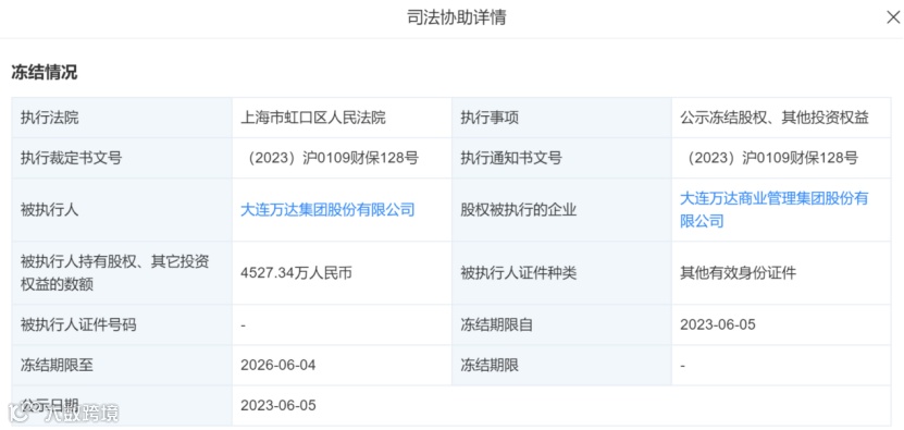
另外,万达的一则股权冻结消息也引发关注。天眼查App显示,近日,大连万达集团股份有限公司新增2则股权冻结信息,股权被执行的企业均为大连万达商业管理集团股份有限公司,被冻结股权数额合计约19.8亿元。
美国方面,2024年的总统竞选传来一则最新消息,当地时间6月6日,美国前新泽西州州长克里斯·克里斯蒂宣布,他将参加2024年的美国总统竞选。克里斯蒂称,他是唯一一个愿意与前总统特朗普正面交锋的人。
10名中国斯诺克球手遭遇严厉处罚,相关话题一度冲上微博热搜第一,截至发稿,“梁文博终身禁赛”话题阅读量超3.1亿。

北京时间6月7日,世界职业台球和斯诺克协会(世台联)正式宣布了对此前被指控操纵比赛的10名旅英中国斯诺克选手的裁决,其中梁文博、李行被终身禁赛,其他相关球员也受到不同时间段禁赛的处罚。
其中,受到处罚最轻的为禁赛时所有中国球员中世界排名最高的赵心童,禁赛截止日为2024年9月1日;另一名被禁赛时排名TOP16的球手颜丙涛禁赛期为5年,其余球手的禁赛期从2年至5年4个月不等。
这次梁文博、李行被处以终身禁赛处罚,也开创了历史先河。以梁文博为例,他被指控涉及操纵多场比赛;接洽多名球员操纵多场比赛;试图阻碍调查;不配合WPBSA(世界职业比利与斯诺克协会)的调查。另一名受到终身禁赛处罚的球手李行受到的指控也差不多,另外还加上一条:在斯诺克比赛中投注。其他球员的处罚结果如下:
赵心童建议禁赛期为2年6个月,实际执行的禁赛期为1年8个月,禁赛截止日为2024年9月1日;
常冰玉建议禁赛期为3年,实际执行的禁赛期为2年;
赵剑波建议禁赛期为3年6个月,实际执行的禁赛期为2年4个月;
白朗宁建议禁赛期为4年,实际执行的禁赛期为2年8个月;
颜丙涛、陈子凡实际执行的禁赛期为5年;
鲁宁实际执行的禁赛期为5年4个月;
张健康建议禁赛4年5个月,实际执行禁赛期2年11个月。
6月7日,中国台球协会表示,高度重视10名职业斯诺克球员在英国参加世界职业排名赛期间操纵比赛结果一事,根据世界职业比利和斯诺克协会调查结果,将对涉事球员做出从严、从重处罚。协会将在全行业开展警示教育,并推出系列举措,将反赌打假进行到底。中国台球协会对于赌球、假球等有违体育道德的行为始终秉持“零容忍”态度,坚决严厉打击赌球、假球等行为,竭力打造公平公正的比赛环境。
另外,万达的一则股权冻结消息也引发关注。
天眼查App显示,近日,大连万达集团股份有限公司新增2则股权冻结信息,股权被执行的企业均为大连万达商业管理集团股份有限公司,被冻结股权数额合计约19.8亿元,冻结期限自2023年6月5日至2026年6月4日。


大连万达商业管理集团股份有限公司成立于2002年9月,法定代表人为张霖,注册资本45.27亿元人民币,大连万达集团股份有限公司为第一大股东,持股比例达52.97%。
另外,5月26日,大连万达商管发布公告,就“多项业绩造假”“出售20家购物中心”等传闻做出澄清。经万达集团与参贷行沟通后,截至本公告发布日,无一家银行提出需万达集团提前还款,该条款暂无触发风险。
大连万达集团是中国最大的商业地产开发商与运营商,万达商管则是集团旗下最核心的资产之一,截至2022年底,万达已在全国累计开业473座万达广场、120个万达酒店、825家万达影城、385家宝贝王乐园。
据万达官网介绍,万达集团创立于1988年,已发展成为以现代服务业为主的大型企业集团,旗下包括商管集团、文化集团、投资集团,其中商业中心、影视、体育、儿童产业等处于世界行业领先地位。目前集团董事长为王健林。
就在前不久,万达集团一度遭遇“裁员风波”,有媒体报道称,万达集团计划在6月前启动大规模裁员,估计比例约30%,高层可能降职降薪、遇缺不补,公司原则上只出不进,以降低人员成本。
对此,万达集团官网发布官方声明:网传万达大规模裁员消息不实。 据澎湃新闻,万达集团表示,万达的确在进行人员优化,涉及到个别部门的压缩,但是没有大规模裁员,有些部门人员还在增加。
据环球时报消息,当地时间6月6日,美国前新泽西州州长克里斯·克里斯蒂宣布,他将参加2024年的美国总统竞选。克里斯蒂称,在目前众多公布竞选计划的共和党人中,他是唯一一个愿意与前总统特朗普正面交锋的人。
据路透社报道,克里斯蒂曾在2016年担任特朗普的竞选顾问,但如今已与特朗普站到了对立面。在宣布竞选的决定时,克里斯蒂直接批评如今的特朗普逃避承担犯错的责任,只关心自己。克里斯蒂称:“一个孤独、自我消耗、自私自利、只知道照镜子的人不是合格的领导者。”
路透社称,到目前为止,克里斯蒂在民调中与特朗普和佛罗里达州州长德桑蒂斯的差距十分明显,他最终可能充当搅局者的角色,这与他在2016年的情况类似。2016年,克里斯蒂在新罕布什尔州初选结果公布后宣布退选,转而成为第一个公开支持特朗普的重量级共和党人。
报道称,其他希望成为共和党总统候选人的人选还包括美国前驻联合国大使尼基·黑利和参议员蒂姆·斯科特,以及前副总统彭斯。
校对:苏焕文
邮箱:bwb@stcn.com


