

最近,外资对于中国股票的“爱”有点儿超乎想象。
昨天晚上,美股中概股集体大爆发,纳斯达克中国金龙指数收盘大涨2.49%,创2023年9月以来新高。次新股课标科技盘中一度涨超180%,收盘时涨幅为104.42%;阿里巴巴收盘涨逾7%,就连昔日“空军主力”香橼也开始唱多。今早港股开盘,继续强势表演。恒生指数高开0.77%,恒生科技指数高开1.55%,阿里巴巴涨逾7%。
然而,还不止如此。“大空头”原型Michael Burry上个季度也加大了对京东和阿里巴巴的押注。他将阿里巴巴的持股从7.5万股增至12.5万股,京东的押注从20万股增至36万股。另一位身价达120亿美元的对冲基金经理大卫·泰珀(David Tepper)更是将最大的持仓集中在科技和中国市场领域,阿里巴巴占投资组合的 12.05%。
比较有意思的是,据QUIVER QUANTITATIVE这家专门从事国会议员股票交易研究的数据网站显示,美国众议员乔什·戈特海默(Josh Gottheimer)于4月30日购买中国公司腾讯的股票。自他交易以来,该股已上涨 18.1%。戈特海默是众议院情报特别委员会和资本市场小组委员会的成员。
投资大佬押注中国资产
近日,知名对冲基金经理大卫·泰珀(David Tepper)的阿帕卢萨管理公司公布了最新的13F持仓文件。该文件突显了科技和中国市场的重大举措,David Tepper的投资组合在本季度迎来了6只新股票:
Adobe Inc以35万股票成为新增股最多的公司,价值约1.7661亿美元,占投资组合的2.61%。
iShares China Large-Cap ETF紧随其后,Tepper买入637.5万股,占投资组合的2.27%,总计约1.5345亿美元。
京东也是值得注意的新增股票,持有364.98万股,价值约9997万美元,占投资组合的1.48%。
泰珀的策略包括加强6只股票的仓位,其中重点关注中国股票:
阿里巴巴被大幅增持690万股,使总股数增至1125万股。此次调整标志着股票数量增加了158.62%,对当前投资组合的影响为7.39%,总价值为8.1405亿美元。
拼多多也被大幅增加,增持132.5万股,使总股数达到210万股。这意味着股票数量增加了170.97%,价值 2.4413 亿美元。
同时,泰珀减持了13只股票,其中,主要是大幅减持科技公司股票:Uber Technologies Inc(UBER,Financial)减持464万股,减少了77.33%,对投资组合影响达4.93%。该股本季度平均交易价格为71.78美元。
对META减持了72.75万股,持仓减少了39.32%,对投资组合影响达4.45%。该股该季度的平均交易价格为446.07美元。
截至2024年第一季末,David Tepper的投资组合包括39只股票。最大的持股主要集中在科技和中国市场领域,阿里巴巴占投资组合的12.05%,其次是亚马逊公司,占10.22%,微软公司为8.72%。其他重要持股包括Meta和英伟达。
资料显示,大卫·泰珀是一位美国富豪商人、对冲基金经理及慈善家。在2019年美国400富豪榜,他以120亿美元的资产排名第39名。他还是美国国家橄榄球联盟卡罗来纳黑豹队的老板。泰珀曾经是高盛垃圾债券服务的负责人,他在辞去合伙人职务后,于1993年创立了总部位于佛罗里达州迈阿密海滩的全球对冲基金阿帕卢萨资产管理公司并兼任总裁。
大空头的意外之举
迈克尔·伯里的季度持仓也已公布。这位有着“大空头”之称的投资者,在周三的季度投资组合更新中透露,在截至3月份的3个月内,他将自己的投资组合头寸从25个减少到了16个。他所持资产的总价值从约9500万美元增至约1.03亿美元。
在此期间,有11家公司的股份得以保留,且这位Scion资产管理公司的老板将其全部增持。例如,他将阿里巴巴的持股从7.5万股增至12.5万股,京东的押注从20万股增至36万股,明星散货船的押注从25万股增至40万股。
伯里还在他的收藏中添加了5种新持股:百度、英国石油公司、第一太阳能公司、斯普罗特实物黄金信托公司和信诺公司。他还出售了一系列股票,包括亚马逊、Alphabet、米高梅度假村、Toast和华纳兄弟探索公司。
Michael Burry以其对市场崩溃和经济灾难的严重警告和严峻预测而闻名。他在2008年金融危机前夕,对房地产泡沫进行了巨大押注,这一赌注在书籍和电影《大空头》中被广泛传播。随后,他又对2021年夏天的“有史以来最大的投机泡沫”敲响警钟,并警告说,迷因股票和加密货币的买家将陷入崩盘危机。
比较有意思的是,曾让中概股闻风丧胆的著名空头机构香橼(Citron Research)最近也在社交媒体上公开唱多阿里巴巴。该机构表示,阿里巴巴正获得动能,投资者将认识到其人工智能(AI)云前景和战略投资,香橼认为阿里巴巴股价有望涨超100美元。在中国的大语言模型(LLM)领域,阿里巴巴的模型是佼佼者。截至昨天收盘,阿里巴巴美股大涨超7%,收报86.7美元。
美国议员都动心了
中国股票的多头氛围似乎让美国议员都动心了。
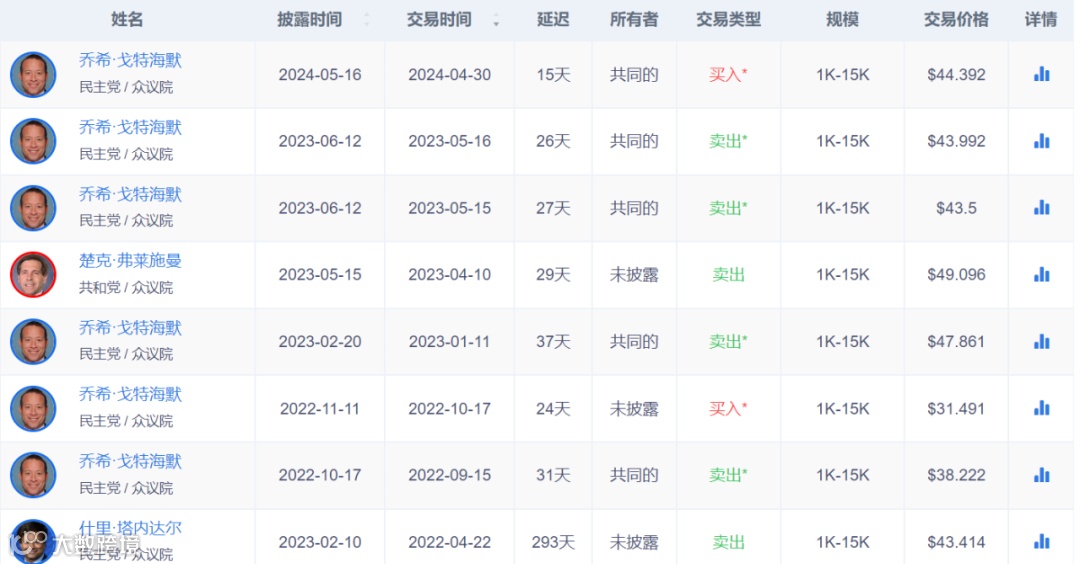
据QUIVER QUANTITATIVE这家专门从事国会议员股票交易研究的数据网站,于当地时间5月15日披露的数据显示,美国众议员乔什·戈特海默于4月30日购买中国公司腾讯的股票。自他交易以来,该股已上涨18.1%。

数据显示,过去几年,Josh Gottheimer曾多次交易腾讯的股票。

Josh Gottheimer出生于1975年3月8日,现年49 岁,来自美国新泽西州利文斯顿。曾求学于哈佛法学院 (2004年)、 University of Pennsylvania (1997年)、 West Essex High School (1993年)、 牛津大学彭布罗克学院。2017年始,他任民主党众议院议员。
据悉,Josh Gottheimer 是最好的国会交易员之一,仅次于南希·佩洛西。美国《纽约时报》2022年时曾披露,从2019年至2021年,有近百名美国国会议员涉嫌利用职务之便,通过获取内幕信息进行股票、债券等金融资产的交易,在金融市场上获利。而当时,乔什·戈特海默(Josh Gottheimer)就被点名,其在任职众议院金融服务委员会成员期间,他及配偶先后交易了包括摩根大通、富国银行等多家投资银行的股票。
责编:林根
校对:赵燕
百万用户都在看
山东,释放重磅信号!
A股四大突发!
稀土巨头,深夜突发!
刚刚,深交所突发公告!事关恒大……
周末大事!北向资金重大变化!国常会部署,央行、证监会密集发布……影响一周市场的十大消息
违法和不良信息举报电话:0755-83514034
邮箱:bwb@stcn.com


最近,外资对于中国股票的“爱”有点儿超乎想象。
昨天晚上,美股中概股集体大爆发,纳斯达克中国金龙指数收盘大涨2.49%,创2023年9月以来新高。次新股课标科技盘中一度涨超180%,收盘时涨幅为104.42%;阿里巴巴收盘涨逾7%,就连昔日“空军主力”香橼也开始唱多。今早港股开盘,继续强势表演。恒生指数高开0.77%,恒生科技指数高开1.55%,阿里巴巴涨逾7%。
然而,还不止如此。“大空头”原型Michael Burry上个季度也加大了对京东和阿里巴巴的押注。他将阿里巴巴的持股从7.5万股增至12.5万股,京东的押注从20万股增至36万股。另一位身价达120亿美元的对冲基金经理大卫·泰珀(David Tepper)更是将最大的持仓集中在科技和中国市场领域,阿里巴巴占投资组合的 12.05%。
比较有意思的是,据QUIVER QUANTITATIVE这家专门从事国会议员股票交易研究的数据网站显示,美国众议员乔什·戈特海默(Josh Gottheimer)于4月30日购买中国公司腾讯的股票。自他交易以来,该股已上涨 18.1%。戈特海默是众议院情报特别委员会和资本市场小组委员会的成员。
投资大佬押注中国资产
近日,知名对冲基金经理大卫·泰珀(David Tepper)的阿帕卢萨管理公司公布了最新的13F持仓文件。该文件突显了科技和中国市场的重大举措,David Tepper的投资组合在本季度迎来了6只新股票:
Adobe Inc以35万股票成为新增股最多的公司,价值约1.7661亿美元,占投资组合的2.61%。
iShares China Large-Cap ETF紧随其后,Tepper买入637.5万股,占投资组合的2.27%,总计约1.5345亿美元。
京东也是值得注意的新增股票,持有364.98万股,价值约9997万美元,占投资组合的1.48%。
泰珀的策略包括加强6只股票的仓位,其中重点关注中国股票:
阿里巴巴被大幅增持690万股,使总股数增至1125万股。此次调整标志着股票数量增加了158.62%,对当前投资组合的影响为7.39%,总价值为8.1405亿美元。
拼多多也被大幅增加,增持132.5万股,使总股数达到210万股。这意味着股票数量增加了170.97%,价值 2.4413 亿美元。
同时,泰珀减持了13只股票,其中,主要是大幅减持科技公司股票:Uber Technologies Inc(UBER,Financial)减持464万股,减少了77.33%,对投资组合影响达4.93%。该股本季度平均交易价格为71.78美元。
对META减持了72.75万股,持仓减少了39.32%,对投资组合影响达4.45%。该股该季度的平均交易价格为446.07美元。
截至2024年第一季末,David Tepper的投资组合包括39只股票。最大的持股主要集中在科技和中国市场领域,阿里巴巴占投资组合的12.05%,其次是亚马逊公司,占10.22%,微软公司为8.72%。其他重要持股包括Meta和英伟达。
资料显示,大卫·泰珀是一位美国富豪商人、对冲基金经理及慈善家。在2019年美国400富豪榜,他以120亿美元的资产排名第39名。他还是美国国家橄榄球联盟卡罗来纳黑豹队的老板。泰珀曾经是高盛垃圾债券服务的负责人,他在辞去合伙人职务后,于1993年创立了总部位于佛罗里达州迈阿密海滩的全球对冲基金阿帕卢萨资产管理公司并兼任总裁。
大空头的意外之举
迈克尔·伯里的季度持仓也已公布。这位有着“大空头”之称的投资者,在周三的季度投资组合更新中透露,在截至3月份的3个月内,他将自己的投资组合头寸从25个减少到了16个。他所持资产的总价值从约9500万美元增至约1.03亿美元。
在此期间,有11家公司的股份得以保留,且这位Scion资产管理公司的老板将其全部增持。例如,他将阿里巴巴的持股从7.5万股增至12.5万股,京东的押注从20万股增至36万股,明星散货船的押注从25万股增至40万股。
伯里还在他的收藏中添加了5种新持股:百度、英国石油公司、第一太阳能公司、斯普罗特实物黄金信托公司和信诺公司。他还出售了一系列股票,包括亚马逊、Alphabet、米高梅度假村、Toast和华纳兄弟探索公司。
Michael Burry以其对市场崩溃和经济灾难的严重警告和严峻预测而闻名。他在2008年金融危机前夕,对房地产泡沫进行了巨大押注,这一赌注在书籍和电影《大空头》中被广泛传播。随后,他又对2021年夏天的“有史以来最大的投机泡沫”敲响警钟,并警告说,迷因股票和加密货币的买家将陷入崩盘危机。
比较有意思的是,曾让中概股闻风丧胆的著名空头机构香橼(Citron Research)最近也在社交媒体上公开唱多阿里巴巴。该机构表示,阿里巴巴正获得动能,投资者将认识到其人工智能(AI)云前景和战略投资,香橼认为阿里巴巴股价有望涨超100美元。在中国的大语言模型(LLM)领域,阿里巴巴的模型是佼佼者。截至昨天收盘,阿里巴巴美股大涨超7%,收报86.7美元。
美国议员都动心了
中国股票的多头氛围似乎让美国议员都动心了。
据QUIVER QUANTITATIVE这家专门从事国会议员股票交易研究的数据网站,于当地时间5月15日披露的数据显示,美国众议员乔什·戈特海默于4月30日购买中国公司腾讯的股票。自他交易以来,该股已上涨18.1%。

数据显示,过去几年,Josh Gottheimer曾多次交易腾讯的股票。

Josh Gottheimer出生于1975年3月8日,现年49 岁,来自美国新泽西州利文斯顿。曾求学于哈佛法学院 (2004年)、 University of Pennsylvania (1997年)、 West Essex High School (1993年)、 牛津大学彭布罗克学院。2017年始,他任民主党众议院议员。
据悉,Josh Gottheimer 是最好的国会交易员之一,仅次于南希·佩洛西。美国《纽约时报》2022年时曾披露,从2019年至2021年,有近百名美国国会议员涉嫌利用职务之便,通过获取内幕信息进行股票、债券等金融资产的交易,在金融市场上获利。而当时,乔什·戈特海默(Josh Gottheimer)就被点名,其在任职众议院金融服务委员会成员期间,他及配偶先后交易了包括摩根大通、富国银行等多家投资银行的股票。
责编:林根
校对:赵燕
最近,外资对于中国股票的“爱”有点儿超乎想象。
昨天晚上,美股中概股集体大爆发,纳斯达克中国金龙指数收盘大涨2.49%,创2023年9月以来新高。次新股课标科技盘中一度涨超180%,收盘时涨幅为104.42%;阿里巴巴收盘涨逾7%,就连昔日“空军主力”香橼也开始唱多。今早港股开盘,继续强势表演。恒生指数高开0.77%,恒生科技指数高开1.55%,阿里巴巴涨逾7%。
然而,还不止如此。“大空头”原型Michael Burry上个季度也加大了对京东和阿里巴巴的押注。他将阿里巴巴的持股从7.5万股增至12.5万股,京东的押注从20万股增至36万股。另一位身价达120亿美元的对冲基金经理大卫·泰珀(David Tepper)更是将最大的持仓集中在科技和中国市场领域,阿里巴巴占投资组合的 12.05%。
比较有意思的是,据QUIVER QUANTITATIVE这家专门从事国会议员股票交易研究的数据网站显示,美国众议员乔什·戈特海默(Josh Gottheimer)于4月30日购买中国公司腾讯的股票。自他交易以来,该股已上涨 18.1%。戈特海默是众议院情报特别委员会和资本市场小组委员会的成员。
投资大佬押注中国资产
近日,知名对冲基金经理大卫·泰珀(David Tepper)的阿帕卢萨管理公司公布了最新的13F持仓文件。该文件突显了科技和中国市场的重大举措,David Tepper的投资组合在本季度迎来了6只新股票:
Adobe Inc以35万股票成为新增股最多的公司,价值约1.7661亿美元,占投资组合的2.61%。
iShares China Large-Cap ETF紧随其后,Tepper买入637.5万股,占投资组合的2.27%,总计约1.5345亿美元。
京东也是值得注意的新增股票,持有364.98万股,价值约9997万美元,占投资组合的1.48%。
泰珀的策略包括加强6只股票的仓位,其中重点关注中国股票:
阿里巴巴被大幅增持690万股,使总股数增至1125万股。此次调整标志着股票数量增加了158.62%,对当前投资组合的影响为7.39%,总价值为8.1405亿美元。
拼多多也被大幅增加,增持132.5万股,使总股数达到210万股。这意味着股票数量增加了170.97%,价值 2.4413 亿美元。
同时,泰珀减持了13只股票,其中,主要是大幅减持科技公司股票:Uber Technologies Inc(UBER,Financial)减持464万股,减少了77.33%,对投资组合影响达4.93%。该股本季度平均交易价格为71.78美元。
对META减持了72.75万股,持仓减少了39.32%,对投资组合影响达4.45%。该股该季度的平均交易价格为446.07美元。
截至2024年第一季末,David Tepper的投资组合包括39只股票。最大的持股主要集中在科技和中国市场领域,阿里巴巴占投资组合的12.05%,其次是亚马逊公司,占10.22%,微软公司为8.72%。其他重要持股包括Meta和英伟达。
资料显示,大卫·泰珀是一位美国富豪商人、对冲基金经理及慈善家。在2019年美国400富豪榜,他以120亿美元的资产排名第39名。他还是美国国家橄榄球联盟卡罗来纳黑豹队的老板。泰珀曾经是高盛垃圾债券服务的负责人,他在辞去合伙人职务后,于1993年创立了总部位于佛罗里达州迈阿密海滩的全球对冲基金阿帕卢萨资产管理公司并兼任总裁。
大空头的意外之举
迈克尔·伯里的季度持仓也已公布。这位有着“大空头”之称的投资者,在周三的季度投资组合更新中透露,在截至3月份的3个月内,他将自己的投资组合头寸从25个减少到了16个。他所持资产的总价值从约9500万美元增至约1.03亿美元。
在此期间,有11家公司的股份得以保留,且这位Scion资产管理公司的老板将其全部增持。例如,他将阿里巴巴的持股从7.5万股增至12.5万股,京东的押注从20万股增至36万股,明星散货船的押注从25万股增至40万股。
伯里还在他的收藏中添加了5种新持股:百度、英国石油公司、第一太阳能公司、斯普罗特实物黄金信托公司和信诺公司。他还出售了一系列股票,包括亚马逊、Alphabet、米高梅度假村、Toast和华纳兄弟探索公司。
Michael Burry以其对市场崩溃和经济灾难的严重警告和严峻预测而闻名。他在2008年金融危机前夕,对房地产泡沫进行了巨大押注,这一赌注在书籍和电影《大空头》中被广泛传播。随后,他又对2021年夏天的“有史以来最大的投机泡沫”敲响警钟,并警告说,迷因股票和加密货币的买家将陷入崩盘危机。
比较有意思的是,曾让中概股闻风丧胆的著名空头机构香橼(Citron Research)最近也在社交媒体上公开唱多阿里巴巴。该机构表示,阿里巴巴正获得动能,投资者将认识到其人工智能(AI)云前景和战略投资,香橼认为阿里巴巴股价有望涨超100美元。在中国的大语言模型(LLM)领域,阿里巴巴的模型是佼佼者。截至昨天收盘,阿里巴巴美股大涨超7%,收报86.7美元。
美国议员都动心了
中国股票的多头氛围似乎让美国议员都动心了。
据QUIVER QUANTITATIVE这家专门从事国会议员股票交易研究的数据网站,于当地时间5月15日披露的数据显示,美国众议员乔什·戈特海默于4月30日购买中国公司腾讯的股票。自他交易以来,该股已上涨18.1%。

数据显示,过去几年,Josh Gottheimer曾多次交易腾讯的股票。

Josh Gottheimer出生于1975年3月8日,现年49 岁,来自美国新泽西州利文斯顿。曾求学于哈佛法学院 (2004年)、 University of Pennsylvania (1997年)、 West Essex High School (1993年)、 牛津大学彭布罗克学院。2017年始,他任民主党众议院议员。
据悉,Josh Gottheimer 是最好的国会交易员之一,仅次于南希·佩洛西。美国《纽约时报》2022年时曾披露,从2019年至2021年,有近百名美国国会议员涉嫌利用职务之便,通过获取内幕信息进行股票、债券等金融资产的交易,在金融市场上获利。而当时,乔什·戈特海默(Josh Gottheimer)就被点名,其在任职众议院金融服务委员会成员期间,他及配偶先后交易了包括摩根大通、富国银行等多家投资银行的股票。
最近,外资对于中国股票的“爱”有点儿超乎想象。
昨天晚上,美股中概股集体大爆发,纳斯达克中国金龙指数收盘大涨2.49%,创2023年9月以来新高。次新股课标科技盘中一度涨超180%,收盘时涨幅为104.42%;阿里巴巴收盘涨逾7%,就连昔日“空军主力”香橼也开始唱多。今早港股开盘,继续强势表演。恒生指数高开0.77%,恒生科技指数高开1.55%,阿里巴巴涨逾7%。
然而,还不止如此。“大空头”原型Michael Burry上个季度也加大了对京东和阿里巴巴的押注。他将阿里巴巴的持股从7.5万股增至12.5万股,京东的押注从20万股增至36万股。另一位身价达120亿美元的对冲基金经理大卫·泰珀(David Tepper)更是将最大的持仓集中在科技和中国市场领域,阿里巴巴占投资组合的 12.05%。
比较有意思的是,据QUIVER QUANTITATIVE这家专门从事国会议员股票交易研究的数据网站显示,美国众议员乔什·戈特海默(Josh Gottheimer)于4月30日购买中国公司腾讯的股票。自他交易以来,该股已上涨 18.1%。戈特海默是众议院情报特别委员会和资本市场小组委员会的成员。
近日,知名对冲基金经理大卫·泰珀(David Tepper)的阿帕卢萨管理公司公布了最新的13F持仓文件。该文件突显了科技和中国市场的重大举措,David Tepper的投资组合在本季度迎来了6只新股票:
Adobe Inc以35万股票成为新增股最多的公司,价值约1.7661亿美元,占投资组合的2.61%。
iShares China Large-Cap ETF紧随其后,Tepper买入637.5万股,占投资组合的2.27%,总计约1.5345亿美元。
泰珀的策略包括加强6只股票的仓位,其中重点关注中国股票:
同时,泰珀减持了13只股票,其中,主要是大幅减持科技公司股票:Uber Technologies Inc(UBER,Financial)减持464万股,减少了77.33%,对投资组合影响达4.93%。该股本季度平均交易价格为71.78美元。
对META减持了72.75万股,持仓减少了39.32%,对投资组合影响达4.45%。该股该季度的平均交易价格为446.07美元。
截至2024年第一季末,David Tepper的投资组合包括39只股票。最大的持股主要集中在科技和中国市场领域,阿里巴巴占投资组合的12.05%,其次是亚马逊公司,占10.22%,微软公司为8.72%。其他重要持股包括Meta和英伟达。
资料显示,大卫·泰珀是一位美国富豪商人、对冲基金经理及慈善家。在2019年美国400富豪榜,他以120亿美元的资产排名第39名。他还是美国国家橄榄球联盟卡罗来纳黑豹队的老板。泰珀曾经是高盛垃圾债券服务的负责人,他在辞去合伙人职务后,于1993年创立了总部位于佛罗里达州迈阿密海滩的全球对冲基金阿帕卢萨资产管理公司并兼任总裁。
迈克尔·伯里的季度持仓也已公布。这位有着“大空头”之称的投资者,在周三的季度投资组合更新中透露,在截至3月份的3个月内,他将自己的投资组合头寸从25个减少到了16个。他所持资产的总价值从约9500万美元增至约1.03亿美元。
在此期间,有11家公司的股份得以保留,且这位Scion资产管理公司的老板将其全部增持。例如,他将阿里巴巴的持股从7.5万股增至12.5万股,京东的押注从20万股增至36万股,明星散货船的押注从25万股增至40万股。
伯里还在他的收藏中添加了5种新持股:百度、英国石油公司、第一太阳能公司、斯普罗特实物黄金信托公司和信诺公司。他还出售了一系列股票,包括亚马逊、Alphabet、米高梅度假村、Toast和华纳兄弟探索公司。
Michael Burry以其对市场崩溃和经济灾难的严重警告和严峻预测而闻名。他在2008年金融危机前夕,对房地产泡沫进行了巨大押注,这一赌注在书籍和电影《大空头》中被广泛传播。随后,他又对2021年夏天的“有史以来最大的投机泡沫”敲响警钟,并警告说,迷因股票和加密货币的买家将陷入崩盘危机。
比较有意思的是,曾让中概股闻风丧胆的著名空头机构香橼(Citron Research)最近也在社交媒体上公开唱多阿里巴巴。该机构表示,阿里巴巴正获得动能,投资者将认识到其人工智能(AI)云前景和战略投资,香橼认为阿里巴巴股价有望涨超100美元。在中国的大语言模型(LLM)领域,阿里巴巴的模型是佼佼者。截至昨天收盘,阿里巴巴美股大涨超7%,收报86.7美元。
中国股票的多头氛围似乎让美国议员都动心了。
据QUIVER QUANTITATIVE这家专门从事国会议员股票交易研究的数据网站,于当地时间5月15日披露的数据显示,美国众议员乔什·戈特海默于4月30日购买中国公司腾讯的股票。自他交易以来,该股已上涨18.1%。

数据显示,过去几年,Josh Gottheimer曾多次交易腾讯的股票。

Josh Gottheimer出生于1975年3月8日,现年49 岁,来自美国新泽西州利文斯顿。曾求学于哈佛法学院 (2004年)、 University of Pennsylvania (1997年)、 West Essex High School (1993年)、 牛津大学彭布罗克学院。2017年始,他任民主党众议院议员。
据悉,Josh Gottheimer 是最好的国会交易员之一,仅次于南希·佩洛西。美国《纽约时报》2022年时曾披露,从2019年至2021年,有近百名美国国会议员涉嫌利用职务之便,通过获取内幕信息进行股票、债券等金融资产的交易,在金融市场上获利。而当时,乔什·戈特海默(Josh Gottheimer)就被点名,其在任职众议院金融服务委员会成员期间,他及配偶先后交易了包括摩根大通、富国银行等多家投资银行的股票。
责编:林根
校对:赵燕
邮箱:bwb@stcn.com


