桌游(Board Game)
专利编号:USD1122355S
申请日:2025-01-15
公开(公告)日:2026-04-14
当前申请(专利权人):KOLOMY**
烹饪器具篮(Cookware Basket)
专利编号:USD1122056S
申请日:2025-01-21
公开(公告)日:2026-04-14
当前申请(专利权人):GUANGDONG***
发明人:FENG***
松饼模具(Muffin Pan)
专利编号:USD1122027S
申请日:2025-01-03
公开(公告)日:2026-04-14
当前申请(专利权人):CARAWAY***
足部按摩器(Foot Massager)
专利编号:USD1122468S
申请日:2024-12-30
公开(公告)日:2026-04-14
当前申请(专利权人):TAN***
饭盒(Lunch Box)
专利编号:USD1122057S
申请日:2024-11-27
公开(公告)日:2026-04-14
当前申请(专利权人):ZHU***
宠物专用靴子和背带组合(Combination Boots and Suspender for Pet)
专利编号:USD1122539S
申请日:2024-09-16
公开(公告)日:2026-04-14
当前申请(专利权人):QIN***
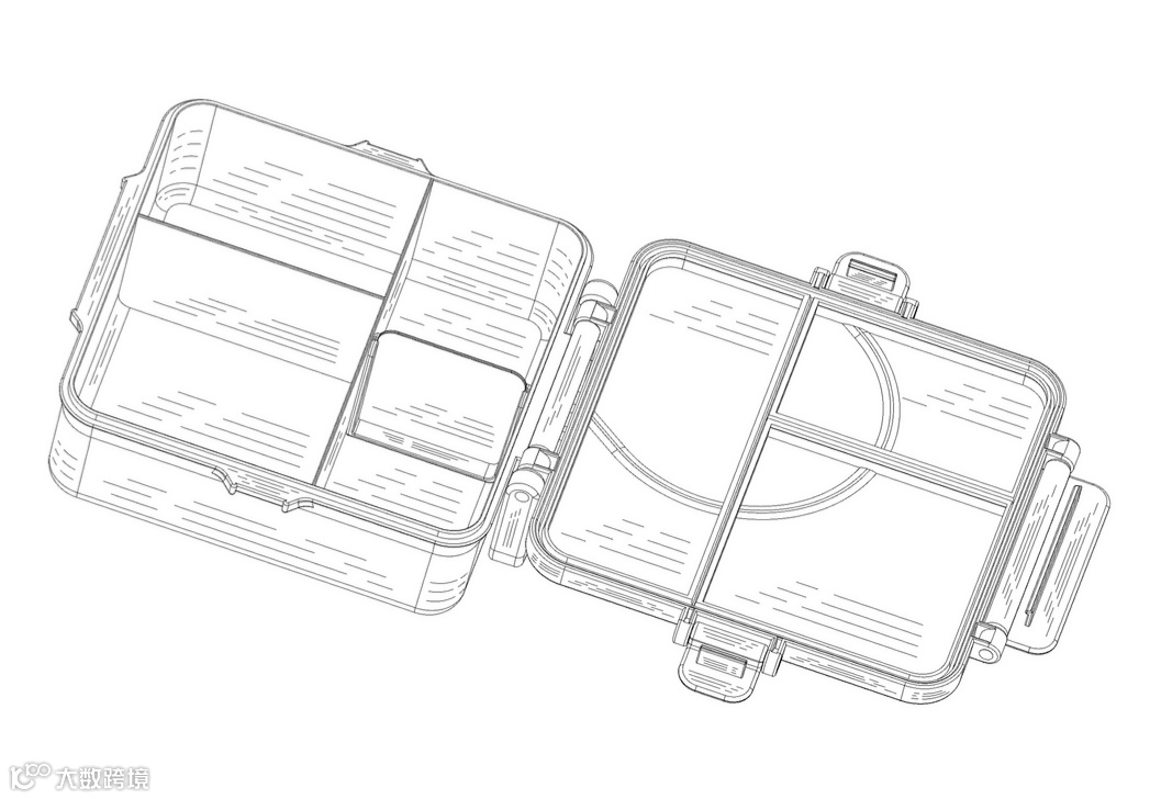
收纳盒(Storage Case)
专利编号:USD1121955S
申请日:2024-08-07
公开(公告)日:2026-04-14
当前申请(专利权人):KUKUYO***
发明人:CHEN***
投影灯(Projection Lamp)
专利编号:USD1122500S
申请日:2024-08-14
公开(公告)日:2026-04-14
当前申请(专利权人):SHANTOU***
发明人:LIN***
毛绒拉链袋(Plush Zipper Pouch)
专利编号:USD1121959S
申请日:2024-08-05
公开(公告)日:2026-04-14
当前申请(专利权人):AMERICAN***
发明人:LIUZZI***
篮球碗(Basketball Bowl)
专利编号:USD1122042S
申请日:2024-07-26
公开(公告)日:2026-04-14
当前申请(专利权人):FOOTPRINT***
发明人:MOORE***
宠物玩具发射器(Pet Toy Launcher)
专利编号:USD1122540S
申请日:2024-05-29
公开(公告)日:2026-04-14
当前申请(专利权人):DOSKOCIL***
发明人:GREGORY*** JACKSON*** JUAREZ***
药盒(Pill Box)
专利编号:USD1121953S
申请日:2024-06-12
公开(公告)日:2026-04-14
当前申请(专利权人):WAN***

