液压差动回路是指在液压系统中当负载使用差动液压缸时利用回路的组合,使差动液压缸的有杆腔和无杆腔连通,将有杆腔的流量引入无杆腔,增加无杆腔进油的流量,达到提高液压缸运动速度的目的。
根据液压回路不同的负载特点,在回路的设计时有多种差动回路的选择:
1、使用差动阀来构成差动回路;
2、增加差动回路,用电磁阀控制差动回路的通断以实现差动回路。
虽然差动回路具有构成简单,系统流量分配合理,但在实际应用中如果在设计阶段考虑不周,会留下设计缺陷导致差动回路无法正常使用。
1、负载特性的考虑不足
液压差动回路的简图如图1。
图中:液压缸无杆腔面积和体积为S1、V1,有杆腔的面积和体积分别是S2、V2,油源压力和流量为p、q,差动回路的结合点为D。
差动回路的计算公式如下:假设液压缸以一个恒定速度v前进,由活塞杆侧进入活塞侧的流量q1为:
须从系统补充的流量q2为:
进入无杆腔的流量为:
如果系统可以提供流量q2为已知,则液压缸可达到的最大速度v的计算公式为:
液压缸的输出力为:
从上式可以看出,如果液压缸的无杆腔和有杆腔的面积差越大,液压缸的增速作用v就越小,液压缸的输出力F就越大;如果面积差越小,液压缸的增速作用v就越大,液压缸的输出力F就越小。往往当我们利用差动回路使液压缸增速时容易忽视由于输出力F减小带来的副作用。
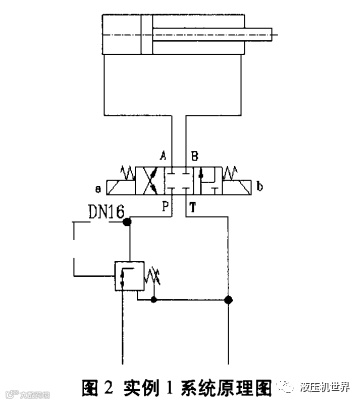
设计缺陷实例一:某水压机增压液压系统,使用增压油缸将水压提高到钢管的试验压力,增压缸的活塞直径Φ500 mm,活塞杆径Φ260 mm,增压水压压力达80~100 MPa。在液压系统中使用了差动回路,系统原理图如图2所示。
已知液压缸活塞直径为Φ500 mm,S1=1962.5cm2活塞杆直径为Φ260 mm,S2=530.7cm2。两者面积之比为:
如果活塞杆侧的压力达到80 MPa,则活塞的压力达到:
如果活塞杆侧的压力达到100 MPa,则活塞的压力达到:
如果液压缸不使用差动回路,系统压力达到22~28 MPa能满足系统正常工作的需要(在速度上要比设计值低很多)。但在该例中由于使用了差动回路(欲提高液压缸的运动速度),根据上述公式(2)致使液压缸的驱动力F下降了3.69倍,使系统不能正常投入使用。
2、使用差动阀(型机能换向阀)选型时通流流量偏小
R型机能换向阀(差动阀)是一种具有特殊换向位的电磁换向阀(二位、或三位换向阀),当液压缸的大腔进油时阀的换向位A、B、P口相通。R型机能换向阀功能符号如图3所示。
使用差动阀来构成差动回路可使系统使用元件少,回路构成简单,但换向阀处于差动位时液压缸的大腔和小腔沟通,液压缸腔内压力相等,换向阀的阀压差也很小。从换向阀的流量-压力曲线(如图4所示)可以看出,R机能换向阀的A腔B腔流量-压力特性遵循曲线9的规律;从曲线9可以看出:
在同样的阀压降条件下曲线9的流量要比其它机能阀的流量小很多。根据差动回路的特点,A↔B通道的流量是强制性过流,如果阀的过流流量遵循图4中的曲线9,已是饱和过流,那么如公式(1)所述的系统补充流量q1不能全额进入阀体,故进入差动液压缸的流量受到换向阀的限制,机构的运动速度达不到使用要求。
设计缺陷实例二:有一差动回路油缸缸径Φ80 mm,活塞杆径Φ56 mm,系统使用Dg 16通径差动阀构成差动回路,系统的压力为16 MPa,当油缸的活塞侧进油时前进速度为1m/s。根据上述计算流量的公式得:
须补充流量为q2=vS2,=10x60x0.246=147 L/min
活塞杆侧进入活塞侧的流量:
q1=v(S1-S2)=10x60×(0.5-0.25)=600×0.26=154 L/min
根据Dg 16通径R机能换向阀的流量-压力曲线查得A↔B在压差0.2MPa时流量不到50 L/min,要达到154 L/min时,两腔压力差必须达到1.4MPa以上。在实际应用中测得该油缸的最大速度在0.5m/s左右.在此例中油缸的速度不能达到预期的主要原因在于阀压降太小,阀过流流量达到饱和,不能满足差动回路的速度要求。
本公众号所分享的文章为本公众号原创或根据网络搜索下载编辑整理,文章版权归原作者所有,仅供读者学习、参考,禁止用于商业用途。因转载众多,无法找到真正来源,如标错来源,或对于文中所使用的图片、文字、链接中所包含的软件、资料等,如有侵权,请联系后台管理员删除!


