Ø板材选用规范
Ø孔缺结构设计规范
Ø弯曲结构设计规范
Ø焊接结构设计规范
Ø结构缝隙设计规范
Ø表面涂层种类选用规范
Ø表面镀层种类选用规范
Ø图纸工艺性分析和审查规范
Ø图纸尺寸标准规范
Ø非喷涂不锈钢结构设计规
1.板材选用规范
为了保证材料利用率和冲折最少的换模次数,同一结构上4mm的板材厚度规格最多不超过三种,对于强度要求较高的结构可以采用在薄板上压筋或焊接加强筋的方式来实现(如图1,如图2);
图1
图2
2.孔缺结构设计规范:
|
|
|
|
|
|
|
|
|
|
|
|
|
|
|
|
|
|
|
|
|
|
||
|
|
|
|
|
|
|
|
|
|
|
|
|
|
|
|
|
|
|
|
|
|
|
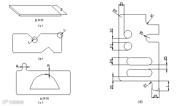
4)对于距零件边缘较近的锁、折页、螺母、螺钉等附件的让位孔优先采用缺口型,从经济精度及安装拆卸的工艺性考虑,应尽可能避免封闭型(如图4)。

5)板厚2mm的钢板适于翻边攻丝,相应的厚板不适于翻孔攻丝,详细规范参照附表4。
|
|
|
|
|
|
|
|
|
|
||||
|
|
|
|
|
|
|
|
|
|
|
|
|
|
|
|
|
|
|
|
|
|
|
|
|
|
|
|
|
|
|
|
|
|
|
|
|
|
|
|||
图5
1)各种板材常规折弯结构依据《数控车间弯曲加工能力简介》。
2)板材在弯曲机上各角度正常加工后的内R约等同于料厚,所以在图纸中不应注明内R值,与弯曲件内R配合件的倒角应大于等于内R值以免配合干涉。当料厚≤2.5mm时,对内R有特殊要求的可按R0。
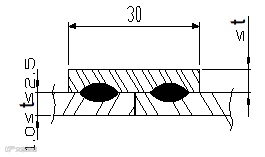
3)关于孔到弯曲线的最小间距,见图6。
4.焊接结构设计规范
1)为了保证产品结构优秀的加工工艺性和良好的外观效果,焊点焊缝应设计在相对次要的表面上,情形类同于不锈钢结构,参看图14、15、16、17、18、19、20。
2)在公司现有的焊接方式下,参照附表5选用适合所设计结构的焊接方式。
|
|
|
|
|
|
|
|
|
|
|
|
|
|
|
|
|
||||
|
|
|
|
|
|
|
|
|
|
|
|
|
|
|
|
|
|
|
|
|
|
|
|
||||
|
|
|
||||
|
|
|
|
|
|
|
|
|
|
||||
|
|
|
||||
|
|
|
|
|
|
|
|
|
|
||||
|
|
|
||||
|
|
|
|
|
|
|
|
|
|
||||
|
|
|
||||
|
|
|
|
|
|
|
|
|
|
||||
|
|
|
||||
|
|
|||||
|
|
|
|
|
|
|

5.结构缝隙设计规范
1)旋转门板与框架的间隙因直线度问题受门高影响,如门高H1m,则单边间隙=1.5mm, 如1m<H≤1.8m, 则单边间隙=2.0mm,如门高H1.8m,则单边间隙=2.5mm。
2)固定门板与框架的间隙与门高关系是,如门高H1m,则单边间隙=0.5mm, 如1m<H≤1.8m, 则单边间隙=1.0mm,如门高H1.8m,则单边间隙=1.5mm。
3)滑动结构的间隙与滑动面关系是 参照附表6
|
|
|
|
|
|
|
|
|
|
|
|
|
||
|
|
|
||
|
|
|
|
|
|
|
|
||
|
|
|
||
|
|
|
|
|
|
|
|
|
|
|
|
|
|
|
|
|
|
|
例如:固定面板与面板等; |
|
|
|
|
|
|
|
|
||
|
|
|
|
|
|
|
|
|
|
|
|
|
|
|
|
|
|
|
6.表面涂层种类选用规范:
1)由于喷涂厚度在60~90μm之间,边缘部位会稍厚,所以结构设计计算尺寸链时,零件单面按加0.2mm厚进行,如图8,JP-6A安装关系图中,涂层能影响面板与竖架板间的安装尺寸的因素,有C型材、肋条、竖架板共四个贴合面八层涂层,累积因涂层厚度可达8X0.2=1.6mm,所以如在设计时,充分考虑涂层因素,按每个尺寸链-0.2的偏差,则不会出现800偏大的情况。
图9
4)因漆膜与粉膜之间的结合力较差,应避免工件喷粉后再喷漆。
5)因先后两涂层之间的结合力较差,应避免外购已有涂层的工件再喷涂。
6)因行业内喷粉分色工艺较为复杂,目前我公司暂时难以做到,所以喷涂费用视量的大小及分色复杂程度需要增加2.5~3.5倍。
7.表面镀层种类选用规范:
1)材料选择是否符合标准规定,选用是否合适,是否经济。
2)零件的结构形状是否合理和便于加工。
3)零件的精度和技术是否符合产品的功能要求、是否经济合理。
4)零件设计是否考虑工艺基准的选择。
5)装配、拆卸、维护与维修是否方便。
6)是否可利用现有设备、工具及仪表进行加工和检测。
7)产品结构和零件的通用化、标准化程度是否高。
8)质量特征值是否便于测量和控制。
9)结构的继承性是否合理(继承性的衡量标准是借用定型零件数量与全部零件数量之比)。
1)钣金零件的标注应以外皮为基准,内档有配合要求的零件除外,如图10。

2)对于锐角的标注,参照图11。

3)对于钝角的标注,参照图12。

5)对于有偏差的标注尺寸,应按L+00。5或L0-0。5,而应避免L-1。5-2。5,以防止生产当中误读为L。
6)对于有焊接要求的部位,应按照附表5《板厚、结构形式与焊接方式参照表》中的焊逢旁注要求标注,不允许以技术的形式提出“满焊”、“封角”等笼统的要求。
7)在系列产品图中,结构一样而尺寸变动的零件标注格式即布局应一致,以方便核对。
8)对于同一结构零件相关图素的标注基准,或从上到下,或从前向后,应保持一致,例如:若同台机柜立柱上门折页孔的位置尺寸标注基准为上端,则门板上折页孔的位置尺寸标注基准也应为上端,以此避免因基准不同而加大加工误差对总装配精度的影响。
9)电子文档技术要求:图中零件的实线要素应单独设置图层,必须与图框、标注、中心线、技术说明分开,严格按照1:1绘图,不得出现手工改动电子文档中标注尺寸的现象,以便保证编程人员借用电子文档编制DXF文件的准确性。
图15(接缝避开侧面置于底面内侧)
本公众号所分享的文章为本公众号原创或根据网络搜索下载编辑整理,文章版权归原作者所有,仅供读者学习、参考,禁止用于商业用途。因转载众多,无法找到真正来源,如标错来源,或对于文中所使用的图片、文字、链接中所包含的软件、资料等,如有侵权,请联系后台管理员删除!

