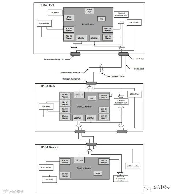
总览
当通过USBType-C®连接器接口进行配置时,USB4在功能上取代USB3.2,同时保留USB2.0总线并行运行。在USB3.2中定义的增强型超高速USB,仍然是USB4结构上的USB数据传输的基本架构。USB4与USB3.2的不同之处在于,USB4是一种面向连接的隧道架构,旨在将多个协议结合到一个物理接口上,从而可以动态地共享USB4Fabric的总速度和性能。USB4允许USB数据传输与其他特定于显示、加载/存储和主机和主机接口的独立协议并行操作。此外,USB4通过相同的双lane、双单工体系结构,将性能从USB3.2的20Gbps(Gen2x2)扩展到40Gbps(Gen3x2)。
为了兼容上大量的协议,需要使用路由器进行分发。路由器是USB4架构的基本构件。一个路由器将隧道化的协议通信映射到USB4数据包,并通过USB4结构路由数据包。路由器还通过其时间管理单元(TMU)在整个USB4结构中分配和同步时间。


测试设备要求
测试点接入板
为了获得所需的信号,需要各种测试点接入板。测试点接入板为USB4 typeC连接器上的针脚提供了测试点,以及一种控制DUT的简单方法。
实时示波器
带宽:≥21GHz
采样速率:80GSample/s,至少同时采集2通道
存储深度:大于50MSample每通道
第一和第二顺序时钟数据恢复功能
CTLE和DFE的均衡功能
抖动测量功能
加嵌/去嵌功能
配套高阻探头

WaveMaster 8 Zi-B Oscilloscopes

LabMaster 10 Zi-A Oscilloscopes
码型发生器
生成USB4信号,具有多种模式,抖动注入能力。
数据速率:≥20Gbps
数据码型:PRBS15, PRBS31, 方波
差分振幅范围:0-2Vpp,10mV步进
20%-80%上升时间:≥10ps
内在抖动:≤400fs RMS
随机抖动轮廓不小于500MHz
均衡模式
能够创建符合USB4基本要求的RX CLK开关SSC配置文件
内置一个SJ抖动源

Wilder USB4 Plug and receptacle Test fixtures
MP1900A BERT
测试设备要求
网络分析仪
用于校准信道特性
双端口
频率范围:1MHz-20GHz
动态范围:>50dB
配备时域扫描选件功能
校准去嵌文件达到20GHz
附件
信号源
用于提供共模干扰信号
频率范围10MHz-400MHz
输出功率±15dBm
低插损相位匹配线缆
相位损耗±5°@40GHz
线损<1.5dB@10GHz
ISI通道
在5GHz和10GHz时,不同的插入损耗为2-10dB。
Pickoff Tee(偏置器)
带宽至少40GHz
功率分配器
带宽大于1GHz
隔直器
带宽至少33GHz
1dB插损40GHz
电容值推荐220nF
USB4有源或无源线
无源线:0.8m(Gen3)、2m(Gen2)
有源线:有e-marked标记
负载终端
50Ω
频率范围:DC-20GHz

WavePulser 40iX High-speed Interconnect Analyzer
路由器组件发送端测试
路由器组件发送端一致性测试定义在TP2参考点的“金色”插头夹具的输出处和TP3参考点的“金色”插座夹具的输出处。
TP2-位于连接到路由器组件TX输出的USBc型插头上的参考测量点。用作定义路由器组件TX的参考点。
TP3-位于无源电缆远端USBC型插座输出端的参考测量点。用作被动安装的参考点。此时的所有测量均应在应用参考均衡化时进行。
如果不能进行直接测量,则需要进行校准
所有抖动测量都参考平均频率。
所有的后处理都使用USB4SigTest完成。

USB4 TX一致性测试点定义

USB4 测试连接
测试前,示波器需要进行预热和校准,使用的四端口线缆必须进行去嵌。
发送端路由器组件使用默认预设进行测试。建议默认预设是使传输信号达到最小DDJ的预设。因此需要查找并烧录该平台的优化预设。
路由器组件发送端测试
传输预设校准
由于高速信号在传输过程中容易出现传输眼图闭合情况。USB4 要求使用传输均衡装置。该均衡器衡器的结构是基于一个3个码型的UI延时器的有限脉冲响应(FIR)滤波器。通过该结构,可根据码型的前后调整实际发送的波形,即Pre-shoot和去加重。USB4在传输过程中设置了PRESET 0 – PRESET 15,共16组PRESET值。PRESET值规定了不同的Preshoot和去加重结果,以及达到相应的pre-shoot和去加重效果应该如何设置三个FIR滤波的值。


路由器组件发送端测试
扩频时钟(SSC)测试
下扩范围测试、下扩速率测试、相位偏移测试、转换速率测试
针对扩频时钟的测试,USB4与USB3.2类似,均为了保证扩频时钟的稳定性。
扩频时钟通过调制,降低时钟信号在同一个频率上的频谱振幅,也进而减少了电磁干扰。SSC的原理类似我们的频率调制,对传输讯号做一个三角波周期的频率调制。目前USB的SSC均采用下扩频方式进行调制。好处是不会产生高出预定频率的时钟信号。


路由器组件发送端测试
TX频率变化训练测量
该测试只有DUT含有re-timer的情况下才需要进行测量。一个USB4链路最多可以包含6个re-timer,它们将数据从链路的一端转发到另一端。



路由器组件发送端测试
抖动测试
针对USB4,抖动测试成为USB4电气一致性测试过程中的一个关键部分。其中针对抖动,USB-IF还对其中不同的抖动分量进行了区分和测量要求。这要求示波器具有抖动测量功能。过大的抖动将会造成眼图闭合,无法满足区分信号的要求


路由器组件发送端测试
眼图测试
USB4的眼图要求比USB3.2进行了放宽。但相对高速度的传输对信号质量仍然提出了很高的要求。因此进行眼图测试是必须的。
眼图测试要求示波器具有80GSample/s的采样率,并通过插值的方式,将采样数据进行x16插值,达到1280GSample/s 的插值。


上升/下降时间测量
在USB4中,信号电平的上升和下降时间也做了一定的要求。过高的上升速率会引入更大的谐波分量,容易产生干扰。因此USB4中规定20%-80%的上升/下降时间不小于10ps。
空闲电压测试
空闲电压测试主要针对的是USB通信信道在工作过程中避免产生过大的电压波动,进而被误读为产生的信号。测试时通过捕捉差分信号线的波形VTX-P - VTX-N。空闲电压的数值应小于20mV
共模电压测试
由于USB的信息传输是基于差分信号线进行传输,具有一定的抗共模电压能力。但是过大的共模电压会造成端口承受过大的直流电压而损坏。因此USB4中要求共模电压测试值<100mVp-p。测试时计算共模电压公式为:VAC-CM = (VTX-P + VTX-N )/2

回波损耗测试
随着高速串行信号的速率不断提高,信号更像是微波信号。为了保证信号传输的稳定性,时域信号已经不能很好地满足测试要求。因此需要利用网络分析仪对发射端和接收端的回波损耗进行测试。USB4中,定义了发送端和接收端需要均需进行回波损耗测试,每次测试中都会针对差分回波损耗以及共模回波损耗进行测试。



接收端路由器误码率测试校准
接收端测试的测试点都定义在TP3‘ 和 TP3处,即USB连接线处和接收端触点处。假如不能直接进行测量,则需要进行校准。
校准过程中需要使用误码仪发生发送码型、产生抖动,并外接上射频信号源用于提供共模骚扰。最后通过不同的信道方式连接到示波器上对输出波形进行校准。在这步里,需要针对数据依赖性抖动、共模电压输出、随机抖动、周期性抖动、总抖动以及输入眼图进行校准。将TP3’的结果记录为case1、TP3结果记录为case2




接收机误码率测试程序
误码率测试完成之后,根据测试的连接,选择case1或者case2进行预设,并按照要求进行测试。
测试过程中会不断调整周期性抖动的值进行测试,误码仪会输出指定的波形进行测试。如果出现错误,则要求不断增加延长时间,最长测试时间会要求长达700秒内没有发生错误的情况。

在TP3处的接收器误码率测试设置

在TP3‘处的接收器误码率测试设置
接收机信号频率变化训练测试
频率变化调整针对的是多个re-timer的training效果。为了保证传输信号调整的可靠性,因此需要进行接收机频率变化训练测试。
在测试前,需要针对TP3和TP3’两个点位上的SSC进行校准,通过对提取的频率变化波形进行平均来过滤掉低频抖动变化。保存下来设置作为时钟选择的调整。
之后通过三次调整PRESET值之后,运行BER测试,使用之前校准的SSC,测试10s。假如BER ≤ 1E-6 则测试通过。

SSC设置
接收机多错误突发测试
当接收机使用多个位置的DFE(决策反馈均衡器)时,应采取步骤限制在接收到一个或多个正确位后立即重新启动错误突发的概率。由于需要较大的测量窗口,直接测量编码的误码率是不可行的,因此采用了另一种间接方法来验证预期的性能。因此,为随机误差概率和误差突发重新启动概率指定目标,以确保编码的误码率假设得到满足。
该测试仅适用于与USB类型-C连接器最近的接收器re-timer设备。
使用类似BER测试的校准方式,然后连接。
获得包含一个或多个正确位然后进行错误突发重启的捕获的概率不应超过5E-7(即平均每200万错误捕获一次错误突发重启)。

Sideband信号测试
Sideband信号在提供初始通信和设置功能的两个互联路由器的USB4端口之间的连接,通过Sideband信道(SBTX/SBRX)进行传输。
在与USB4备用模式进行协商后,SBTX/SBRX线路已连接到USBType-C连接器上的SBU1/SBU2。SBTX和SBRX是一个以1MHz波特率工作的UART接口。当存在高速USB4流量时,路由器组件与电缆端或设备附近和电缆端附近之间的本地UART总线应正常工作,使调试和链路训练能够正常工作。
测试时,使用测试夹具引出SBU1和SBU2以及参考地信号,并使用TF controller进行控制,并使用示波器和万用表观察信号并判断是否符合标准要求




Sideband RX 探测电压测试
使用测试夹具引出SBU1和SBU2以及参考地信号,并使用TF controller进行控制。并使用直流电源作为sideband发送信号。
测试时,使用3.3V建立起连接,然后将电压调节至相应的高电平最小值或低电平最大值,观察是否能保持连接或者连接是否断开,确认是否满足范围


关于绿测科技
ABOUT GREENTEST
绿测科技是一家专注于耕耘测试与测量行业的技术开发公司,以专注成就专业的服务理念给客户提供专业的服务。总部设立于广州羊城。随着业务的发展,先后在广西、深圳等地设立了分公司。绿测科技主要业务范围由以下方向组成:核心采集部件、高端应用测试方案、自动化测试方案、实验室建设。绿测科技经过深耕测试与测量领域多年,组建了一支经验丰富的技术团队,可为广大客户提供品质过硬的产品及技术支持。


