阳极氧化膜如何生长?
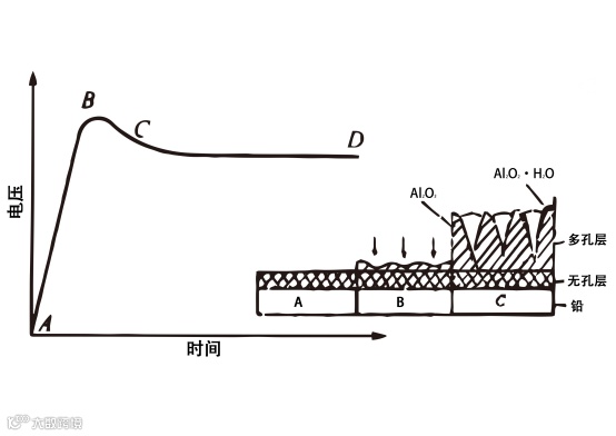
铝及铝合金在阳极氧化过程中,氧化膜的电化学生成和化学溶解是同时发生的,只有当氧化膜的生成速度大于氧化膜的化学溶解速度时,氧化膜才能生长和加厚。氧化膜的生长过程可以用阳极氧化测得的电压—时间特性曲线来说明,如下图所示。图中曲线大致可分为三段:

01
AB段——阻挡层形成
通电开始的几秒至十几秒时间内,电压随时间急剧增加到最大值,称为临界电压或形成电压。说明在阳极上形成了连续的、无孔的薄膜层,具有较高的电阻,称为阻挡层。随着膜层加厚,电阻增大,引起槽电压急剧地呈直线上升,阻挡层的出现阻碍了膜层的继续加厚。阻挡层的厚度与形成电压成正比,形成电压越高,阻挡层越厚;而与氧化膜在溶液中的溶解速度成反比。在普通硫酸阳极氧化时采用13V—18V槽电压,则阻挡层厚度约为0.01um~0.015um。温度对形成电压的影响很大,温度高,溶液对膜的溶解作用强,阻挡层薄,形成电压低。这一段的特点是氧化膜的生成速度远大于溶解速度。

02
BC段——膜孔出现
阳极电压达到最大值后开始有所下降,这时由于阻挡层膨胀而变得凹凸不平,凹处电阻较小而电流较大,在电场作用下发生电化学溶解,以及溶液侵蚀的化学溶解,凹处不断加深而出现孔穴,这时电阻减小而电压下降。

03
CD段——多孔层增厚
大约在阳极氧化20s后,电压趋向平稳,随着氧化的进行,电压稍有增加,但幅度很小。
这说明阻挡层在不断地被溶解,孔穴逐淅变成孔隙而形成多孔层,电流通过每一个膜孔,新的阻挡层又在生成。这时阻挡层的生长和溶解的速度达到动态平衡,阻挡层的厚度保持不变,而多孔层则不断增厚。多孔层的厚度取决于工艺条件,主要因素是温度。由于氧化生成热和溶液的焦耳热使溶液温度升高,对膜层的溶解速度也随之加大。当多孔层的形成速度与溶解速度达到平衡时,氧化膜的厚度也就不会再继续增加。该平衡到来的时间愈长,则氧化膜愈厚。
以上资料来源于网络



