
喜 报
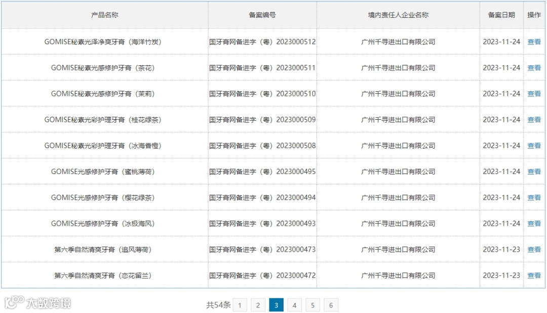
为响应并落实2023年12月1日国家药监局发布的《牙膏备案资料管理规定》,保障牙膏质量安全规范和消费者健康权益。自2023年4月起,我司积极配合推进牙膏备案工作,历经7个月,千寻进出口旗下进口牙膏有38款通过备案,售卖的 GOMISE秘素及Six Seasons第六季牙膏产品已全部通过进口备案!

从国家市场监督管理总局令2023年第71号公布的《牙膏监督管理办法》与第148号公布的《牙膏备案资料管理规定》看,明确规定了牙膏产品备案工作的各项规范,其中重点规范了牙膏备案资料、安全评估、功效评价等方面,牙膏产品的质量安全得到进一步的保障。
与国产牙膏备案不同,进口牙膏备案手续更加繁琐。为了保证及时完成牙膏备案工作,我司备案团队积极与日本、马来西亚生产方协调沟通,加急取得日方与马方开具的GMP、产地销售证明等一系列备案所需证明文件,梳理以往进口报关单、入境货物检验检疫证明、产品检测报告等,并在广东省药监局的悉心指导下,短短1个月内将进口牙膏备案资料全部整理完毕上传并取得了备案号。

未来,千寻进出口坚持原装进口,为更多消费者带去更好的进口口腔护理产品,守护口腔健康,让每个人都拥有健康牙齿与自信笑容!
END


