匹克球拍性能新突破:实心拍面专利技术解析
当前匹克球、壁球等运动球拍在力量传递、击球手感和减震效果方面仍有提升空间。
创新实心拍面制造工艺
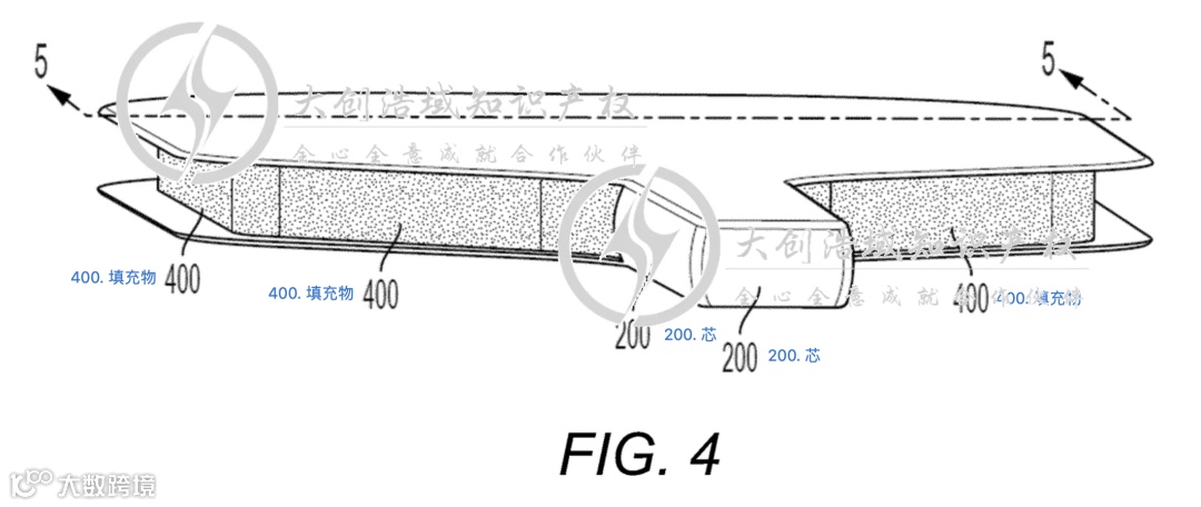
该工艺通过两步实现性能优化:首先挖除拍芯部分区域,填充泡沫等材料;其次用第二类填充材料包裹拍框外围。该结构可显著增强击球力量并抑制振动,提升运动员场上表现与使用舒适度。
美国专利技术解析
经检索确认,匹克球拍领域存在高度关联的美国发明专利。其核心原理为:
工艺以标准拍板(两层面板夹芯材)为基础,通过局部移除芯材形成空腔并填充第一填充物(如泡沫)。拍框设计为空心结构,注入第二填充物后经热膨胀定型。该多组件结构实现三大性能精准调控:
- 芯部区域控制震动传导
- 空腔填充优化力量传递
- 框架填充塑造击球手感
该技术通过差异化材料分布,在球拍关键区域实现振动抑制、力量增强与手感优化的精准平衡,为运动装备升级提供新路径。

