大数跨境

拍蚊器海运到美国IAH3仓库

拍蚊器海运到美国IAH3仓库 九九六国际物流
2026-04-10
18

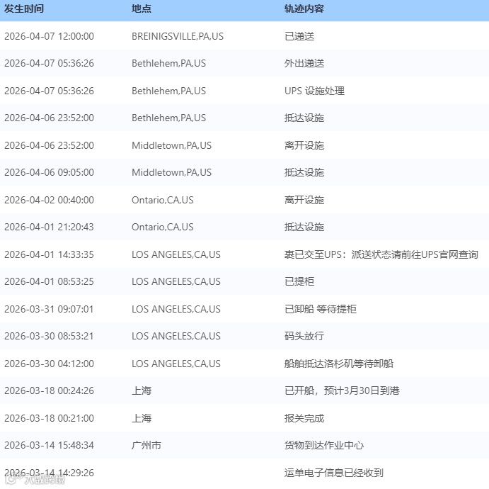
订单号:FBA198TNLVYH

下单时间 : 2026-03-14

状态:已派送成功

件数:19件  规格: 40X30X30CM

重量: 410KG

品名:拍蚊器

配送地址:IAH3

渠道:美森正班海派

美国海运双清到门

【声明】内容源于网络
0
0
九九六国际物流
各类跨境出海行业相关资讯
内容 271
粉丝 0
九九六国际物流 各类跨境出海行业相关资讯
总阅读8.4k
粉丝0
内容271