把入户给你最爱的人!
广州积分入户也正在开展
申请时间将于2023年3月10日17:00截止
小伙伴们都做好申请了吗?



有些小伙伴可能在操作上
还有很多疑问
别急,今天今库就手把手教你!
网上申请
(带*号为必填项)
申请人点击首页【积分制入户】栏目中【积分制入户申请】。如下图:

积分制入户申请功能须采用省统一身份认证登录,在登录页用微信扫一扫进行身份认证。
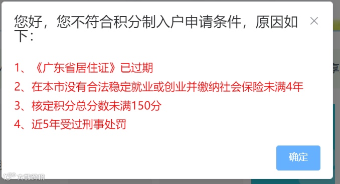
➤若申请人的积分指标项中包括不符合条件的指标,则会提示相应的内容。比如未持有广州市有效居住证、合法稳定就业或创业并缴纳社会保险未满4年、核定积分总分数未满150分、5年内有刑事处罚案件。提示如下图:

➤若申请人有不符合条件的材料项需要调整,则会提示相应的材料项内容,申请人可以根据相应的提示去做积分调整。提示如下图:

➤若申请人有积分业务流程正在审核,可等待积分业务审核流程结束后开始申请。提示如下图:

➤若申请人未办理过积分业务获取核定分,请先进行积分申请。提示如下图:

进入“入户申请”界面,需要先点击“获取核定积分总分数”获取符合积分制入户条件的分数。如下图:

获取分数之后,需勾选“本人确认以上积分并符合基本条件申报”后点击“确定”按钮,进入积分制入户资料填写页面。如下图:

申请人需核对“姓名、联系电话、身份证号码、户籍地址”是否准确,并上传“身份证”正反两面。(图片规格建议:不大于2.5M,支持JPG、PNG 格式图片)。如下图:

填写户籍信息(填写并上传有效户口簿信息)。填写“户籍地址”“户口登记机关”,上传户口簿首页及个人页(图片规格建议:不大于2.5M,支持JPG、PNG格式图片),选择“入户所属区(属)”。如下图:


户籍地址及户口登记机关填写范例如上,系统内有相应范例,请按指引正确填写。
a.迁入本人房产地址
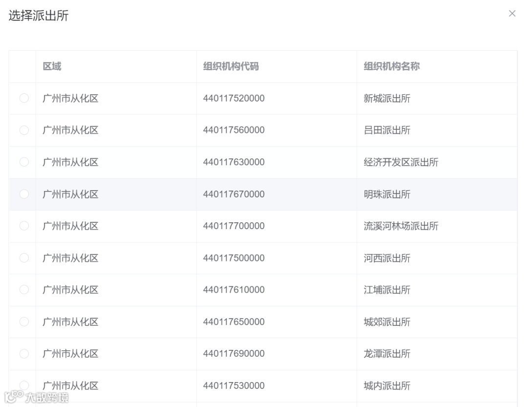
勾选“迁入类型须知”“迁入本人房产地址”。填写“拟迁入地址”,选择“迁入地址所属派出所”。如下图:


b.迁入直系亲属房产地址(直系亲属指父母、子女、配偶)
勾选“迁入类型须知”“迁入直系亲属房产地址”,填写亲属信息,上传相关附件。如下图:

c.迁入政府或用人单位拥有产权的住宅房屋地址
勾选“迁入类型须知”“迁入政府或用人单位拥有产权的住宅房屋地址”,填写拟迁入地址信息,上传相关附件。如下图:

d.迁入工作单位或人力资源市场居民集体户地址
勾选“迁入类型须知”“迁入工作单位或人力资源市场居民集体户地址”,填写拟迁入地址信息,上传相关附件。如下图:

e.迁入办理居住证所在地所属的公共集体户地址
勾选“迁入类型须知”“迁入居住证所在地所属的公共集体户地址”,落户于居住证所在地所属的公共集体户。填写拟迁入地址信息,上传相关附件。如下图:

若申请人需申请本人配偶随迁的,点击【新增】。填写配偶信息并上传相关附件。
填写后如需取消本人配偶随迁申请,可点击【删除】,清除随迁配偶信息。请按照系统模板填写户籍地址及户口登记机关信息。如下图:


若申请人需申请本人未成年子女随迁的,点击【新增】。填写未成年子女信息并上传相关附件。请按照系统模板填写户籍地址及户口登记机关信息。
填写后如需取消本人未成年子女随迁申请,可点击【删除】,清除随迁未成年子女信息。如下图:


申请人确认填写无误后,勾选本人须知后,可点击【提交积分制入户申请】按钮。
a.查询审核进度
积分制入户申请提交成功后,页面跳转至“我的入户”,可查看申请时间及积分制入户进度,若审核已通过,会显示相应的入户结果。如下图:



b.查询审核不通过界面
查询审核不通过界面如下:

入户结果受理通过后,由市来穗人员服务管理部门根据基础指标分值,以及在本市缴纳社会医疗保险时长和在本市连续办理《广东省居住证》时长进行排名,根据排名情况确定拟入户名单并向社会公示。
申请人共有3次打印机会。注意:若点击后无打印,直接关闭界面,仍视为减少一次打印次数。如3次打印机会用完后,可由申请人本人持受理回执及本人有效身份证到积分制受理窗口打印入户卡。
获得入户资格的申请人拿到入户卡后,请按照公安机关的指引办理相关落户手续,具体落户手续等请咨询公安部门。
详情请扫码咨询
一对一服务

往期精彩:
想了解更多“入户资讯”
长按联系专家

