
2024.09.05
本文字数:907,阅读时长大约1.5分钟
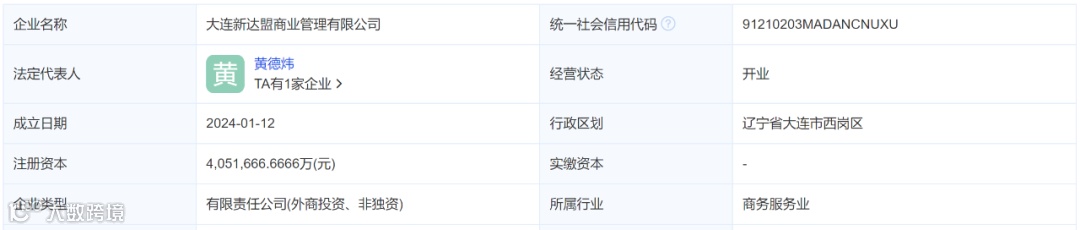
近日,国家企业信用公示系统显示,大连新达盟商业管理有限公司发生工商信息变更。公司注册资本由162.1亿元增至405.2亿元;投资总额变更为513亿元。
据爱企查,大连万达商管集团董事长肖广瑞不再担任新达盟法定代表人、董事长,太盟投资合伙人兼太盟中国总裁黄德炜接任。此外,新达盟新增十位投资人。除此前披露的太盟、中信、阿布扎比投资局外,苏州国资旗下资金、晨兴资本也入局。新达盟的高管信息也发生变更,公司的董事会成员扩充至13名,其中5人来自万达,另外8人代表各方投资者。

按照最新的工商信息,各方的持股比例并未披露。
今年3月30日,大连万达商管集团与5家投资机构——太盟投资集团(PAG)、中信资本、Ares Management旗下基金、阿布扎比投资局旗下全资子公司Platinum Peony和穆巴达拉投资公司在大连正式签署投资协议,5家投资机构联合向新达盟投资约600亿元,合计持股新达盟公司60%,大连万达商管集团持股40%。
早在2021年,太盟投资集团(PAG)、碧桂园、中信资本、蚂蚁、腾讯、郑裕彤家族等22家投资人曾对珠海万达商管(万达旗下轻资产业务赴港上市的主体,是一个商业广场运营管理平台,目前管理496个大型商业广场)投资约380亿元,且投资人享有到期赎回权。对赌协议中约定,珠海万达商管最迟在2023年上市,否则需向这些投资者回购股份,并额外支付补偿。
但随着去年底珠海万达商管在港交所提交的招股书再度失效,个别股东失去耐心,万达一下面临几百亿元的回购款“缺口”。在此背景下,2023年12月12日,大连万达商管集团与太盟投资集团宣布签署投资框架协议,成立新达盟公司。
这次工商信息的变更,意味着万达的危机暂时宣告解除,万达在资金层面的压力有望得到缓解。截至2024年年中,万达商管在手现金为115.8亿元,扣除股权回购款外,一年内到期有息负债接近300亿元。
据南财快讯记者不完全统计,2023年以来万达已累计出售超过20座万达广场。仅今年7月初万达已变卖了三座万达广场。
2024年6月,王健林、王思聪父子以1408亿元的总身家,重回富豪榜前十,一度引发广泛关注。
据新财富500创富榜最新榜单,王健林、王思聪父子由于拥有大连万达商管集团46%股权,以1408亿元资产重回前十。

*部分文章推送时未能与原作者或公众号平台取得联系,若涉及版权问题,敬请原作者联系我们
END

