疫情见真情
霍尼韦尔的呼吸防护产业
——在中国
2019年12月,一场即将震动中国的新型冠状病毒肺炎在中国武汉悄悄显现。2020年1月,新型冠状病毒肺炎未等人们反应,便以迅雷不及掩耳之势席卷了武汉、湖北,并扩散至全国。2020年1月20日,国家卫健委高级别专家组组长钟南山院士明确宣布,新型冠状病毒肺炎人传人,并提出佩戴口罩是预防新型冠状病毒传播的主要方式。这引起了全国人民的恐慌,一夜之间全国各大药店,淘宝、京东等网店上的口罩全部告罄。此后,各路角色纷纷登台:国内口罩生产商在春节期间努力恢复生产以积极支援抗击疫情;部分药店、网店大幅抬高口罩价格,被执法部门和电商严惩;黄牛哄抢口罩,一次下单上万只,被电商拒绝发货……
在这期间,国外口罩巨头3M和霍尼韦尔(Honeywell)第一时间采取了保障供应的举措,分别宣布春节期间保证生产。其中,霍尼韦尔(中国)有限公司于2020年1月31日公开表示,新型冠状病毒流行期间,KN95口罩绝不涨价,且同日将100万美元医疗物资和库存中仅存的50万只KN95口罩捐赠给武汉。截至2月11日,霍尼韦尔捐赠物资价值累计已达200万美元,助力中国抗击新型冠状病毒。
在中国乃至全世界,3M是口罩届响当当的代名词,疫情期间人们将3M口罩哄抢一空,却鲜知霍尼韦尔。霍尼韦尔成立于1885年,而个人防护产品开始于2008年,这一年其相继收购了诺斯、斯博瑞安、京士等安全产品公司,并开始了中国工厂的建设,其在中国的11000名员工中,20%为研发人员,其对中国呼吸防护领域的研发重视情况可见一斑。
通过incopat数据库中检索,截止2020年2月9日,霍尼韦尔在中国地区申请的呼吸防护相关专利共计54件,包括25件发明、22件外观设计和7件实用新型专利。由图1所示,其最早的专利申请始于2007年,从2013年开始专利申请量大幅增长,于2015年达到峰值,此后专利申请量有所下降(由于按照常规程序,发明专利自申请后18个月才公开,因此2018年和2019年体现的数据较实际专利申请量偏低。)。

图1 霍尼韦尔在中国呼吸防护产业的专利申请趋势及布局领域
技术领域布局方面,霍尼韦尔主攻于呼吸防护装备的结构设计领域,这与其技术发展策略相吻合。2013年,为了使口罩等防护产品符合中国人的人体尺寸及需求,霍尼韦尔在中国建立了研发中心,力求根据中国人体模型数据库研发出符合中国市场的口罩。此外,霍尼韦尔还在固定装置(如口罩调节带等)、呼吸阀(包括空气流动设计)、过滤装置、辅助装置(如防伪装置、香味材料、面罩显示器、夜间佩戴涉及的荧光材料等)、使用期限检测、密封件和吸湿装置等领域进行了专利布局。

图2 霍尼韦尔在中国呼吸防护产业专利申请的国民经济行业结构
霍尼韦尔布局的专利主要涉及国民经济行业领域(2019分类标准)的C35类(C358:医疗仪器设备及器械制造;C359:环保、邮政、社会公共服务及其他专用设备制造)、C41类(其他制造业)和C18(纺织服装、服饰业)(如图2所示)。可见,霍尼韦尔除了在医用呼吸防护领域布局了大量的专利外,还在日用防尘呼吸防护领域布局了大量专利,如专利CN201711236187.5(用于防尘口罩的可调节带和扣)、CN201610222912.2(用于防尘面具的使用期限指示部的端部)、CN201510448718.1(用于防尘面罩的三角形透明阀设计)、CN201630514722.9(防尘面罩)、CN201430463221.3(阀)均针对防尘设计,其布局时段为2014-2017年,这可能是基于我国2013年以来雾霾和沙尘暴频发所引起的口罩需求市场而布局。

图3 霍尼韦尔在中国呼吸防护产业的专利技术申请趋势
根据国际专利分类对霍尼韦尔的布局技术做进一步分析(如图3所示)。在专利布局重点年份,如2011年,其重点布局了A62B9大组(呼吸防护装置或呼吸装置的构件,尤其涉及A62B9/06·口罩,鼻夹)和A62B18大组(呼吸面具或防护帽,如化学药剂或高空使用的),包括专利CN201180074230.7(呼吸面具的实现更贴合的可自动调节垫)、CN201180074155.4(用于呼吸面罩的改进鼻夹);2014年,其重点布局了A62B18大组和A41D13大组(职业、工业或运动防护衣,如能防护冲击或戳刺的服装、外科医生服装,尤其涉及A41D13/11··防护脸的遮罩,例如用于外科或用于污浊空气);2015年,其又重点布局了A62B9大组,包括专利CN201580085278.6(设计成减少面罩内的湿气的可再用型硅胶湿气吸收装置)、CN201580085287.5(用于防尘面罩的除湿器)、CN201580085495.5(智能呼吸面具模块)、CN201510448718.1(用于防尘面罩的三角形透明阀设计)等。
专利CN201580085495.5(智能呼吸面具模块),该专利通过在呼吸面具中添加众多传感器模块来指示面具的使用期限(如图4所示);

图4 专利CN201580085495.5(智能呼吸面具模块)技术方案
CN201480084453.5(与框架整合的信息显示指示器),该专利将双面显示指示器整合到面罩视见区的框架中,用来通知使用者和外部团队成员(如图5所示);

图5 专利CN201480084453.5(与框架整合的信息显示指示器)技术方案
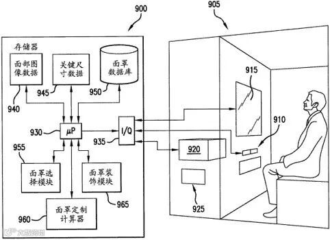
CN201580033337.5(用于定制面部呼吸面罩的售货亭),该专利可以基于使用对应于佩戴者面部的图像数据而确定的面部尺寸来定制面部呼吸面罩(如图6所示)。

图6 专利CN201580033337.5(用于定制面部呼吸面罩的售货亭)技术方案

图7 霍尼韦尔在中国呼吸防护产业的专利申请法律状态
根据霍尼韦尔在中国呼吸防护产业的专利申请法律状态(如图7所示)可知,霍尼韦尔在华的专利申请质量较高,其中55.56%的专利申请已经授权,29.63%的专利申请处于实质审查状态。只有一件专利CN201480083385.0(用于可弃置面罩的可调节VOC/甲醛共同吸收的非织造碳过滤介质)由于中国专利CN102029734A和CN203274062公开的技术内容而缺乏创造性被驳回。

图8 霍尼韦尔在中国呼吸防护产业的专利申请发明人排名
霍尼韦尔在华呼吸防护产业专利申请的主要发明人包括金朝霞、朱捷和屈铁成等(如图8所示)。其中金朝霞为霍尼韦尔安全与生产力解决方案集团大中华区体验设计总监,其在安全产品的人因工程学(如防护产品的佩戴方面)有深入研究。在金朝霞带领下,霍尼韦尔有8款产品先后荣获2019年度德国IF设计奖和红点设计奖。
虽然霍尼韦尔进入中国市场仅有十余年时间,但霍尼韦尔在国内市场呼吸防护领域的销售量已经排到第2位,可见其在研发、专利布局、市场开拓方面齐头并进。根据京东商城的销售情况可知,目前霍尼韦尔在中国地区的销售产品包括7200系列硅胶PM2.5防尘面具、5500系列防有机蒸气的防毒面具、KN95级H950V-FUN口罩、H960VXS儿童口罩等。霍尼韦尔运用专利本土化战略适宜中国业务发展需求,努力布局其适应中国市场的高价值专利。相比之下,国产口罩在中国口罩的销售量不足10%,因此国产口罩生产商需要充分学习国外生产商的成功经验,在研发、高价值专利布局和市场开拓方面的路仍任重道远。

