点击右上方『…』关注『华学知识产权』公众号
导读:1951年,世界首台超声波清洗机问世。作为一种综合了多学科知识和技术的应用技术,超声波清洗技术的应用非常广泛。尤其是进入70年代后,先进的发达国家已将超声波清洗应用于电子线路板、电子零件、发动机、光学元件等工业产品的清洗工艺环节。目前,超声波洗碗机几乎还只应用于商业洗碗机领域,主要应用于宾馆、饭店、学校食堂等大型用餐场合。本文将从超声波式洗碗机的工作原理、专利申请趋势、专利市场国分布等角度分析该类型洗碗机的专利情况。

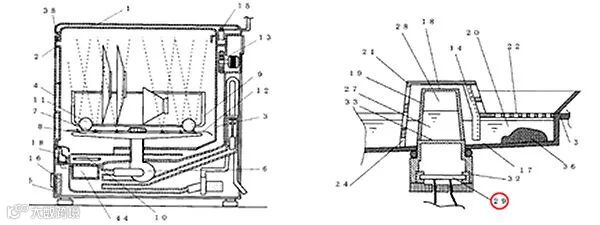
图1 JP4356522B2专利附图
如图1所示,松下公司布局的超声波洗碗机专利,标号29为超声波振荡器。超声波洗碗机的工作原理如下:当超声波经过液体介质时,将以极高的频率压迫液体介质振动,使液体分子产生正负交变的冲击波。当声强达到一定数值时,液体中急剧生长微小空化气泡并瞬时强烈闭合,产生强烈的微爆炸和冲击波使被清洗物表面的污物遭到破坏,并从被清洗表面脱落下来。虽然每个空化气泡的作用并不大,但每秒钟有上亿个空化气泡在作用,就具有很好的清洗效果。

图2 超声波式洗碗机专利申请趋势图
在超声波技术刚开始发展的二三十年间,超声波式洗碗机专利申请量较少,此时超声波还没有成熟应用于洗碗机领域。自1980年后,超声波洗碗机的专利申请量开始呈现波动式,到2005年左右,随着洗碗机领域的研发热度的持续增高,此时超声波式洗碗机也成了各企业研发的重要方向。2006年至2011年期间,超声波式洗碗机的研发热度降低,但是近年来超声波式洗碗机又重新得到关注,专利申请量呈现波动式增长。

图3 超声波式洗碗机市场国分布图
『华学®知识产权』微信公众号是由广州市华学知识产权代理有限公司(www.chinahuaxue.com)主办的资讯与服务平台,致力于为社会大众提供更多专业知识产权信息与咨询服务。


