点击右上方『…』关注『华学知识产权』公众号
“夜半诉心声,必须很高清!”
2022年4月15日,第二十三届中国专利奖评审结果公示。获得中国专利奖的专利,在专利质量、技术先进性/设计要点及理念的表达、运用及保护措施和成效、社会效益及发展前景等四大指标均具有极其亮眼的表现。下面,我们来看看历届专利奖获奖名单中,哪些家电领域的专利获此荣誉。
疫情原因,“宅经济”因运而生,居家办公、追剧、上网课无处不显示着消费者对于屏显设备的需求。一块好的显示屏,能让你的体验感有极大提升。液晶显示屏凭借轻薄、省点、可视面积大等特点,成为了显示屏领域的新一代宠儿。
以下这几件专利可谓是液晶显示屏领域的佼佼者。
表1历年获得中国专利奖的液晶显示屏专利情况
| 序号 | 专利号 | 专利名称 | 申请日 | 当前权利人 | 获奖届次 |
| 1 | ZL201110189362.6 | 模块化拼接方式的液晶电视驱动系统及控制方法 | 2011.07.07 | 广州视源电子科技股份有限公司 | 第18届中国专利奖优秀奖 |
| 2 | ZL201310754687.3 | 自动光学检测方法和系统 | 2013.12.31 | 研祥智能科技股份有限公司 | 第21届中国专利奖优秀奖 |
| 3 | ZL2018100554388 | 一种具有防倒影层的TFT液晶显示屏 | 2018.01.19 | 精电(河源)显示技术有限公司; 深圳市瑞飞达光电科技有限公司 |
第22届中国专利奖优秀奖 |
下面以附图形式简要列举获奖专利的设计或技术要点
申请日:2011.07.07
利权人:广州视源电子科技股份有限公司
获奖等级: 第18届中国专利奖优秀奖
技术要点:本发明系统采用模块化集成设计,避免电磁干扰,能提高通用模块的重复利用性、通用性,降低系统设计难度,也能降低成本、提升生产效率和产品质量,实现系统快速升级。

图1:本发明模块化拼接方式的液晶电视驱动系统的模块示意图
图2:本发明插接式电路板连接装置的结构示意图
申请日:2013.12.31
利权人:研祥智能科技股份有限公司
获奖等级: 第21届中国专利奖优秀奖
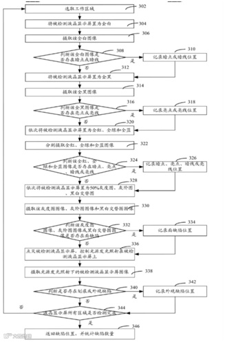
设计要点:本发明提供的自动光学检测方法和系统可检测亮度、暗点、亮线、暗线、面缺陷、外观缺陷,缺陷检测种类更多,减少不合格产品,提高了液晶显示屏的质量,可对生产线进行改进,提高液晶显示屏生产良率。




图1:为自动光学检测方法所涉及的一种实施环境的示意图
图2:为一个实施例中自动光学检测方法的流程图
图3:为另一个实施例中自动光学检测方法的具体实现流程
图4:为一个实施例中图2中步骤204的具体流程图
图5:为一个实施例中获取在预设的多种纯颜色显示状态下的液晶显示屏图像的流程图
图6:为被检测液晶显示屏被分成12个等分的有效区域的示意图
图7:为一个实施例中自动光学检测系统的结构框图
图8:为一个实施例中处理模块的内部结构框图
图9:为另一个实施例中处理模块的内部结构框图
图10:为一个实施例中图像获取模块的内部结构框图
图11:为另一个实施例中自动光学检测系统的结构框图
申请日:2018.01.19
利权人:精电(河源)显示技术有限公司;深圳市瑞飞达光电科技有限公司
获奖等级: 第22届中国专利奖优秀奖
设计要点:通过在面偏光片上增加防眩光涂层和防反射涂层; 改善液晶显示屏在强光环境下可读性; 提高背光板表面亮度; 同时在背光板增加超微距多晶体结构增亮膜和反射式偏光增亮膜组合; 使得显示屏在添加了防倒影层后也能保持显示屏的显示亮度; 所述防倒影层能消除夜间风挡玻璃上的显示图像反射; 通过在面偏光片上增加防眩光涂层和防反射涂层; 提高显示屏的显示质量


图1:为本发明整体结构示意图
图2:为本发明面偏光片结构示意图
图3:为本发明底偏光片结构示意图
图4:为本发明背光板的结构示意图
图5:为本发明防倒影层的结构示意图
『华学®知识产权』微信公众号是由广州市华学知识产权代理有限公司(www.chinahuaxue.com)主办的资讯与服务平台,致力于为社会大众提供更多专业知识产权信息与咨询服务。


