点击右上方『…』关注『华学知识产权』公众号
# 导读 #
导读:电饭煲(也称“电饭锅”)起源于日本,在日本被称作“炊飯器”,第一台可量产化、市场化的电饭煲由东芝在1955年推出,发展至今已有60多年,因其便利性和低成本性,基本上成为了国内外生活中不可或缺的家用电器。本期主要推送电饭煲的发展历史及专利技术的申请态势,期望能为相关单位的创新工作提供参考。
●正文●
以加热方式来看,目前市场上主要分为电热元件加热的电饭煲(普通电饭煲)和利用电磁加热的电饭煲(IH电饭煲),前者在国内仍然属于主流产品,后者在日韩市场属于主流产品。
普通电饭煲由锅体、加热元件、限温器等组成,锅体分为内锅和外锅,内外锅之间的空气形成保温层以减少热量损失,电热元件一开始只设在底盘,后面在侧周也设置了加热元件,通电时使加热元件产生热量并煮熟米饭,当温度达到限定值时限温器就会自动断开电路。IH电饭煲在内胆底部和侧面设置了电磁线圈,通电时电流通过线圈并产生磁场,磁场中的磁力线使金属内胆铁原子高速无规则运动并产生热能,以此加热米饭。

图1 电饭煲全球专利申请态势
世界上最早作为商品出售的电饭煲可追溯到1955年日本企业东芝研发生产的电饭煲ER-5,由图1可知,电饭煲的全球专利申请量可以分为四个阶段:
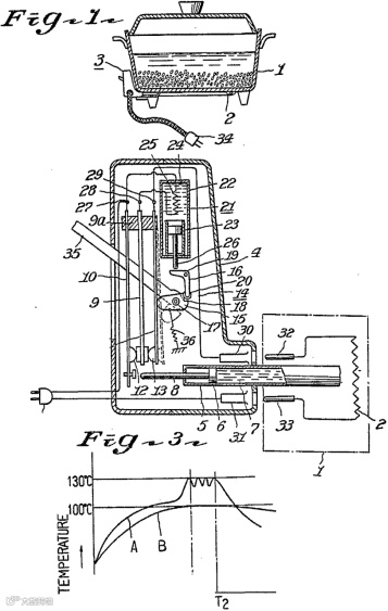
第一个阶段:萌芽期(1955-1976年)。该阶段电饭煲全球专利申请量几乎没有明显变化,该时期的电饭煲以机械式电饭煲为主,加热位置主要是底面加热,即将电热元件设置在底盘。如东芝1964年公开的专利文献GB959065A提供了一种塞式自动电饭煲温度控制装置,其设置了一个活塞装置(如图2的23所示),以铜或铝作为活塞的高导热材料管,内置膨胀液体(如图2的24所示),利用膨胀液体(如硅油)的热膨胀效应来驱动活塞的运动,从而达到断开或闭合触点来控制温度的效果。

图2 专利文献GB959065A的附图(来自于国家知识产权局官网)
第二个阶段:缓慢发展期(1977-2009年)。该阶段的电饭煲全球专利申请量总体呈现缓慢增长趋势,经历了电子式电饭煲和微电脑电饭煲两个阶段。电子式电饭煲结合机械开关和微芯片控制,采用热敏电阻来更加精准地控制温度,如日本的松下集团在1981年申请的专利JP55053265即采用了热敏电阻,利用电压比较器比较两个输入端子的电位差来控制电子电路的开关单元,从而达到温度控制的效果。但电子式电饭煲的时期较短,很快就被微电脑电饭煲取代,微电脑电饭煲采用了模糊控制算法,电饭煲开始走向了智能化路线,如1989年松下集团申请的专利JP01298230通过模糊推理来确定加热手段的通电比率,以此达到更加精准控制的效果。该阶段的加热方式也脱离了传统的电热元件加热,利用电磁感应加热的电饭煲诞生,俗称IH电饭煲逐步成为日本电饭煲市场的主流产品,1988年松下集团申请的专利JP63094805利用电磁线圈取代了原来设置在电饭煲底部的电热盘。此外,该阶段还诞生了结合了电饭煲和压力锅两者特点的压力电饭煲(俗称电压力锅),1978年松下集团申请的专利JP53098489通过控制压力式电饭煲内的压力来控制温度。
第三个阶段:快速发展期(2010-2016年)。该阶段的电饭煲全球专利申请量从2010年开始迅速提升,到2016年时达到顶峰。该阶段随着物联网等基础技术的发展,电饭煲加入了人机交互、远程控制等智能化功能,如美的在2016年申请的专利CN201610121962.1包含了wifi模块,针对水蒸气对wifi模块的负面影响而进行改善。
第四个阶段:调整期(2017年至今)。该阶段电饭煲全球专利申请量有所下降,行业进入了存量市场阶段。我国作为全球最大的电饭煲出口国,电饭煲年产量从2017年的3.08亿台下降到2020年的1.51亿台,消费者对于电饭煲产品的需求日益多元化,正需电饭煲制造商们探索更加智能化的电饭煲技术来升级产品,为消费者服务。

图3 电饭煲全球和中国专利申请态势
电饭煲在20世纪60年代从日本传入中国,首先由广东地区进行仿制,1963年广州轻工集团生产出中国第一台简易电饭煲——三角电饭煲。由图3可知,电饭煲中国专利申请态势主要分为三个阶段:
第一个阶段:缓慢发展期(1985-2009年)。该阶段的中国专利申请量提升缓慢,在20世纪80年代时主要以我国电饭煲企业引进日本的先进技术为主,进入20世纪90年代后,我国电饭煲行业技术创新能力有所提升,不少技术成果相继出现,如北京爱普亚太电子有限公司在1995年申请的专利CN95203905.2在电饭煲上应用了模糊控制技术,中国科学院退休高级工程师王永光提出的电压力锅“匚”式结构的发明创造在1993年获得了发明授权(ZL91100026.7),解决了传统电压力锅易堵易爆的安全性缺陷问题,降低了电压力锅的压力控制难度,使我国电压力锅技术水平领先于当时国际水平。
第二个阶段:快速发展期(2010-2016年)。该阶段电饭煲中国专利申请量快速提升,同样因为受到物联网技术的影响而呈现“云云互联”的功能,且在该阶段之前,IH电饭煲在我国一直属于小众产品,市场主要品牌也大多为国外品牌。美的、苏泊尔等电饭煲龙头企业在该阶段加大对IH电饭煲产品的投入,我国IH电饭煲市场规模从2013年开始逐年扩大。美的2011年申请的“一种IH电饭煲的电路板(CN201110186269.X)”、2016年申请的“IH电饭煲(CN201621081570.9)”和“一种IH内锅及IH电饭煲(CN201620180315.3)”,苏泊尔在2012年申请的“具有掉电检测的IH电饭煲(CN201210015243.3)”、2013年申请的“用于IH电饭煲的均匀加热线圈盘(CN201320256285.6)”,都表明我国电饭煲龙头企业对IH电饭煲的加大关注。
第三个阶段:调整期(2017年至今)。该阶段的电饭煲全球专利和中国专利申请量同步持续下降,在电饭煲市场上进入了存量市场阶段。
● 小结 ●
综上所述,电饭煲已是家庭必备的电器之一,其第一台可量产化的电饭煲肇始于20世纪50年代的日本,东芝、松下等大型企业引领电饭煲技术发展,60年代传入我国。80年代之前,电饭煲以机械式为主,进入80年代后经历电子式电饭煲和微电脑电饭煲两个阶段,同时还诞生以电磁感应为加热方式的电饭煲新技术新产品,90年代我国主要还是以仿制和引进日本的电饭煲技术为主,技术创新能力有所提升,出现了应用模糊控制技术的电饭煲和“匚”式结构电压力锅。2009年以后,物联网技术催生“云云互联”功能的电饭煲,让“煮饭更方面、更智能”,随后我国电饭煲龙头企业纷纷加大对IH电饭煲的技术投入。
参考文献
[1]朱永盛.浅谈电饭锅加热方式专利技术[J].家电科技,2015,(12):22-23.
[2]朱永盛.从专利信息谈电饭锅温度技术发展[J].科技展望,2015,(17):114-115.
[3]王晓嫚.如何破局电饭煲存量市场?[EB/OL].中国家电网,2021-6-4.http://kitchen.cheaa.com/2021/0604/591848.shtml
[4]曾峥.电饭煲[J].中国质量与标准导报,2017,(3):40-42.
[5]吕忠芳.论家用电饭煲工作原理及发展历史[J].民营科技,2015,(2):12.
[6]“家电产品行业研究”系列课题《电压力锅行业研究报告》简介[J].家用电器,2011,(8):94-96.
[7]张亚晨.我国电饭锅的发展历程[J].北京质量与市场,2003,(2):20.
[8]杨征.电饭锅市场热度不断新能效促进行业和谐发展[J].家用电器(绿色家电),2019,(6):23.
[9]国内电饭煲产业结构调整 “中国制造”成其新标签[EB/OL].中国投资咨询网,2016-5-23.http://www.ocn.com.cn/chanjing/201605/vpqpe23105715.shtml
[10]电饭煲发展简史[EB/OL].家电知识库,2020-4-28.https://mp.weixin.qq.com/s/JdKFemz_q-hD0oU0bVOykQ
撰写 | 曾昭逸 审校 | 梁婉玲
声明:因编撰水平有限,难免有错漏不当之处,仅供参考
『华学®知识产权』微信公众号是由广州市华学知识产权代理有限公司(www.chinahuaxue.com)主办的资讯与服务平台,致力于为社会大众提供更多专业知识产权信息与咨询服务。


