点击右上方『…』关注『华学知识产权』公众号
2022年4月15日,第二十三届中国专利奖评审结果公示。获得中国专利奖的专利,在专利质量、技术先进性/设计要点及理念的表达、运用及保护措施和成效、社会效益及发展前景等四大指标均具有极其亮眼的表现。下面,我们来看看历届专利奖获奖名单中,哪些家电领域的专利获此荣誉。
飘落满屋的宠物毛、角落的饼干屑、还有那看不见的灰尘和螨虫,每当要搞清洁时,成年人的崩溃就在一瞬间。近年来,吸尘器逐渐走入人们视野,解放了人们的双手,让家务变得简单。妈妈再也不用担心我的卫生了。
以下几件专利可谓是吸尘器领域的佼佼者。
表1 历年获得中国专利奖的吸尘器专利情况
序号 |
专利号 |
专利名称 |
申请日 |
当前权利人 |
获奖届次 |
1 |
ZL201510295844.8 |
带独立尘气分离和储灰装置的杆式手持二合一分体吸尘器 |
20150602 |
莱克电气股份有限公司 |
第19届中国专利奖优秀奖 |
2 |
ZL201530267843.3 |
吸尘器(SPD502) |
20150723 |
莱克电气股份有限公司 |
第19届中国专利奖优秀奖 |
3 |
ZL201530032599.2 |
立式吸尘器 |
20150203 |
莱克电气股份有限公司 |
第18届中国专利奖优秀奖 |
4 |
ZL201230041791.4 |
吸尘器(T3519) |
20120228 |
江苏美的清洁电器股份有限公司 |
第16届中国专利奖优秀奖 |
5 |
ZL201130365022.5 |
吸尘器(VCP1001) |
20111014 |
广东新宝电器股份有限公司 |
第15届中国专利奖优秀奖 |
6 |
ZL201030235390.3 |
吸尘器(TC3201) |
20100713 |
莱克电气股份有限公司 |
第15届中国专利奖优秀奖 |
下面以附图形式简要列举获奖专利的设计或技术要点:
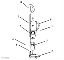
1. ZL201510295844.8 带独立尘气分离和储灰装置的杆式手持二合一分体吸尘器
申请日:20150602
利权人:莱克电气股份有限公司
获奖等级:第19届中国专利奖优秀奖
技术要点:该吸尘器的主机、推杆及地刷均可两两分离和组装,且兼具第一与第二集尘装置,既增加了集尘量,又防堵塞,同时还解决了手持重量大、体积大、需拆卸手持以倒灰的问题。

2. ZL201530267843.3 吸尘器(SPD502)
申请日:20150723
利权人:莱克电气股份有限公司
获奖等级:第19届中国专利奖优秀奖
设计要点:产品的整体外形


3. ZL201530032599.2 立式吸尘器
申请日:20150203
利权人:莱克电气股份有限公司
获奖等级:第18届中国专利奖优秀奖
设计要点:在于本产品的形状


4. ZL201230041791.4 吸尘器(T3519)
申请日:20120228
利权人:江苏美的清洁电器股份有限公司
获奖等级:第16届中国专利奖优秀奖
设计要点:在于本产品的形状

5. ZL201130365022.5 吸尘器(VCP1001)
申请日:20111014
利权人:广东新宝电器股份有限公司
获奖等级:第15届中国专利奖优秀奖
设计要点:产品的整体外观形状

6. ZL201030235390.3 吸尘器(TC3201)
申请日:20100713
利权人:莱克电气股份有限公司
获奖等级:第15届中国专利奖优秀奖
设计要点:在于本产品的形状,A处由透明材质的材料制成的

说明:信息来源于国家知识产权局发布的历年中国专利奖获奖名单及专利授权文本
『华学®知识产权』微信公众号是由广州市华学知识产权代理有限公司(www.chinahuaxue.com)主办的资讯与服务平台,致力于为社会大众提供更多专业知识产权信息与咨询服务。


