近年来,随着我国经济的快速发展,居民的消费能力不断提升,“懒人经济”的逐步崛起,消费者对智能家电的品类需求愈发多样化。得益于市场所需、产业政策引导和科技创新水平的提升,我国家电市场不断出现具有各种新功能、新样式的智能化产品,扫地机器人产品已成为用户使用率最高的智能家居产品之一。
当前,扫地机器人行业虽然起步较晚,但是发展迅速,市场规模逐渐扩大,吸引越来越多的家电企业进入扫地机器人行业。而在进入行业后开展品牌建设与商业布局则是保护其核心竞争力的关键,一些企业在产品发布上市之前就已做好商标的布局规划,本期文章就来盘点一下近期国内扫地机器人行业的部分企业的商标布局情况。
科沃斯自1998年创立以来,经历了三个发展阶段,从传统吸尘器到扫地机器人,再向其他家用服务机器人品类延伸,已有完整的产品线,并推出智能生活电器品牌“添可”。根据中国商标网的信息,截至当前科沃斯共申请861件商标,“科沃斯”及其英文名称“ECOVACS”的商标最早于2006年申请。目前“科沃斯”、“ECOVACS”、“科沃斯机器人”及其中英文组合商标除了涉及与家电相关的第7类、第9类、第11类外,还覆盖绝大部分类别。

图1 “科沃斯”商标信息
(图片来源:中国商标网)
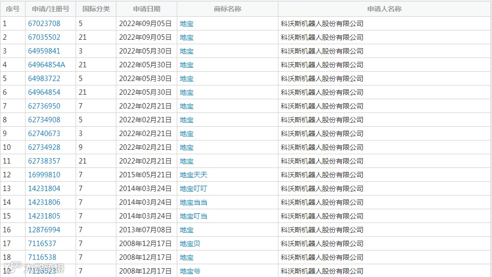
根据科沃斯官网,其扫地机器人产品为地宝(DEEBOT)系列,第一台地宝机器人于2009年推出,目前该系列已有六种产品上市。通过中国商标网检索发现,科沃斯于2008年开始申请“地宝”、“DEEBOT”系列商标,已注册的商标涵盖第3类清洁制剂、第5类除臭剂、第7类机器、第9类遥控装置、第21类刷子。

图2科沃斯扫地机器人产品
(图片来源:科沃斯官网)
图3 部分“地宝”系列商标申请情况 (图片来源:中国商标网) |
从科沃斯近期的商标申请情况来看,除了其割草机器人等其他品类的家用服务机器人外,今年8月,科沃斯还提交了“DEEBOT X2 OMNI”、“DEEBOT X2 PRO OMNI”、“AINA”、“ECOVACS AINA”等的商标申请,其中“DEEBOT X2OMNI”等与科沃斯地宝系列的扫地机器人新产品X2相关,“AINA”等与搭载于新产品X2上的科沃斯AINA模型相关。

图4近期商标申请情况
(图片来源:中国商标网)
石头科技创立于2014年,主要业务为家用智能清洁机器人及其他智能电器研发和生产。2017年起,石头科技开始着力打造自有品牌,陆续推出“石头扫地机器人”等产品。根据中国商标网的信息,截至当前石头科技共申请437件商标,最早申请的商标为2015年申请的“ROCKROBO”、“石头”及相关图形等商标,最初的商标类别为第7类机器、第9类计算机硬件及软件、第35类广告营销、第37类清洗服务等。目前,“石头”、“ROBOROCK”及相关图形等系列商标申请正逐步扩大其类别范围。

图5早期商标申请情况
(图片来源:中国商标网)

图6 “石头扫地机器人”商标申请信息
(图片来源:中国商标网)

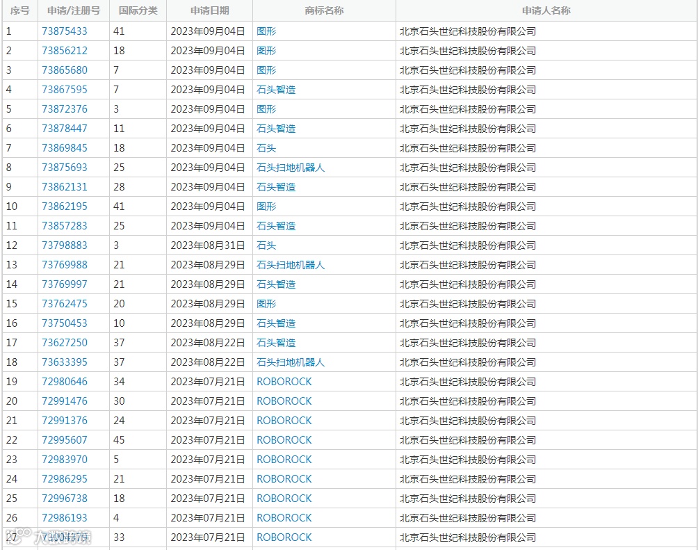
图7部分商标申请情况
(图片来源:中国商标网)
从商标申请情况来看,石头科技与扫地机器人产品直接关联的商标为“石头扫地机器人”,最早申请日期为2017年9月。截至当前,“石头扫地机器人”商标已涉及第7、9、21、25、35、37类等多个类别。从近期商标申请信息来看,石头科技目前着眼于通过申请更多类别的系列商标,来不断完善其商标布局,包括“石头”、“石头扫地机器人”、“石头智造”、“ROCKROBO”及相关图形等。

图8近期商标申请情况
(图片来源:中国商标网)
云鲸创立于2016年,致力于家用机器人领域的研发生产,2019年推出拖扫一体机器人J1“小白鲸”,2021年及2022年陆续推出扫拖机器人J2与J3小鲸灵,2023年8月推出四代产品J4,并开启多领域布局战略。根据中国商标网的信息,截至当前云鲸共申请394件商标,最早于2017年1月申请“云鲸”、“NARWEL”商标。从商标类别上看,目前“云鲸”、英文名称“NARWEL”及相关图形商标除了最早申请的第7类机器和装置、第9类计算机硬件及软件、第35类广告营销外,还覆盖绝大部分类别。

图9早期商标申请情况
(图片来源:中国商标网)

图10 “云鲸”商标申请信息
(图片来源:中国商标网)
结合产品情况来看,云鲸对其产品、产品部件/系统、产品服务等相关名称均进行了相应的商标申请注册,例如“小白鲸”、“鲸灵”等与产品名称相关的商标,“鲸吞”等与集尘系统相关的商标,以及“鲸喜”、“鲸选”、“NARWOW”等与产品服务相关的商标。从近期商标申请信息来看,云鲸主要围绕扫地机器人、洗地机等产品拓展其业务范围。

图11近期商标申请情况
(图片来源:中国商标网)
[1]行业深度!一文带你详细了解2022年中国扫地机器人行业市场现状、竞争格局及发展趋势,前瞻产业研究院,2022-4-29,https://bg.qianzhan.com/trends/detail/506/220429-e44b3c66.html
『华学®知识产权』微信公众号是由广州市华学知识产权代理有限公司(www.chinahuaxue.com)主办的资讯与服务平台,致力于为社会大众提供更多专业知识产权信息与咨询服务。




