如果美国对产自中国的树脂,加工机械,模具和塑料产品的惩罚性关税生效,美国和中国之间正在发生的越演越烈的贸易大战就将可能会影响全球供应链。

中美针对对方塑料产业加征关税
美国已将自中国进口的注塑机械,挤出机械,吹塑机械,热成型和模具进口产品列为加征关税对象之列,其关税可能达到25%。中国则将低密度聚乙烯(LDPE),聚烯烃弹性体和塑性体(POEs,POPs),聚氯乙烯(PVC)树脂,聚酰胺(PA)66树脂,芳香族和半芳香族PA以及它们的共聚物和环氧树脂在塑料相关产品将会在进口时加征官税。PET片材和薄膜,丙烯酸树脂和聚碳酸酯树脂也列入名单。
中国针对美国塑料产品加征关税的美制产品包括:
•初级聚碳酸酯。
•其他聚酯。
•反应引发剂,加速剂未在其他地方指定。
•主要形状比重小于0.94的聚乙烯。
•丙烯腈。
•初级成型环氧树脂。
•聚对苯二甲酸乙二醇酯薄膜箔条。
•其他自粘塑料板,片材,薄膜和其他材料。
•其他塑料非泡沫塑料片。
•其他塑料产品。
•其他主要乙烯基聚合物。
•其他乙烯-α-烯烃共聚物,比重小于0.94。
•丙烯酸聚合物的其他主要形状。
•纯PVC的其他主要形状。
•初级形状的聚硅氧烷。
•未列出第39章注释3中列出的其他主要多硫化物,聚砜和其他税号。
•塑料板,薄片,薄膜,箔和条,未在其他地方指定。
•基于其他橡胶或塑料的粘合剂。
•尼龙6/6切片。
•其他初级形状的聚醚。
初级成形的未塑化醋酸纤维素,
•芳香尼龙及其共聚物。
•半芳香尼龙及其共聚物。
•其他主要形状的尼龙。
•其他乙烯基聚合物板,片,条。

该图显示了2017年1月至2018年2月中国塑料产品的生产。2018年1月和2月,中国生产了约1,395万吨塑料产品。
“中国是美国化工行业最重要的贸易伙伴之一,2017年所有美国塑料树脂进口额分别为11%或32亿美元。我们特别关注的是,中国已经分配新关税的产品中有40%是化学品,包括聚乙烯,PVC,聚碳酸酯,丙烯酸酯等。
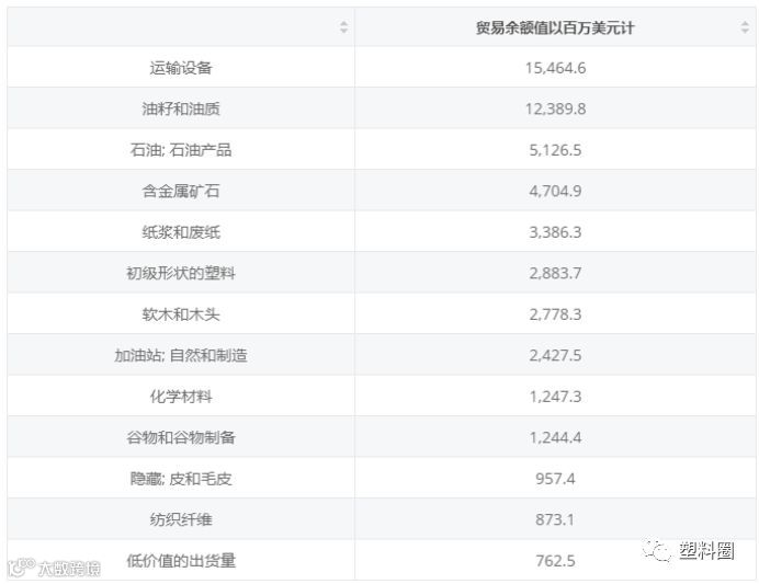
2017年美国与中国的商品贸易平衡值,按SITC产品类型(以百万美元计)
美国在2016年从中国进口了价值近1.09亿美元的注塑机械,而挤出机进口则低得多,达1240万美元左右。从中国进口的吹塑机械价值约为420万美元。就美国而言,美国2016年向中国出口了152,000吨LDPE(包括LLDPE),价值2.15亿美元。与此同时,美国对中国出口聚碳酸酯的价值接近3.25亿美元(129,000吨)。
“美国全国各地新建化工厂近1,850亿美元,扩建和重新启动设施都以目前的关税计划为基础,而由关税增加引起的市场变化可能说服投资者在别处开展业务。我们强烈敦促美国和中国在任何建议的关税计划生效之前达成富有成效和有意义的协议。“
影响力波及塑料行业,期货价格下跌
对于塑料行业来说:由于上述时间对国内金融板块的影响,期货价格下跌,抑制了市场心态。国内石化行业同行压力同时,出厂价格出现意外下降现象。这说明这个消息的影响已经开始悄悄地蔓延到塑料行业,特别是聚丙烯产品。尽管贸易战争影响力在塑料行业中排名第一,但对期货市场影响比行业影响则更为严重,后期订单和生产相关的国内出口贸易企业将受到不同程度的影响,市场心态和经营策略有比较强烈的反差,如PP市场普遍拉动类,受石化拖累,期货市场价格跌破8500元/吨水平继续下跌。
加征关税对塑料行业影响深远
能源研究公司Wood Mackenzie的化学副总裁Alex Lidback说:“中国试图用自己的产品自给自足“这取决于原料的可用性、技术的可用性等所有这些都会影响他们增加产能的速度。”
关于关税,中国针对化学品,能源和塑料领域的大约40种产品的潜在影响,在Lidback看来,突出的目标项目之一是聚乙烯,这是使用最广泛的塑料之一。
“因为美国有很好的成本优势,他们增加了产能,中国市场的聚乙烯整体非常短缺,所以他们需要进口来满足他们的需求增长。”Lidback说。
另一个美国出口是丙烷。中国一直在投资将丙烷转化为丙烯的工厂,这些工厂一直指望纯美国丙烷的供应稳定。据Lipow Oil Associates总裁Andy Lipow称,过去几年美国丙烷出口量一直在增加。根据他的分析,去年中国是丙烷的第三大买家,仅次于日本和墨西哥,约占美国出口量的13.6%。
IHS Markit公司全球烯烃副总裁Steve Lewandowski表示,如果执行关税,一种情况可能会导致全球贸易流量重新洗牌。由于目前关键塑料的生产能力足以满足全球需求,中国可能会从其他地区采购产品,美国则会介入供应其他市场。IHS Markit塑料副总裁Nick Vafiadis指出,中国仅挑选三种主要类型的聚乙烯中的一种:通常用于包装的低密度类别,在中国供应相当充足。
他表示,明年将有超过100万公吨的新的低密度美国聚乙烯产能上线,其中大部分是出口产品,尤其是中国。陶氏化学现在正在建设一个新的工厂,而福尔摩沙和沙索则很快就会有工厂上线。

