
VR/AR是当前科技界最火热的话题之一,不少科技公司也早已在几年甚至是更早之前就已经开始布局相关技术,这其中就包括了苹果公司。

VR或AR设备目前需要通过头戴式设备、眼镜等外设实现,而近日美国专利和商标局曝光的苹果专利申请显示,这是一款可以容纳带显示屏的电子设备。在2006年,苹果公司提交了一项头戴式显示器专利,2008年苹果提交了第二项关于头戴式显示器的专利。今年3月,苹果公司为2006年的专利申请延续,现在已经获得美国专利商标局的批准。



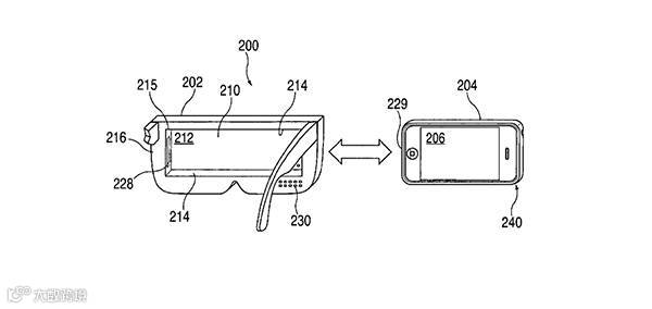
专利描述称,这款设备是“一款能够放入手机的物理框架,并将手机屏幕放置于用户眼前,其中在用户双眼和手机屏幕之间存在着光学组件,用于接收手机屏的图像”。看上去和三星的Gear VR颇为相似,只是这款专利设备还拥有内置的耳机、苹果的Lightning接口以及定制镜头。
苹果在专利中着重要保护的就是以物理接口的形式让头显和手机直接连接的技术。看来,苹果对于虚拟市场的布局,早就开始了。
微信后台回复“加群”,即可加入VR专业微信群,与同行切磋论道
关注“VR平台”微信,后台回复下列相应信息,即可了解更多虚拟现实相关内容:
回复“招标”,获取《2014—201VR行业招标情况分析报告》
回复“展会”,获取《2016下半年VR相关展会大全》
回复“招聘”,获取《VR行业招聘信息》
回复数字“1”,获取《你必须了解的虚拟现实基础知识》
回复数字“2”,获取《VR行业最具影响力品牌TOP50》
回复数字“3”,获取《2017年,所有手机都将为VR而生》
回复数字“4”,获取《手机版免费VR APP前十名大公开》
回复数字“5”,获取《2015中国VR-AR市场研究报告》
回复数字“8”,获取《惊人的VR发展史》
回复数字“9”,获取《虚拟现实头显选购指南终极版》
回复数字“10”,获取《五大方法解决你的VR晕动症》
回复数字“11”,获取《VR眼镜的运行原理》
回复数字“12”,获取《APP新规来了,关系你我!》
回复数字“13”,获取《VR体验馆地址大全》
回复数字“14”,获取《VR体验馆赚钱的概率有多大?》

VR网
中国领先的虚拟现实行业平台
www.hiavr.com
扫描二维码
了解更多VR资讯


