音乐拳击机:亚马逊美国站Boxing Gym Equipment品类产品分析
该商品为交互式击打训练器,属亚马逊美国站Boxing Gym Equipment细分品类。
核心技术特点
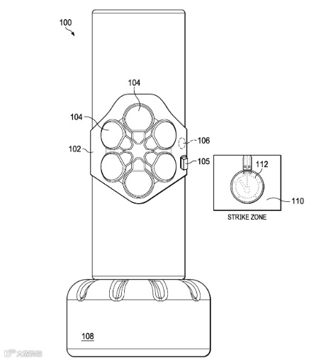
设备由中心模块、阵列式击打垫及连接部件构成;击打垫周圈设指示灯,内置力传感器实时检测击打信号。工作时系统按程序激活目标指示灯,用户精准击打后反馈成功/失败音频;支持蓝牙连接智能设备播放背景音乐(音乐不参与击打序列编程);中心触摸屏可调节击打速度(H01-H09)、序列模式(P01-P09)并实时显示得分。
美国专利侵权风险分析
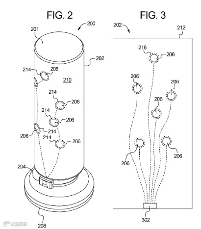
对比文件1:US11266894B2 互动式运动训练系统(申请日:2018.11.12,有效)
权利要求限定多用户交互训练,系统通过检测击打速度、时间及准确度计算分数。本商品虽采用多模式设计,但结构差异显著:涉案专利要求跑道中设置指示灯,本商品击打垫指示灯无跑道结构。功能上二者均实现多用户得分记录,结构比对存在侵权风险。
对比文件2:US10124227B1 互动运动训练系统(申请日:2018.06.24,有效)
权利要求限定连接元件必须配置线性排列的LED跑道灯。本商品未设跑道灯结构,技术方案存在本质区别,不构成侵权。
对比文件3:US20220184480A1 互动式运动训练系统(申请日:2022.03.07,授权)
权利要求聚焦用户间训练数据联动,本商品多模式独立运行无交互关联,技术特征不符,不构成侵权。
对比文件4:US8079938B2 拳击武术搏击系统(申请日:2010.11.01,有效)
专利采用框架结构连接分离式击打垫,与本商品阵列集成式结构差异显著,属背景技术范畴,不构成侵权。
对比文件5:US20200306609A1 云技术拳击健身设备(申请日:2019.03.25,放弃)
权利要求限定音乐转击打序列算法,本商品使用内置程序序列。专利已失效且技术原理不同,无侵权风险。
对比文件6:US9027415B2 力感测跆拳道设备(申请日:2013.06.14,有效)
专利聚焦沙袋式设备传感器布局,与本商品训练器结构及用途均无关联,属背景技术,不构成侵权。
综合侵权风险评估
经美国专利检索,本商品主要风险集中于对比文件1(US11266894B2):功能层面二者均支持多用户交互及实时得分;结构层面涉案专利的"跑道"概念可解释为从中心至击打垫的路径,虽本商品无跑道灯,但技术特征存在重合,判定存在较高侵权风险。
检索数据及报告交付日期:2023年12月2日

