通常外墙石材都是使用干挂工艺,本篇介绍的预制混凝土-石材反打工艺。就是将建筑外墙用饰面石材在工厂事先打到混凝土里,形成一体的建筑预制构件(柱梁墙等),优点是石材位置精准,表面规整,附着牢固,当然最重要的是整体装配大大提高施工进度。用了这技术,外墙石材都不用做干挂了!





目前预制混凝土石材反打工艺可以说是较为成熟的技术,但在开发初期并不是这样。经过了石材膨胀率、与混凝土的粘结强度、大气暴露、水浸等大量试验后才有了现阶段比较完善的石材反打工艺。

作为混凝土的饰面石材的种类,花岗岩居多,也有砂岩和大理石,石灰岩等。但无论何种石材,都需要特殊注意避免那些潜在的裂纹,多年风化,易受冻害以及容易出锈斑的石材原料。

石材板厚一般为30mm,也可以25mm,但需要注意火烧板时的翘曲变形,背面锚孔作业时容易打穿或变色,以及搬运石材时断裂等问题。


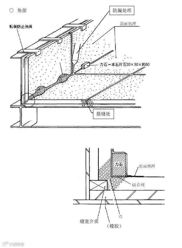
下面讲到重点,石材是务必要做背面处理的,目的有三:一是杜绝石材直接与混凝土接触表面而出现的泛碱白桦现象;二是吸收石材与混凝土因热膨胀率不同而发生的微小相对变位,三是预防没有锚固部分石材发生裂缝断裂时的掉落。(所用到的材料是树脂胶,硅砂以及防水密封胶)










完成后表面使用高压水枪冲洗。

货场堆积以及工地现场搬入时,要充分注意保护措施,以防止石材表面发生磕碰损坏。





以下请欣赏一些石材反打工艺预制混凝土构件建成的建筑物:







