鹏森建设集团有限公司
资讯
直通车
ZI XUN
ZHI TONG CHE
这一举措的实施,无疑将进一步提升建筑业企业的整体素质和竞争力,为那些真正有实力、有技术、有管理能力的企业创造更好的发展环境!
另外职称证书方面,河南也是异常严格,此前河南就有多市发文:暂停使用外省职称证书。
4月8日,河南省林州市发文:近期资质评审中发现的借用、盗用、套用职称证书申报资质乱象问题。
即日起,原则上暂停使用外省职称证书和2010年之前职称证书。

林建管〔2024〕38号
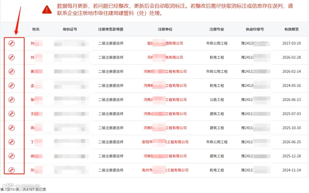
根据省住建厅关于对近期河南省建筑市场监管公共服务平台(以下简称“省监管平台”)数据筛查中发现的注册人员异常及注册人员不足企业处理有关要求,及近期资质评审中发现的借用、盗用、套用职称证书申报资质乱象问题,现通知如下:
1.依据《加强全省房屋建筑和市政基础工程施工发包与承包监管若干措施》(豫建行规〔2024〕1号)相关要求,凡是被省监管平台标注“注册人员异常”或“注册人员不足”的企业应当立即整改。标注期间,企业不得申请办理资质许可事项(包括:增项、升级、变更、合并、重组、分立等)。整改到位后,省监管平台自动取消异常标注,企业方可申请办理行政许可。
2.借用、盗用、套用职称证书严重损害个人利益,扰乱建筑市场秩序。即日起,原则上暂停使用外省职称证书和2010年之前职称证书。确需使用外省职称证书的,请先到人社部门进行职称证书认定,换发我省职称证书。使用2010年之前职称证书的,需持证人携带身份证原件及职称证书原件现场核验。
3.企业资质因合并、重组、分立等发生变化的,严格资质准出、准入关。对资质转出的企业要进行所有资质动态核查。接收资质企业要符合相应类别资质标准要求。
林州市建筑业管理局
2024年4月8日
延伸阅读:此前,河南多地发文!

鹤壁市住房和城乡建设局 关于建筑业企业资质申报中使用外省职称证书有关问题的公告
为进一步保护个人权益,规范建筑业市场秩序,更好的服务建筑业高质量发展。经研究决定,从2023年9月1日起,在鹤壁市(县、区)建筑业企业资质首次申报中暂停使用外省职称证书;从2023年10月1日起,在建筑业企业资质增项、升级申报中暂停使用外省职称证书。外省进鹤人员确需使用职称证书的,请按照《职称评审管理暂行规定》(人社部令第40号)等文件精神,到省、市人社部门换取我省职称证书后使用。
2023年7月24日

关于信阳市建筑业企业资质申报中职称证书使用的公告
目前,在信阳市建筑业企业资质申报中,使用外省职称人员数量较多,存在借用、盗用、套用职称证书申报资质的现象,致使在企业申报资质中和审批后,出现个人反映证书被盗用、套用的投诉件较多,损害了个人权益,扰乱了建筑业市场秩序。经研究决定,从2023年7月1日起,在信阳市(县、区)建筑业企业资质申报中暂停使用外省职称证书。外省进信人员确需使用职称证书的,请到省、市人社部门换取我省职称证书。









来源:住房城乡建设部网站、住房建设信息平台
(声明:转载此文是出于传递更多信息之目的,不为商业用途。文字和图片版权归原作者所有,若有来源标注错误或侵犯了您的合法权益,请作者与我们联系,我们将及时更正、删除,谢谢。)
企业资质
• 国家高新技术企业
• 河南省专精特新中小企业
• 河南省知识产权优势企业
• 河南省建筑业诚信典型企业
• 河南省建筑业专业承包骨干企业
• 建筑装修装饰工程专业承包壹级
• 防水防腐保温工程专业承包壹级
• 建筑机电安装工程专业承包壹级
• 中国展览工程企业壹级
• 洁净室设计施工能力甲级
• 建筑装饰工程设计专项乙级
• 建筑工程施工总承包贰级
• 市政公用工程施工总承包贰级
• 公路工程施工总承包贰级
• 水利水电工程施工总承包贰级
• 电力工程施工总承包贰级
• 机电工程施工总承包贰级
• 地基基础工程专业承包贰级
• 电子与智能化工程专业承包贰级
• 消防设施工程专业承包贰级
• 钢结构工程专业承包贰级
• 建筑幕墙工程专业承包贰级
• 古建筑工程专业承包贰级
• 城市及道路照明工程专业承包贰级
• 公路路面工程专业承包贰级
• 公路路基工程专业承包贰级
• 环保工程专业承包贰级
• 施工劳务不分等级
• 医疗器械经营许可证
• 承装(修、试)电力设施许可证
• 模板脚手架专业承包资质
• 特种工程(特种防雷)专业承包资质
• 特种工程(结构补强)专业承包资质
• 特种工程(建筑物纠偏和平移)专业承包资质
经典案例


















联系我们

公司丨鹏森建设集团有限公司
电话丨0392-2280002
地址丨鹤壁市太行路610号鹏森大厦
网址丨http://www.hbjpzs.com
电话0392-228000
网址http:.c

