搜索
首页
大数快讯
大数活动
服务超市
文章专题
出海平台
流量密码
出海蓝图
产业赛道
物流仓储
跨境支付
选品策略
实操手册
报告
跨企查
百科
导航
知识体系
工具箱
更多
找货源
跨境招聘
DeepSeek
首页
>
核电站主要系统图解,存干货
>
核电站主要系统图解,存干货
秦山核电
2019-05-21
2
导读:点击查看详情。
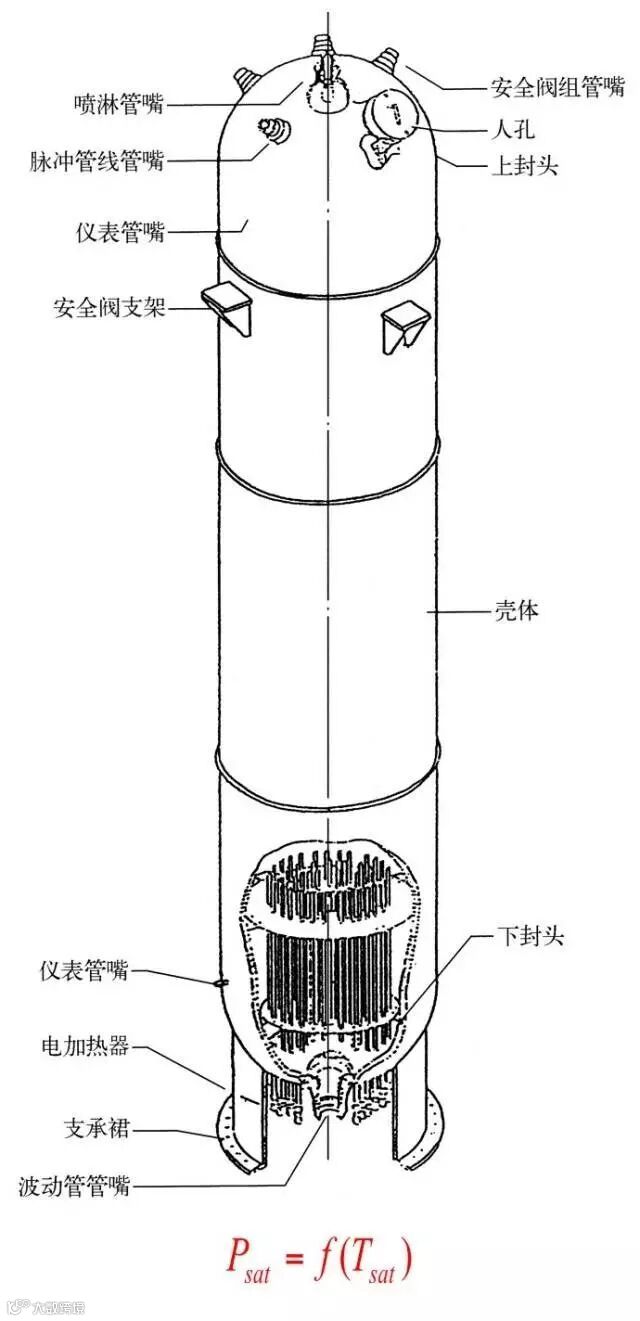
图解核电站主要系统
来源:工程客
声明:该推送来源于信息官方公众号,由编辑精选,特表谢意。
如涉及
版权
问题,请后台联系!
【声明】内容源于网络
0
0
秦山核电
中国核电发源地,全国文明单位,全国爱国主义教育示范基地,全国科普教育基地,全国军工文化教育基地,全国核科普教育基地,全国中小学生研学实践教育基地,全国工业旅游示范点,中核集团党性教育基地,浙江省生态文明教育基地。
内容
4735
粉丝
0
关注
在线咨询
秦山核电
中国核电发源地,全国文明单位,全国爱国主义教育示范基地,全国科普教育基地,全国军工文化教育基地,全国核科普教育基地,全国中小学生研学实践教育基地,全国工业旅游示范点,中核集团党性教育基地,浙江省生态文明教育基地。
总阅读
1.9k
粉丝
0
内容
4.7k