点击下方“阅读全文”即可在大赛官网为作品投票
作品名称:
可变翼垂直轴阻力型风力机
创作人:
王斌
创意简介:
垂直轴风力机可以分为升力型和阻力型两种。升力型风力机是依靠升力来工作,仅适合在风能资源丰富的地区使用;而阻力型风力机则是依靠阻力来工作的,适合风能资源不丰富的地区使用,比如,在我国南部大部分地区,它能在微风的条件下实现发电,应用地域广阔,有较好的市场前景。但传统的垂直轴阻力型风力机对风能的利用效率较低,其工作原理是当来流冲击风轮时,其迎风一侧受到了有效推力矩,而另一侧受到的是阻力矩,其合力矩才是推动风轮旋转做功的有效力矩。显然,由于背风侧阻力矩的存在,其风能利用率大大降低。这就影响了传统的垂直轴阻力型风力机的推广和应用。
鉴于此,我们对传统的垂直轴阻力型风力机进行创新改进,设计一种可变翼风力机,当风吹向叶片时,迎风一侧叶片在风力的作用下推动摆杆绕其转轴旋转张开,背风一侧叶片旋转收缩,两摆杆的运动在连杆的联动作用下相互助力,使阻碍风轮旋转做功的阻力矩大大减小,从而提高风力机风能利用率。
作品描述:
1. 背景及市场前景
火力需要大量的煤炭,污染环境,消耗资源;水力发电需要耗巨资建水库,核电不但耗铀,还有辐射的风险;而风能是大自然送给我们最清洁的能源之一,它可以源源不断产生,而风力发电建好之后,除日常的维护费用外几乎不需要其他开销。风力发电的用法很多,既可以并网使用也可以离网使用,可以同太阳能一起使用,也可以单独构成大型风力发电厂。
我国风能资源丰富,根据第三次风能普查结果,我国技术可开发的陆地面积约为24×104km2。考虑到风电场中风力发电机组的实际布置能力,按照5MW/km2计算,陆上技术可开发量为120×104MW。目前我国风能资源开发利用的重点区域有内蒙古自治区、辽宁省、河北省、吉林省、甘肃省、新疆维吾尔自治区、江苏省等,其中内蒙古自治区技术可开发量约为50×104MW,居全国之首。
2.产品构成及工作原理
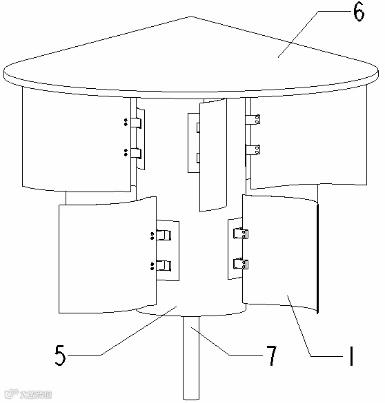
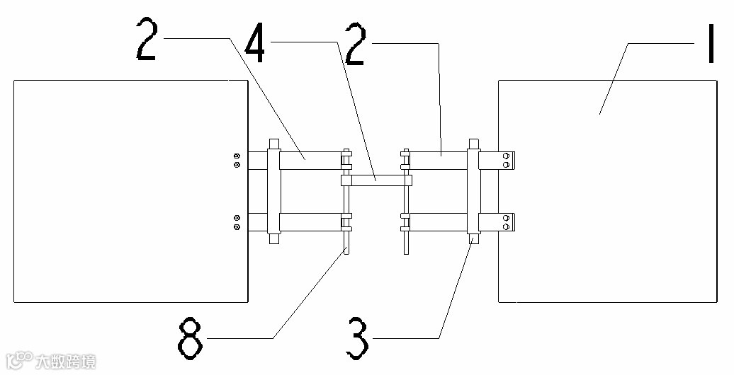
可变翼垂直轴阻力型风力机由叶片1,摆杆2,摆杆销轴3,连杆4,机架筒5,顶盖6,输出轴7,销轴8,限位档块9 等组成(如图1所示)。

图1 风轮机构俯视图

图2 风轮机构张开收缩图

图3 风力机立体图
其特征在于两个摆杆与连杆以及机架筒组成一组四连杆机构;四连杆机构中各构件的连接方式为:连杆和叶片为固定连接,两个摆杆通过处于摆杆中部的摆杆销轴与机架筒组成可相互转动的连接,并以此摆杆销轴为界把摆杆分为机架筒外和机架筒内两部分,两摆杆机架筒内部分的端部通过销轴与连杆的两端部组成可相互转动的连接,由此形成由两摆杆、连杆和机架筒组成的四连杆机构(如图4、5所示);

图4 四连杆机构俯视图

图5 四连杆机构主视图
当风吹向叶片时,机架筒上迎风一侧叶片在风力的作用下推动摆杆绕其与机架筒组成的转轴旋转张开,同理背风一侧叶片旋转收缩,两摆杆的运动在连杆的联动作用下相互助力完成。限位档块9在迎风侧叶片完全张开后限定摆杆继续转动;同时也限定了背风侧叶片的收缩角度,以防叶片收缩过度,影响下一个周期的正常张开。
风力叶片旋转过程中,随着其受风角度的变化而自动调整姿态,使迎风侧叶片受风面积增大,背风侧叶片受风面积减小,有效减小了背风侧叶片的阻力(如图2所示),从而提高了风力机的风能利用率
机架筒内总共设有四组上述机构(如图3所示),沿机架筒轴向分上下两层各两组布置,上层两组机构的叶片圆周上相隔90°布置,下层两组布置方式同上,但与上层叶片相互错开45°角,且上下两层叶片间留有足够的空间,以免造成叶片转动时的相互干涉;在机架筒外部的各摆杆外端固定连接上风力叶片;当风吹向叶片时,机架筒上迎风侧一侧叶片在风力的作用下推动摆杆绕其与机架筒组成的转轴旋转张开,同理背风侧一侧叶片旋转收缩,两摆杆的运动在连杆的联动作用下相互助力完成。
3.产品定位
玻璃钢系列的发电机叶片每个成本在300元左右;铝合金系列的发电机叶片每个成本在360元左右;300W-500W的发电机成本1000-1500元;每件产品材料以及其他零件初步设计为1000元;预售价格在5000-6000元。
4.产品优点
(1)启动风速小,适合在风能资源不丰富的地区使用,能够在微风情况下发电。
(2)迎风侧一侧叶片在风力的作用下推动摆杆绕其转轴旋转张开,同理背风面一侧叶片旋转收缩,两摆杆的运动在连杆的联动作用下相互助力,使得阻碍风轮旋转做功的阻力矩大大减小,从而提高风力机风能利用率。
(3)随着其受风角度的变化而自动调整姿态,使迎风侧叶片受风面积增大,背风侧叶片受风面积减小,有效减小了背风侧叶片的阻力,从而提高了风力机的风能利用率。
(4)可接受任何风向的风,无需对风。
点击下方“阅读全文”即可在大赛官网为作品投票

