
近日,在广州市住房与城乡建设局指导下,我院参与研究起草的《广州市引入社会资本参与城镇老旧小区改造试行办法》(以下简称《办法》)正式印发实施,这是广州在全国率先出台的引入社会资本参与城镇老旧小区改造全流程规范性文件,《办法》是广州市城镇老旧小区改造“1+N”配套政策之一,也是广州近年来开展老旧小区改造的重大实践创新成果。

政策出台背景
2020年7月,国务院《关于全面推进城镇老旧小区改造工作的指导意见》(国办发〔2020〕23号)明确提出,到“十四五”期末,结合各地实际,力争基本完成2000年底前建成的需改造城镇老旧小区改造任务;明确提出利用市场化机制吸引各类专业机构等社会力量,投资参与各类需改造设施的设计、改造、运营。
随着城市进入高质量发展阶段,人民对美好生活的向往对老旧小区改造不断提出新的要求,老旧小区改造内涵从过去的物质环境更新扩展到含改造、建设、维护、运营在内的有机更新。近年来,广州老旧小区改造以解决社区居民生活面临的突出问题为切入点,不仅整治“面子”,更注重“里子”,既承担了改善居住环境,保障民生的基本功能,又担负着探索建立社区共建、共治、共享长效治理体系建设的重任。为破解广州不断增多的待改造老旧小区与政府财政资金投入难以持续增加之间的矛盾,防止老旧小区改造提升后“返旧”的难题,探索切实可行的长效治理模式,亟需探索市场化改造路径,多措并举筹集改造资金。
政策出台目的
为鼓励和引导社会资本参与城镇老旧小区改造和运营,激发社会资本参与改造的积极性、主动性、创造性,培育规模化实施运营主体,拓宽城镇老旧小区改造资金来源渠道,鼓励社会资本全链条或分阶段参与老旧小区改造,运用市场力量提升社区服务水平和治理能力,推动我市老旧小区改造的可持续发展,不断满足人民群众对美好生活的向往,助力广州高质量发展,实现老城市新活力、“四个出新出彩”。
政策亮点和创新点

《办法》突出盘活资源和引入程序,对社会资本引入主体职责、社会资本参与内容、参与方式、引入程序等全流程作出指导,着力培育规模化实施运营主体,重点引导社会资本形成“微利可持续”运营思维,鼓励运用市场力量提升社区服务水平和治理能力,既满足人民群众美好生活的需要,又增强老旧小区自我“造血”功能。
01
探索老旧小区改造市场化机制,盘活利用社区存量资源和低效空间
《办法》鼓励和引导社会资本参与城镇老旧小区改造和运营,从工程建设、存量资源运营、提供便民专业服务、长效治理和专业物业管理五个方面参与我市老旧小区改造,增强老旧小区自我“造血”功能。
在存量资源授权运营方面,除允许社会资本对包括公有房屋、公共低效闲置用地、机动车泊位、公共广告位等存量资源开展活化利用外,鼓励社会资本积极整合相关国有企业、私有物业,成套成片共同改造提升和经营管理。
在提供专业服务方面,《办法》鼓励社会资本提供养老、教育、医疗卫生、文化体育等公共服务和超市、菜市场、家政等便民商业服务,还鼓励社会资本根据业主需求,提供家电维修、社区团购等特色服务。
在基层治理和日常管养方面,鼓励社会资本依法参与智慧社区、社区安全服务、公共区域卫生保洁、市容景观和绿化管养等基层治理项目;鼓励社会资本根据业主授权依法参与城市公共部位和城市家具管养、再生资源回收利用、公共资源开发利用和产业导入等运营项目,以及参与市政工程(供水、排水、供电、道路、供气)、消防等设施设备维修养护项目等。同时,针对无物业管理的小区,鼓励业主授权社会资本提供小区内部物业管理服务。逐步推动老旧小区开展长效管理,实现“一次改造,长期保持”,着力提升社区现代化治理水平。

花都区旧人大小区有机更新项目引入社会资本盘活闲置公房(图片来源:市住房城乡建设局)
越秀区三眼井社区改造项目引入社会资本打造5G智慧社区平台(图片来源:自摄)
02
明确引入流程,社会资本可全链条或分阶段参与老旧小区改造
《办法》创新了老旧小区改造模式,对引入、监管、退出等全流程作出指导,让老旧小区改造市场化有章可循,助力实现老旧小区改造全生命周期建管一体化,提升老旧小区改造、运营和服务水平。
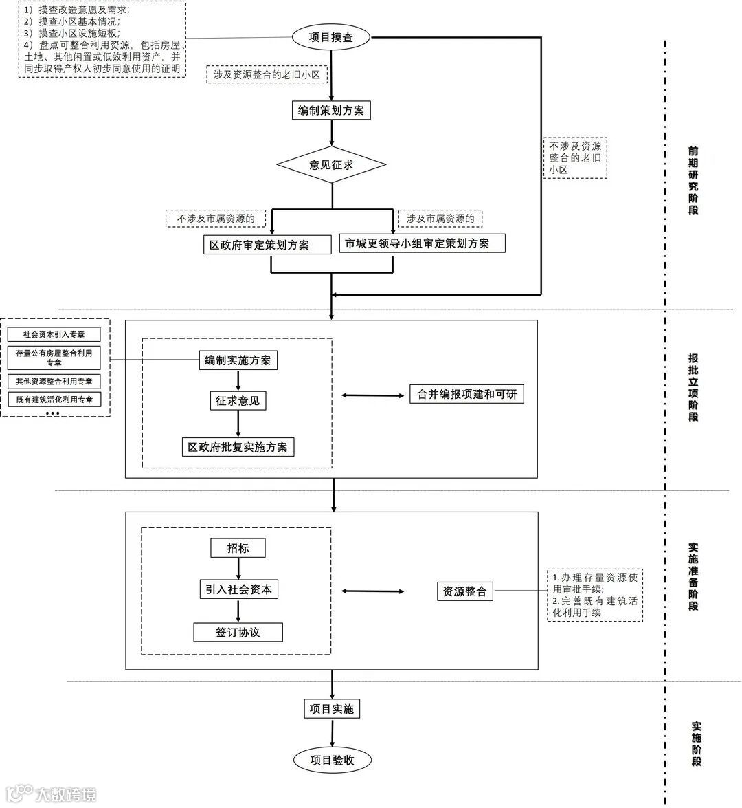
《办法》明确了社会资本的引入程序,主要包括项目摸查、策划方案编制和审定、实施方案编制、意见征求、实施方案报批、资源整合、引入社会资本(签订合同)、项目实施、监督检查。(详见老旧小区改造引入社会资本参与流程图)
社会资本可全链条或分阶段参与老旧小区改造项目投资、设计、建设、运营和管养等实施工作,参与改造服务期限最长不超过20年。国家、省、市对服务期限有规定的,从其规定。社会资本可享受相关优惠支持政策,包括金融支持、税收优惠等。
同时,《办法》强调:一是存量公有房屋、公共低效闲置用地等资源用于老旧小区改造的,经审定的策划方案依法适用于相关手续的办理;二是经批复的实施方案,依法适用后续项目引入社会资本、既有建筑活化利用及相关资源授权运营管理手续办理。

老旧小区改造引入社会资本参与流程图
03
创新改造模式,探索社区治理长效机制
从政府主导转向政企合作,改变财政资金“输血式”改造,培育规模化实施运营主体,推动建立由政府投入、社会资本参与、社区居民出资、专业经营单位出资等多元资金筹措机制,缓解改造资金来源单一,实现更新可持续。
引入社会资本参与老旧小区改造,推动老旧小区改造从“物质空间提升”转变为“社区综合治理”,发挥社会资本资产管理优势,充分挖掘整合老旧小区低效闲置资源和活化利用低效空间,引导社会资本形成“微利可持续”的运营思维,成套成片改造提升和经营管理。
往
期
回
顾




